LEMON Manuals: Even more car manuals for everyone: 1960-2025
Home >> Ford >> 2005 >> Taurus V6-3.0L VIN U >> Repair and Diagnosis >> Powertrain Management >> Computers and Control Systems >> Crankshaft Position Sensor >> Service and Repair
April 5, 2026: LEMON Manuals is launched! Read the announcement.

Crankshaft Position Sensor: Service and Repair

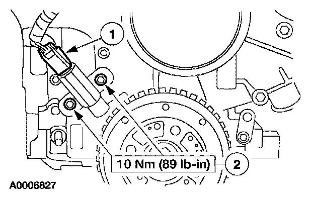
CRANKSHAFT POSITION (CKP) SENSOR

Removal and Installation
1. Disconnect the battery ground cable.
2. Raise and support the vehicle.







3. Remove the crankshaft position (CKP) sensor.
1 Disconnect the electrical connector.
2 Remove the bolts and the CKP sensor.

4. To install, reverse the removal procedure.