LEMON Manuals: Even more car manuals for everyone: 1960-2025
Home >> Ford >> 2006 >> Cutaway 6.0 P >> Repair and Diagnosis (Single Page) >> Engine Performance >> System >> Engine Controls - Pinpoint Tests - 6.0L (99P F450/550) Diesel >> Pinpoint Test M: Fuel Pump Monitor/Control >> Introduction >> Circuit Function
April 5, 2026: LEMON Manuals is launched! Read the announcement.

Circuit Function

The fuel pump relay coil ground is controlled by the powertrain control module (PCM), with vehicle power (VPWR) supplied to the relay coil by the PCM power relay. Energizing the fuel pump relay closes the internal switch contacts and supplies B+ voltage through the inertia fuel shutoff (IFS) switch to the electric fuel pump. The fuel pump voltage is monitored by the PCM through the fuel pump monitor (FPM) circuit which is downstream of the inertia fuel shutoff (IFS) switch. When the ignition switch is turned on, the electric fuel pump operates for approximately 20 seconds and is then commanded off by the PCM if an RPM signal is not detected.

Fig 1: Central Junction Box-f (CJB-f) Connector
G04586990
Fig 2: Fuel Pump (FP) Connector
G04586991
Fig 3: Fuel Pump (FP) Relay Connector
G04586992
Fig 4: Inertia Fuel Shutoff (IFS) Switch Connector
G04586993
Fig 5: Central Junction Box-a (CJB-a) Connector
G04586989
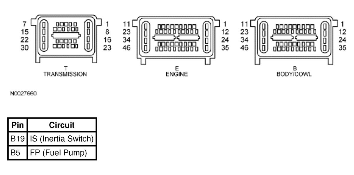
Fig 6: Powertrain Control Module (PCM) Connectors
G04586994