LEMON Manuals: Even more car manuals for everyone: 1960-2025
Home >> Ford >> 2006 >> Cutaway 6.0 P >> Repair and Diagnosis >> External Pages >> Different car >> Section 391 (Component Testing) >> Component Testing >> Main light switch (11654) >> Schematic
April 5, 2026: LEMON Manuals is launched! Read the announcement.

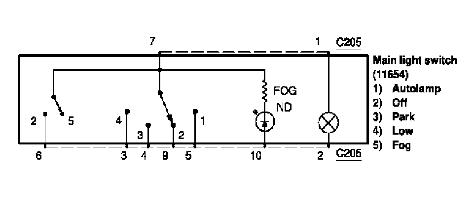
Main light switch (11654): Schematic

WARNING: This page is about a different car, the 2006 Mercury Mountaineer and 2006 Ford Explorer. However, it is still accessible from the selected car via links, so may be relevant.
Fig 1: Schematic Diagram - Main Light Switch (11654)
G04596509Courtesy of FORD MOTOR CO.