LEMON Manuals: Even more car manuals for everyone: 1960-2025
Home >> Ford >> 2006 >> Cutaway 6.8 S >> Repair and Diagnosis (Single Page) >> Accessories & Equipment >> Accessories Control Systems >> E Series - Control Components - Component Testing >> Component Testing >> Master window/door lock/unlock switch >> Schematic
April 5, 2026: LEMON Manuals is launched! Read the announcement.

Master window/door lock/unlock switch: Schematic

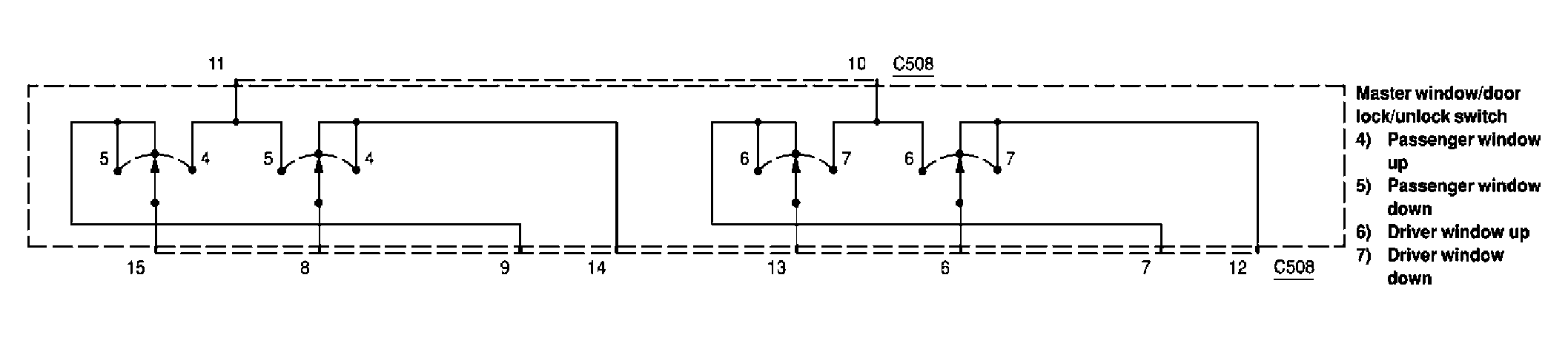
Fig 1: Master Window/Door Lock/Unlock Switch Schematic Diagram
G04619430Courtesy of FORD MOTOR CO.


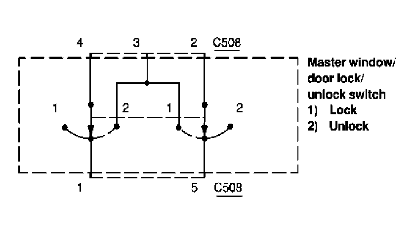
Fig 1: Master Window/Door Lock/Unlock Switch Schematic Diagram
G04619431Courtesy of FORD MOTOR CO.


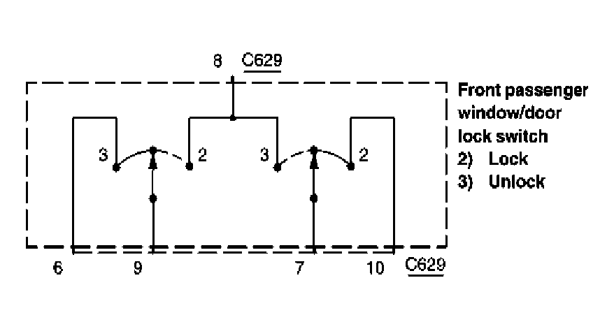
Fig 1: Front Passenger Window/Door Lock Switch Schematic Diagram
G04619433Courtesy of FORD MOTOR CO.


Fig 1: Front Passenger Window/Door Lock Switch Schematic Diagram
G04619435Courtesy of FORD MOTOR CO.