LEMON Manuals: Even more car manuals for everyone: 1960-2025
Home >> Ford >> 2006 >> E 250 V8-5.4L VIN L >> Repair and Diagnosis >> Specifications >> Mechanical Specifications >> Engine >> Cylinder Block Assembly >> System Specifications
April 5, 2026: LEMON Manuals is launched! Read the announcement.

System Specifications

Cylinder Block

The cylinder head must not have depressions deeper than 0.0254 mm (0.001 inch) across a 38.1 mm (1.5 inch) square area, or scratches more than 0.0254 mm (0.001 inch).

Cylinder head flatness must be within 0.0254 mm (0.001 inch) across a 38.1 mm (1.5 inch) square area.

Cylinder bore diameter
Grade 1 90.200 - 90.210 mm (3.5512 - 3.5516 inch)
Grade 2 90.210 - 90.220 mm (3.5516 - 3.5520 inch)
Grade 3 90.220 - 90.230 mm (3.5520 - 3.5524 inch)
Maximum taper 0.006 mm (0.00023 inch)
Maximum out-of-round 0.020 mm (0.00079 inch)
Surface finish (RMS) 0.2 - 0.6 microns
Piston-to-cylinder bore clearance (at grade size) -0.005 - 0.025 mm (-0.0002 - 0.0001 inch)
Main bearing bore inside diameter 72.400 - 72.424 mm (2.850 - 2.851 inch)
Crankshaft
Main bearing journal
Diameter 67.482 - 67.504 mm (2.6568 - 2.6576 inch)
Maximum taper (straightness) 0.004 mm (0.0002 inch)
Maximum out-of-round between cross sections 0.0075 mm (0.0003 inch)
Journal-to-cylinder block clearance 0.048 - 0.024 mm (0.0019 - 0.0009 inch)
Connecting rod journal
Diameter 53.003 - 52.983 mm (2.0867 - 2.0859 inch)
Maximum taper 0.004 mm (0.0002 inch)
Maximum out-of-round between cross sections 0.0075 mm (0.0003 inch)
Crankshaft maximum end play 0.075 - 0.377 mm (0.0030 - 0.0148 inch)
Piston
Diameter
Grade 1 (at right angle to pin bore) 90.175 - 90.165 mm (3.5502 - 3.5498 inch)
Grade 2 (at right angle to pin bore) 90.185 - 90.175 mm (3.5506 - 3.5502 inch)
Grade 3 (at right angle to pin bore) 90.195 - 90.185 mm (3.5510 - 3.5506 inch)
Piston-to-cylinder bore clearance (at grade size) -0.005 - 0.025 mm (-0.0002 - 0.0001 inch)
Piston ring
End gap
Top 0.15 - 0.30 mm (0.0006 - 0.0012 inch)
Intermediate 0.25 - 0.50 mm (0.0098 - 0.0197 inch)
Oil control 0.15 - 0.65 mm (0.0059 - 0.0256 inch)
Groove width
Top 1.53 - 1.55 mm (0.0602 - 0.0610 inch)
Intermediate 1.52 - 1.54 mm (0.0598 - 0.0606 inch)
Oil control 3.030 - 3.050 mm (0.1193 - 0.1201 inch)
Ring width
Top and intermediate 1.47 - 1.50 mm (0.0579 - 0.0591 inch)
Ring-to-groove clearance
Top 0.03 - 0.08 mm (0.0012 - 0.0032 inch)
Intermediate 0.02 - 0.07 mm (0.0007 - 0.0028 inch)
Piston pin
Bore diameter 22.008 - 22.014 mm (0.8665 - 0.8667 inch)
Pin diameter 22.001 - 22.0030 mm (0.8662 - 0.8663 inch)
Pin length 61.601 - 62.030 mm (2.425 - 2.442 inch)
Pin-to-piston fit (clearance) 0.005 - 0.013 mm (0.0002 - 0.0005 inch)
Connecting Rod
Rod-to-pin clearance 0.009 - 0.023 mm (0.0004 - 0.0009 inch)
Pin bore diameter 22.012 - 22.024 mm (0.8666 - 0.8671 inch)
Rod length (centerline bore-to-bore) 169.1 mm (6.6575 inch)
Maximum allowed bend 0.038 mm (±0.0015 inch)
Maximum allowed twist 0.038 mm (±0.0015 inch)
Bearing bore diameter (with assembled liners) 53.049 - 53.027 mm (2.0885 - 2.0877 inch)
Rod bearing-to-crankshaft clearance 0.064 - 0.026 mm (0.0025 - 0.0010 inch)
Rod side clearance 0.475 - 0.125 mm (0.0187 - 0.0049 inch)








Main Bearing Size Codes





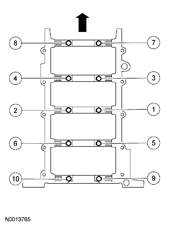
Remove and discard the main cap bolts.

Vertical main bearing cap fasteners
First pass 40 Nm (30 ft. lbs.)
Final pass tighten 90°





Remove and discard the cross-mounted main cap bolts.

Side bolts
First pass 30 Nm (22 ft. lbs.)
Final pass tighten 90°

Using a new crankshaft pulley bolt, install the bolt and washer and tighten the bolt in 4 stages.

First pass 90 Nm (66 ft. lbs.)
Second pass loosen one full turn
Third pass 50 Nm (37 ft. lbs.)
Final pass tighten 90° without exceeding 200 Nm (148 ft. lbs.)