LEMON Manuals: Even more car manuals for everyone: 1960-2025
Home >> Ford >> 2006 >> Escape 4WD L4-2.3L VIN Z >> Repair and Diagnosis >> Cruise Control >> Cruise Control Servo Cable >> Service and Repair
April 5, 2026: LEMON Manuals is launched! Read the announcement.

Cruise Control Servo Cable: Service and Repair

SPEED CONTROL CABLE


2.3L:






3.0L:






Removal
1. Remove the accelerator cable snow shield.
2. Disconnect the speed control cable from the throttle lever and accelerator cable bracket.







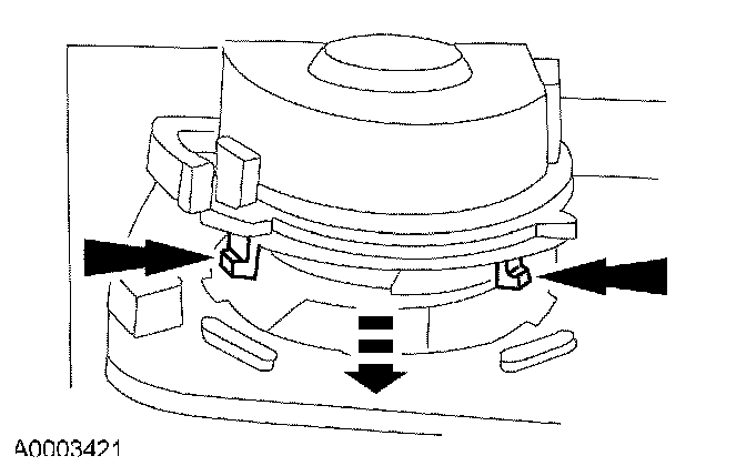
3. Press the locking tab and rotate the speed control cable cap to remove.







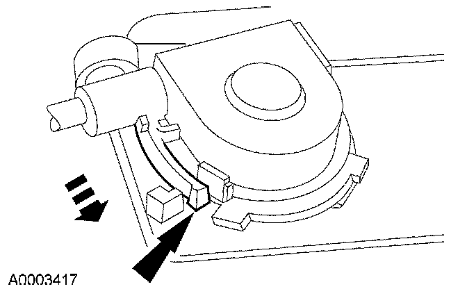
4. Disconnect the speed control cable from the speed control actuator pulley.
1 Gently push the retaining spring.
2 Disconnect the speed control cable slug from the speed control actuator pulley.

Installation







1. Insert the speed control cable slug into the speed control actuator pulley slot.
1 Gently push the retaining spring.
2 Insert the speed control cable slug completely into the speed control actuator pulley slot.







2. CAUTION:
- It is necessary to squarely seat the speed control cable cap and seal around the speed control actuator pulley.
- Incorrect wrapping of the speed control cable around the speed control actuator pulley may result in high idle conditions.


NOTE: Make sure the rubber seal is fully seated onto the speed control cable cap.

Align the speed control cable cap tabs with the slots in the speed control actuator housing.







3. Rotate the speed control cable cap until the locking tab engages.
4. Connect the speed control cable to the throttle lever and accelerator cable bracket.
5. Install the accelerator cable snow shield.