LEMON Manuals: Even more car manuals for everyone: 1960-2025
Home >> Ford >> 2006 >> Escape Base, 2.3 Z, 4WD, Automatic >> Repair and Diagnosis (Single Page) >> Engine Performance >> System >> Engine Controls - Description & Operation (Except Diesel & Hybrid) >> Exhaust Gas RECIRCULATION (EGR) Systems >> Differential Pressure Feedback Exhaust Gas Recirculation (EGR) (DPFE) System
April 5, 2026: LEMON Manuals is launched! Read the announcement.

Differential Pressure Feedback Exhaust Gas Recirculation (EGR) (DPFE) System

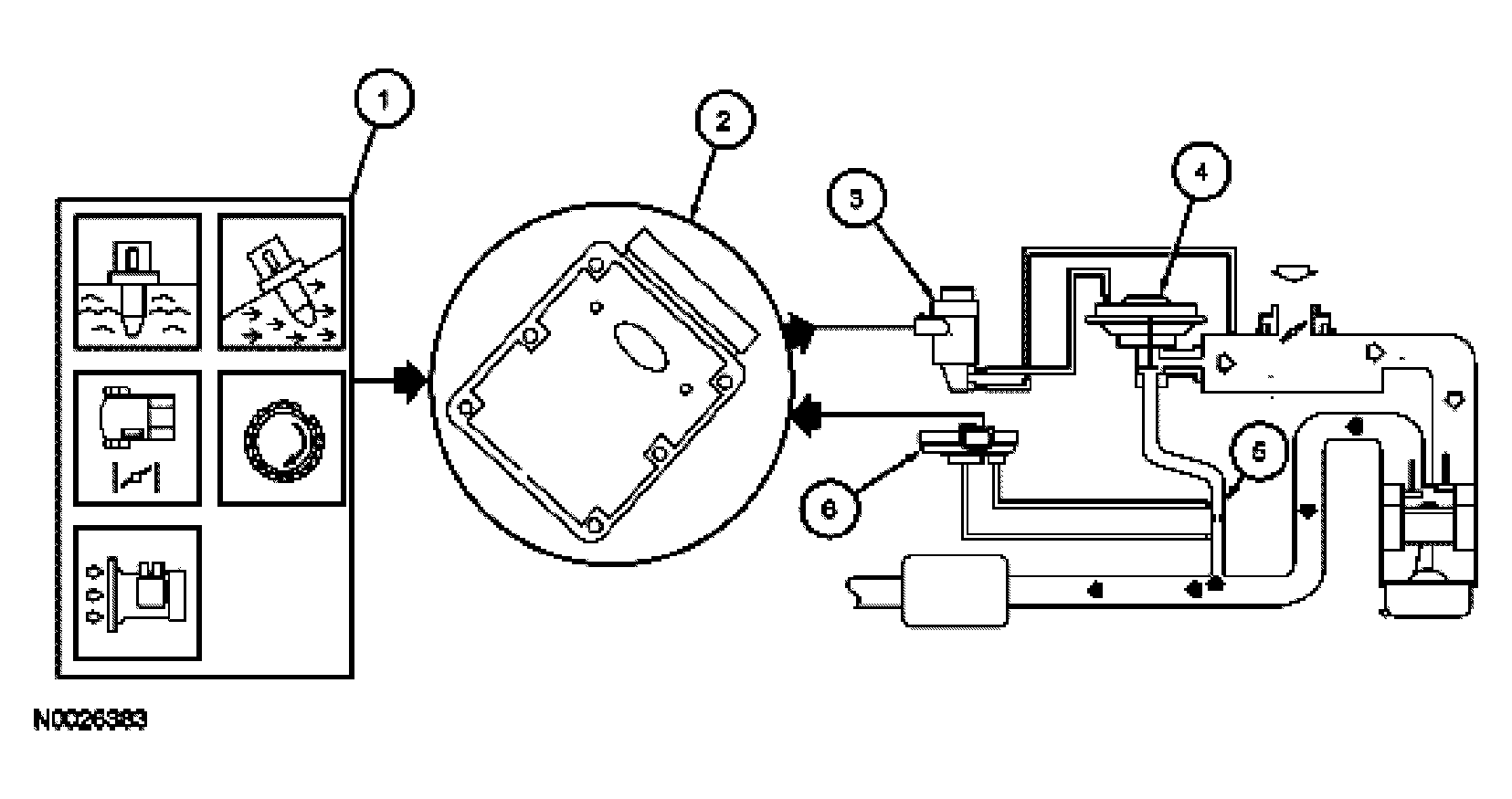
The DPFE system consists of a DPFE sensor, EGR vacuum regulator (EVR) solenoid, EGR valve, orifice tube assembly, powertrain control module (PCM), and connecting wires and vacuum hoses. For additional information on the DPFE system, refer to ENGINE CONTROL COMPONENTS . Operation of the system is as follows:

  1. The DPFE system receives signals from the engine coolant temperature (ECT) sensor or cylinder head temperature (CHT) sensor, intake air temperature (IAT) sensor, throttle position (TP) sensor, mass air flow (MAF) sensor, and crankshaft position (CKP) sensor to provide information on engine operating conditions to the PCM. The engine must be warm, stable, and running at a moderate load and RPM before the EGR system is activated. The PCM deactivates EGR during idle, extended wide open throttle, or whenever a concern is detected in an EGR component or EGR required input.
  2. The PCM calculates the desired amount of EGR flow for a given engine condition. It then determines the desired pressure drop across the metering orifice required to achieve that flow and outputs the corresponding signal to the EVR solenoid.
  3. The EVR solenoid receives a variable duty cycle signal (0 to 100%). The higher the duty cycle the more vacuum the solenoid diverts to the EGR valve.
  4. The increase in vacuum acting on the EGR valve diaphragm overcomes the valve spring and begins to lift the EGR valve pintle off its seat, causing exhaust gas to flow into the intake manifold.
  5. Exhaust gas flowing through the EGR valve must first pass through the EGR metering orifice. With one side of the orifice exposed to exhaust backpressure and the other to the intake manifold, a pressure drop is created across the orifice whenever there is EGR flow. When the EGR valve closes, there is no longer flow across the metering orifice and pressure on both sides of the orifice is the same. The PCM constantly targets a desired pressure drop across the metering orifice to achieve the desired EGR flow.
  6. The DPFE sensor measures the actual pressure drop across the metering orifice and relays a proportional voltage signal (0 to 5 volts) to the PCM. The PCM uses this feedback signal to correct for any errors in achieving the desired EGR flow.
    Fig 1: DPFE System Operation
    G04587099Courtesy of FORD MOTOR CO.