LEMON Manuals: Even more car manuals for everyone: 1960-2025
Home >> Ford >> 2006 >> Expedition 4WD >> Repair and Diagnosis >> External Pages >> Different car >> Section 304 (Component Testing) >> Component Testing >> Multifunction Switch, Turn Portion >> Schematic
April 5, 2026: LEMON Manuals is launched! Read the announcement.

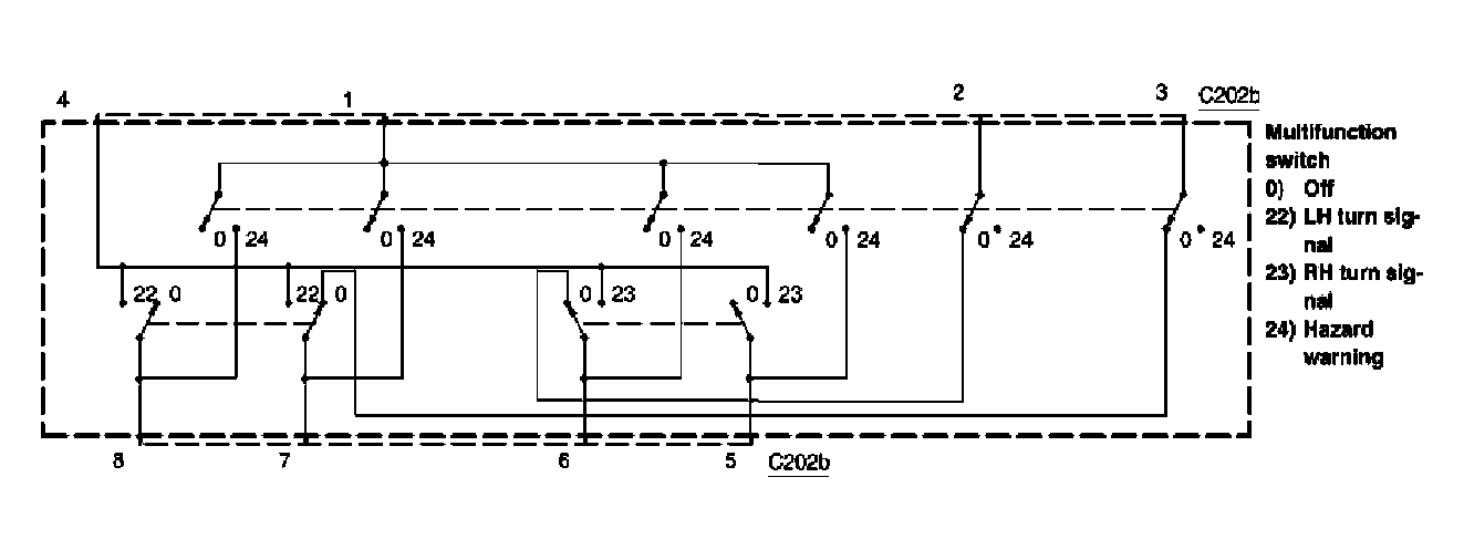
Multifunction Switch, Turn Portion: Schematic

WARNING: This page is about a different car, the 2005 Lincoln Navigator and 2005 Ford Expedition. However, it is still accessible from the selected car via links, so may be relevant.
Fig 1: Multifunction Switch - Schematic (Turn Portion)
G03993443Courtesy of FORD MOTOR CO.