LEMON Manuals: Even more car manuals for everyone: 1960-2025
Home >> Ford >> 2006 >> Expedition RWD >> Repair and Diagnosis >> External Pages >> Different car >> Section 134 (Engine) >> Assembly >> Engine
April 5, 2026: LEMON Manuals is launched! Read the announcement.

Section 134 (Engine): Assembly: Engine

WARNING: This page is about a different car, the 2005 Lincoln Navigator and 2005 Ford Expedition. However, it is still accessible from the selected car via links, so may be relevant.
SPECIAL TOOL DESCRIPTION

G03886005
Remover/Installer, Cylinder Head 303-572 (T97T-6000-A)
G03905862
Installer, Connecting Rod 303-442 (T93P-6136-A)
G03920070
Compressor, Valve Spring 303-1039
G03919900
Installer, Crankshaft Vibration Damper 303-102 (T74P-6316-B)
G03886827
Installer, Crankshaft Front Seal 303-635
G03920628
Installer, Front Cover Seal 303-335 (T88T-6701-A)
G03920362
Compressor, Piston Ring 303-D032 (D81L-6002-C) or equivalent
G03905601
Installer, Crankshaft Rear Seal 303-518 (T95P-6701-DH)
G03886833
Installer, Crankshaft Oil Slinger 303-517 (T95P-6701-CH)
G03885486
Installer, Crankshaft Rear Seal 303-516 (T95P-6701-EH)
G03885061
Impact Slide Hammer 100-001 (T50T-100-A)
G03886987
Alignment Pins, Cylinder Head 303-1040 (SR-015486)
G03886715
Modular Engine Lift Bracket 303-F047 (014-00073) or equivalent
G03920369
Locking Tool, Camshaft Phaser Sprocket 303-1046
G03886455
Holding Tool, Crankshaft 303-448 (T93P-6303-A)
MATERIAL SPECIFICATIONS

Item Specification
Motorcraft Metal Surface Prep ZC-31 -
Silicone Gasket Remover ZC-30 -
Silicone Gasket and Sealant TA-30 WSE-M4G323-A4
Motorcraft SAE 5W-20 Premium Synthetic Blend Motor Oil XO-5W20-QSP (in Canada Motorcraft SAE 5W-20 Super Premium Motor Oil CXO-5W20-LSP12) or equivalent WSS-M2C930-A
Motorcraft Premium Gold Engine Coolant VC-7-A (in California, Oregon and New Mexico VC-7-B, in Canada CVC-7-A) or equivalent (yellow color) WSS-M97B51-A1
Hydraulic Chain Tensioner Retaining Clip 1L3Z-6P250-AA -
Fig 1: Exploded View Of Engine - Upper End (1 Of 2)
G03920371Courtesy of FORD MOTOR CO.
Fig 2: Exploded View Of Engine - Upper End (2 Of 2)
G03933823Courtesy of FORD MOTOR CO.
Fig 3: Exploded View Of Engine - Front End
G03933824Courtesy of FORD MOTOR CO.
Fig 4: Exploded View Of Engine - Lower End (1 Of 2)
G03933825Courtesy of FORD MOTOR CO.
Fig 5: Exploded View Of Engine - Lower End (2 Of 2)
G03933826Courtesy of FORD MOTOR CO.
  1. Record the main bearing code found on the front of the engine block.
    Fig 6: Identifying Main Bearing Code Label Location (Engine Block)
    G04583819Courtesy of FORD MOTOR CO.
  2. Record the main bearing code found on the back of the crankshaft.
    Fig 7: Identifying Main Bearing Code - Found On Back Of Crankshaft
    G03886015Courtesy of FORD MOTOR CO.
  3. Using the data recorded earlier and the Bearing Select Fit Chart, Standard Bearings, determine the required bearing grade for each main bearing
    • Read the first letter of the engine block main bearing code and the first letter of the crankshaft main bearing code.
    • Read down the column below the engine block main bearing code letter, and across the row next to the crankshaft main bearing code letter, until the 2 intersect. This is the required bearing grade for the number one crankshaft main bearing.
    • As an example, if the engine block code letter is "F" and the crankshaft code letter is "D", the correct bearing grade for this main bearing is a "2".
    • Repeat this process for the remaining 4 main bearings.
    Fig 8: Bearing Select Fit Chart (Standard Bearings)
    G03886016Courtesy of FORD MOTOR CO.
  4. If oversize bearings are being used, use the procedure in the previous step and the Bearing Select Fit Chart, Oversize Bearings to determine the required bearing grade for each main bearing.
    Fig 9: Bearing Select Fit Chart (Oversize Bearings)
    G04583822Courtesy of FORD MOTOR CO.
  5. NOTE: Before assembling the cylinder block, all sealing surfaces must be free of chips, dirt, paint and foreign material. Also, make sure the coolant and oil passages are clear.
  6. Install the crankshaft upper main bearings into the cylinder block and lubricate them with clean engine oil.
  7. NOTE: The upper thrust washers are shown for location purposes only. Do not install the upper thrust washers until the crankshaft is installed. Refer to the following 2 steps.
    Fig 10: Installing Crankshaft Onto Upper Crankshaft Main Bearings
    G03886018Courtesy of FORD MOTOR CO.
  8. Install the crankshaft onto the upper crankshaft main bearings.
  9. NOTE: The oil groove on the thrust washer must face toward the front of the engine (against the crankshaft thrust surface).
    Fig 11: Installing Rear Crankshaft Upper Thrust Washer
    G03886019Courtesy of FORD MOTOR CO.
  10. Push the crankshaft rearward and install the rear crankshaft upper thrust washer at the back of the No. 5 main boss.
  11. NOTE: The oil groove on the thrust washer must face toward the front of the engine (against the crankshaft surface).
    Fig 12: Installing Front Crankshaft Upper Thrust Washer
    G03920382Courtesy of FORD MOTOR CO.
  12. Push the crankshaft forward and install the front crankshaft upper thrust washer at the front of the No. 5 main boss.
  13. NOTE: To aid in assembly, apply petroleum jelly to the back of the crankshaft thrust washer.
    NOTE: The oil groove on the thrust washer must face toward the rear of the engine (crankshaft surface).
    Fig 13: Installing Lower Crankshaft Thrust Washer To Back Side Of Main Bearing Cap
    G03920383Courtesy of FORD MOTOR CO.
  14. Install the lower crankshaft thrust washer to the back side of the No. 5 main bearing cap, with oil grooves facing the crankshaft surface.
  15. Install the crankshaft lower main bearings into the main bearing caps and lubricate them with clean engine oil. Locate the main bearing cap on the cylinder block and, keeping the cap as square as possible, alternately draw the cap down evenly using the cap fasteners.
  16. Install the dowel pins so the flat sides face the crankshaft.
    Fig 14: Installing Dowel Pins So Flat Sides Face Crankshaft
    G03905876Courtesy of FORD MOTOR CO.
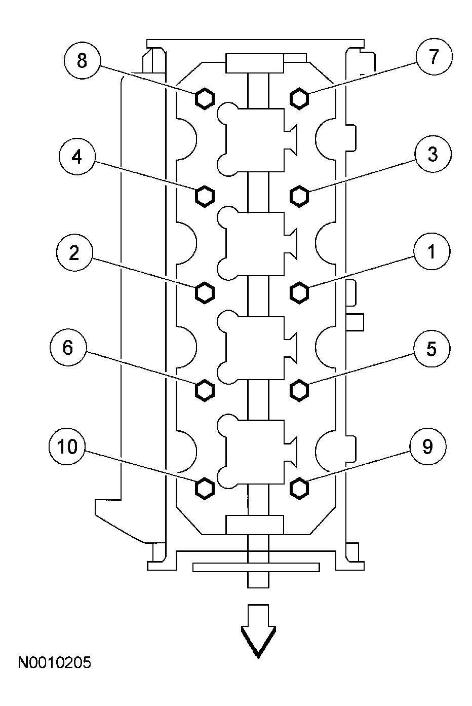
  17. Install the vertical main bearing cap fasteners and tighten in 2 stages, in the sequence shown.
    • Stage 1: Tighten to 40 Nm (30 lb-ft).
    • Stage 2: Tighten an additional 90 degrees.
    Fig 15: Identifying Tighten Sequence Of Vertical Main Bearing Cap Fasteners
    G03920385Courtesy of FORD MOTOR CO.
  18. Install the side bolts and tighten them in 2 stages, in the sequence shown.
    • Stage 1: Tighten to 30 Nm (22 lb-ft).
    • Stage 2: Tighten an additional 90 degrees.
    Fig 16: Identifying Tighten Sequence Of Side Bolts
    G03920386Courtesy of FORD MOTOR CO.
  19. Assemble the 8 pistons. For additional information, refer to PISTON .
  20. Make sure the ring gaps (oil spacer-A, oil ring-B, compression ring-C) are correctly spaced around the circumference of the piston.
    Fig 17: Identifying Ring Gaps Chart
    G03920387Courtesy of FORD MOTOR CO.
  21. Check the piston-to-cylinder block and piston ring clearances. For additional information, refer to ENGINE SYSTEM-GENERAL INFORMATION .
  22. CAUTION: Do not scratch the cylinder walls or crankshaft journals with the connecting rod.
    NOTE: The following piston installation steps are for all 8 connecting rods, rod bearings and pistons. Only one connecting rod, rod bearing and piston is shown.
    Fig 18: Installing Connecting Rod With Upper Connecting Rod Bearing
    G03920388Courtesy of FORD MOTOR CO.
  23. Use the special tools to install the connecting rod with the upper connecting rod bearing in place.
    • Lubricate the piston and ring with clean engine oil
    • Lubricate the rod bearings with clean engine oil.
  24. CAUTION: Do not scratch the cylinder walls or crankshaft journals with the connecting rod.
    Fig 19: Removing Special Tools (303-442)
    G03920389Courtesy of FORD MOTOR CO.
  25. Once the connecting rod is seated on the crankshaft journal, remove the special tools.
  26. CAUTION: The rod cap installation must keep the same orientation as marked during disassembly.
    NOTE: The connecting rod caps are of the ' 'cracked" design and must mate with the connecting rod ends. Excessive bearing clearance will result if not mated correctly.
  27. Position the lower bearing and connecting rod, and install the new bolts loosely.
  28. NOTE: Main bearing caps are removed for clarity.
    Fig 20: Identifying Tighten Sequence Of Connecting Rod Bearing Caps
    G03920390Courtesy of FORD MOTOR CO.
  29. Tighten the bolts in 2 stages, in the sequence shown.
    • Stage 1: Tighten to 43 Nm (32 lb-ft).
    • Stage 2: Tighten an additional 105 degrees.
  30. Position the oil pump and install the bolts.
    • Tighten to 10 Nm (89 lb-in).
    Fig 21: Installing Oil Pump
    G04638972Courtesy of FORD MOTOR CO.
  31. Install the oil pump screen and pickup tube spacer.
    • Tighten to 25 Nm (18 lb-ft).
    Fig 22: Installing Oil Pump Screen And Pickup Tube Spacer
    G03920392Courtesy of FORD MOTOR CO.
  32. CAUTION: Make sure the O-ring is in place and not damaged. A missing or damaged O-ring can cause foam in the lubrication system, low oil pressure and severe engine damage.
    NOTE: Clean and inspect the mating surfaces and install a new O-ring. Lubricate the O-ring with clean engine oil prior to installation.
    Fig 23: Installing Oil Pump Screen And Pickup Tube
    G03920125Courtesy of FORD MOTOR CO.
  33. Position the oil pump screen and pickup tube and install the bolts.
    • Tighten the oil pump screen and pickup tube-to-oil pump bolts to 10 Nm (89 lb-in).
    • Tighten the oil pump screen and pickup tube-to-spacer bolt to 25 Nm (18 lb-ft).
  34. Using the special tool, position the crankshaft keyway at the 11 o'clock position.
    Fig 24: Positioning Crankshaft Keyway To 11 O'Clock
    G03919963Courtesy of FORD MOTOR CO.
  35. CAUTION: Make sure all coolant residue and foreign material are cleaned from the block surface and cylinder bore.
    CAUTION: The use of sealing aids (aviation cement, copper spray, and glue) is not permitted. The gasket must be installed dry.
    CAUTION: The cylinder head bolts must be discarded and new bolts installed. They are tighten-to-yield designed and cannot be reused.
    NOTE: Do not turn the crankshaft until instructed to do so.
    NOTE: LH shown, RH similar.
    Fig 25: Installing Cylinder Head Gaskets And Cylinder Heads
    G03933846Courtesy of FORD MOTOR CO.
  36. Using the special tools, position the cylinder head gaskets and cylinder heads over the dowels and install the cylinder head bolts loosely.
  37. NOTE: RH shown, LH similar.
    Fig 26: Identifying Tighten Sequence Of Cylinder Head Bolts
    G03920396Courtesy of FORD MOTOR CO.
  38. Tighten the bolts in 3 stages, in the sequence shown.
    • Stage 1: Tighten to 40 Nm (30 lb-ft).
    • Stage 2: Tighten an additional 90 degrees.
    • Stage 3: Tighten an additional 90 degrees.
  39. Remove the special tool from the LH cylinder head.
    Fig 27: Removing Special Tool From LH Cylinder Head
    G03920258Courtesy of FORD MOTOR CO.
  40. Remove the special tool from the RH cylinder head.
    Fig 28: Removing Special Tool From RH Cylinder Head
    G03920261Courtesy of FORD MOTOR CO.
  41. Install the hydraulic lash adjusters into the RH and LH cylinder heads.
    • Lubricate the hydraulic lash adjusters with clean engine oil prior to installation.
    Fig 29: Installing Hydraulic Lash Adjusters
    G03920399Courtesy of FORD MOTOR CO.
  42. Install the LH and RH camshafts.
    • Lubricate the camshaft and camshaft journals with clean engine oil prior to installation.
  43. NOTE: LH shown, RH similar.
    Fig 30: Identifying Camshaft Bearing Cap Bolt Tightening Sequence
    G03919956Courtesy of FORD MOTOR CO.
  44. Install the LH and RH camshaft bearing caps in their original locations.
    • Lubricate the camshaft bearing caps with clean engine oil.
    • Position the front camshaft bearing cap.
    • Position the remaining camshaft bearing caps.
    • Install the bolts loosely.
    • Tighten to 10 Nm (89 lb-in) in the sequence shown.
  45. CAUTION: Damage to the variable camshaft timing (VCT) phaser sprocket assembly will occur if mishandled or used as a lifting or leveraging device.
    NOTE: LH shown, RH similar.
    Fig 31: Installing Camshaft Phaser Sprocket
    G03919961Courtesy of FORD MOTOR CO.
  46. Install the VCT phaser sprockets and new VCT phaser sprocket bolts finger tight.
  47. CAUTION: Damage to the VCT phaser sprocket assembly will occur if mishandled or used as a lifting or leveraging device.
    CAUTION: Only use hand tools to remove the VCT phaser sprocket assembly or damage may occur to the camshaft or VCT phaser sprocket.
    NOTE: LH shown, RH similar.
    Fig 32: Tightening VCT Phaser Sprocket Bolts
    G03919955Courtesy of FORD MOTOR CO.
  48. Using the special tool, tighten the LH and RH VCT phaser sprocket bolts in 2 stages.
    • Stage 1: Tighten to 40 Nm (30 lb-ft).
    • Stage 2: Tighten an additional 90 degrees.
  49. CAUTION: Timing chain procedures must be followed exactly or damage to valves and pistons will result.
    CAUTION: Prior to installation, inspect the tensioner-sealing bead for seal integrity. If cracks, tears, separation from the tensioner body or permanent compression of the seal bead is observed, install a new tensioner.
    Fig 33: Compressing Tensioner Plunger Using Edge Of Vise
    G03885344Courtesy of FORD MOTOR CO.
  50. Compress the tensioner plunger, using a vise.
  51. Install a retaining clip on the tensioner to hold the plunger in during installation.
    Fig 34: Installing Retaining Clip On Tensioner
    G03881580Courtesy of FORD MOTOR CO.
  52. Remove the tensioner from the vise.
  53. If the copper links are not visible, mark 2 links on one end and 1 link on the other end, and use as timing marks.
    Fig 35: Marking Links When Copper Link Is Not Visible
    G03885317Courtesy of FORD MOTOR CO.
  54. Install the crankshaft sprocket, making sure the flange faces forward.
    Fig 36: Installing Crankshaft Sprocket
    G03919967Courtesy of FORD MOTOR CO.
  55. Install the 4 bolts and the LH and RH timing chain guides.
    • Tighten to 10 Nm (89 lb-in).
    Fig 37: Identifying LH And RH Timing Chain Guides
    G03933858Courtesy of FORD MOTOR CO.
  56. Position the lower end of the LH (inner) timing chain on the crankshaft sprocket, aligning the timing mark on the outer flange of the crankshaft sprocket with the single copper (marked) link on the chain.
    Fig 38: Aligning Crankshaft Sprocket Timing Mark And LH Timing Chain Link
    G03919969Courtesy of FORD MOTOR CO.
  57. NOTE: Make sure the upper half of the timing chain is below the tensioner arm dowel.
    Fig 39: Identifying Timing Mark & Copper (Marked) Chain Links
    G03919970Courtesy of FORD MOTOR CO.
  58. Position the timing chain on the VCT phaser sprocket with the timing mark positioned between the 2 copper (marked) chain links.
  59. NOTE: The LH timing chain tensioner arm has a bump near the dowel hole for identification.
    Fig 40: Installing LH Timing Chain Tensioner Arm & Tensioner
    G03919950Courtesy of FORD MOTOR CO.
  60. Position the LH timing chain tensioner arm on the dowel pin and install the LH timing chain tensioner and bolts.
    • Tighten to 25 Nm (18 lb-ft).
  61. Remove the retaining clip from the LH timing chain tensioner.
    Fig 41: Removing Timing Chain Tensioner Retaining Clip
    G03881591Courtesy of FORD MOTOR CO.
  62. Position the lower end of the RH (outer) timing chain on the crankshaft sprocket, aligning the timing mark on the sprocket with the single copper (marked) chain link.
    Fig 42: Aligning Crankshaft Sprocket Timing Mark And RH Timing Chain Link
    G03919973Courtesy of FORD MOTOR CO.
  63. NOTE: The lower half of the timing chain must be positioned above the tensioner arm dowel.
    NOTE: The camshaft phaser and sprocket will be stamped with one of the illustrated timing marks for the RH camshaft.
    Fig 43: Positioning RH Timing Chain On VCT Phaser Sprocket
    G03919974Courtesy of FORD MOTOR CO.
  64. Position the RH timing chain on the VCT phaser sprocket with the timing mark positioned between the 2 copper (marked) chain links.
  65. Position the RH timing chain tensioner arm on the dowel pin and install the RH timing chain tensioner and bolts.
    • Tighten to 25 Nm (18 lb-ft).
    Fig 44: Installing RH Timing Chain Tensioner Arm & RH Timing Chain Tensioner
    G03919951Courtesy of FORD MOTOR CO.
  66. Remove the retaining clip from the RH timing chain tensioner.
    Fig 45: Timing Chain Tensioner Retaining Clip
    G03881591Courtesy of FORD MOTOR CO.
  67. As a post-check, verify correct alignment of all timing marks.
    Fig 46: Checking Correct Alignment Of All Timing Marks
    G03919977Courtesy of FORD MOTOR CO.
  68. Install the crankshaft sensor ring on the crankshaft.
    Fig 47: Installing Crankshaft Sensor Ring
    G04583449Courtesy of FORD MOTOR CO.
  69. Using the special tool, install all of the camshaft roller followers.
    • Lubricate the camshaft roller followers with clean engine oil prior to installation.
    Fig 48: Installing Camshaft Roller Followers
    G03919948Courtesy of FORD MOTOR CO.
  70. CAUTION: Do not use metal scrapers, wire brushes, power abrasive discs or other abrasive means to clean the sealing surfaces. These tools cause scratches and gouges which make leak paths. Use a plastic scraping tool to remove all traces of old sealant.
    NOTE: If the engine front cover is not secured within 4 minutes, the sealant must be removed and the sealing area cleaned with silicone gasket remover and metal surface prep. Follow the directions on the packaging. Allow to dry until there is no sign of wetness, or 4 minutes, whichever is longer. Failure to follow this procedure can cause future oil leakage.
    NOTE: Make sure that the engine front cover gasket are in place on the engine front cover before installation.
    Fig 49: Applying Bead Of Silicone Gasket And Sealant Along Cylinder Head-To-Cylinder Block Surface
    G03920419Courtesy of FORD MOTOR CO.
  71. Apply a bead of silicone gasket and sealant along the cylinder head-to-cylinder block surface at the locations shown.
  72. Install new engine front cover gaskets on the engine front cover. Position the engine front cover onto the dowels. Install the fasteners finger-tight.
    Fig 50: Installing Engine Front Cover
    G03881967Courtesy of FORD MOTOR CO.
  73. Tighten the engine front cover fasteners in sequence in 2 stages.

    Stage 1: Tighten fasteners 1 through 15 to 25 Nm (18 lb-ft).

    Stage 2: Tighten fasteners 6 and 7 to 48 Nm (35 lb-ft).

    Fig 51: Identifying Tightening Sequence Of Engine Front Cover Fasteners
    G03933872Courtesy of FORD MOTOR CO.
  74. NOTE: Lubricate the new O-ring seal with clean engine oil prior to installation.
    Fig 52: Installing LH CMP Sensor
    G03919989Courtesy of FORD MOTOR CO.
  75. Install the LH camshaft position (CMP) sensor and the bolt.
    • Tighten to 10 Nm (89 lb-in).
  76. NOTE: Lubricate the new O-ring seal with clean engine oil prior to installation.
    Fig 53: Installing RH CMP Sensor
    G03920013Courtesy of FORD MOTOR CO.
  77. Install the RH CMP sensor and the bolt.
    • Tighten to 10 Nm (89 lb-in).
  78. CAUTION: Do not rotate the coolant pump housing once the coolant pump has been positioned in the cylinder block. Damage to the O-ring seal will occur.
    Fig 54: Identifying Coolant Pump
    G03885759Courtesy of FORD MOTOR CO.
  79. Position the coolant pump and install the bolts loosely.
    • Lubricate the new O-ring seal using clean engine coolant and install the O-ring seal onto the coolant pump.
  80. Tighten the 4 coolant pump bolts.
    • Tighten to 25 Nm (18 lb-ft).
    Fig 55: Tightening Coolant Pump Bolts
    G03885825Courtesy of FORD MOTOR CO.
  81. Lubricate the engine front cover and the crankshaft front seal inner lip with clean engine oil.
    Fig 56: Lubricant Engine Front Cover & Crankshaft Front Seal
    G03881970Courtesy of FORD MOTOR CO.
  82. Using the special tools, install a new crankshaft front seal into the engine front cover.
    Fig 57: Installing Crankshaft Front Seal Using Special Tools
    G03919891Courtesy of FORD MOTOR CO.
  83. NOTE: If not secured within 4 minutes, the sealant must be removed and the sealing area cleaned with silicone gasket remover and metal surface prep. Follow the directions on the packaging. Allow to dry until there is no sign of wetness, or 4 minutes, whichever is longer. Failure to follow this procedure can cause future oil leakage.
    Fig 58: Applying Silicone Gasket And Sealant To Woodruff Key Slot On Crankshaft Pulley
    G03919877Courtesy of FORD MOTOR CO.
  84. Apply silicone gasket and sealant to the Woodruff key slot on the crankshaft pulley.
  85. Use the special tool to install the crankshaft pulley.
    Fig 59: Installing Crankshaft Pulley
    G03920552Courtesy of FORD MOTOR CO.
  86. Tighten the new crankshaft pulley bolt in 4 stages.
    • Stage 1: Tighten to 90 Nm (66 lb-ft).
    • Stage 2: Loosen 360 degrees.
    • Stage 3: Tighten to 50 Nm (37 lb-ft).
    • Stage 4: Tighten an additional 90 degrees.
    Fig 60: Installing Crankshaft Pulley Bolt & Washer
    G04672695Courtesy of FORD MOTOR CO.
  87. Position the crankshaft position (CKP) sensor and the bolt.
    • Tighten to 10 Nm (89 lb-in).
    Fig 61: Installing Crankshaft Position (CKP) Sensor
    G03920231Courtesy of FORD MOTOR CO.
  88. Position the accessory drive belt tensioner and install the 3 bolts.
    • Tighten to 25 Nm (18 lb-ft).
    Fig 62: Installing Accessory Drive Belt Tensioner
    G03920234Courtesy of FORD MOTOR CO.
  89. Install the 3 accessory drive belt idler pulleys, the coolant pump pulley and the 7 bolts.
    • Tighten to 25 Nm (18 lb-ft).
    Fig 63: Installing Coolant Pump Pulley And Accessory Drive Belt Idler Pulley
    G03933688Courtesy of FORD MOTOR CO.
  90. CAUTION: Do not use metal scrapers, wire brushes, power abrasive discs or other abrasive means to clean the sealing surfaces. These tools cause scratches and gouges which make leak paths. Use a plastic scraping tool to remove all traces of old sealant.
    NOTE: Clean and inspect the mating surfaces, and install a new gasket.
    Fig 64: Installing Oil Filter Adapter
    G03933759Courtesy of FORD MOTOR CO.
  91. Position the oil filter adapter and install the 4 bolts.
    • Tighten to 25 Nm (18 lb-ft).
  92. Position a new gasket, the LH exhaust manifold and tighten the 8 nuts in the sequence shown.
    • Tighten to 25 Nm (18 lb-ft).
    Fig 65: Identifying Bolt Tightening/Loosening Sequence Of LH Exhaust Manifold
    G03920090Courtesy of FORD MOTOR CO.
  93. Install the LH engine support insulator and the 3 bolts.
    • Tighten to 63 Nm (46 lb-ft).
    Fig 66: Installing LH Engine Support Insulator
    G03933757Courtesy of FORD MOTOR CO.
  94. Position a new gasket, the RH exhaust manifold and tighten the 8 nuts in the sequence shown.
    • Tighten to 25 Nm (18 lb-ft).
    Fig 67: Identifying Bolt Tightening/Loosening Sequence Of RH Exhaust Manifold
    G03920092Courtesy of FORD MOTOR CO.
  95. Install the RH engine support insulator and the 3 bolts.
    • Tighten to 63 Nm (46 lb-ft).
    Fig 68: Installing RH Engine Support Insulator
    G03933620Courtesy of FORD MOTOR CO.
  96. CAUTION: Do not use metal scrapers, wire brushes, power abrasive discs or other abrasive means to clean sealing surfaces. These tools cause scratches and gouges which make leak paths. Use a plastic scraping tool to remove all traces of old sealant.
  97. Clean the valve cover mating surface with silicone gasket remover and metal surface prep. Follow the directions on the packaging.
  98. NOTE: If not secured within 4 minutes, the sealant must be removed and the sealing area cleaned with silicone gasket remover and metal surface prep. Follow the directions on the packaging. Allow to dry until there is no sign of wetness, or 4 minutes, whichever is longer. Failure to follow this procedure can cause future oil leakage.
    Fig 69: Identifying Silicone Gasket Application Points
    G03919863Courtesy of FORD MOTOR CO.
  99. Apply silicone gasket and sealant in 2 places where the engine front cover meets the cylinder head.
  100. CAUTION: When installing the valve cover, make sure to avoid damaging the VCT solenoid.
    Fig 70: Identifying Tighten Sequence Of LH Valve Cover Bolts
    G03919864Courtesy of FORD MOTOR CO.
  101. Position the RH valve cover and gasket on the cylinder head and tighten the bolts in the sequence shown.
    • Tighten to 10 Nm (89 lb-in).
  102. CAUTION: Do not use metal scrapers, wire brushes, power abrasive discs or other abrasive means to clean sealing surfaces. These tools cause scratches and gouges which make leak paths. Use a plastic scraping tool to remove all traces of old sealant.
  103. Clean the valve cover mating surface with silicone gasket remover and metal surface prep. Follow the directions on the packaging.
  104. NOTE: If not secured within 4 minutes, the sealant must be removed and the sealing area cleaned with silicone gasket remover and metal surface prep. Follow the directions on the packaging. Allow to dry until there is no sign of wetness, or 4 minutes, whichever is longer. Failure to follow this procedure can cause future oil leakage.
    Fig 71: Identifying Silicone Gasket Application Points
    G03919870Courtesy of FORD MOTOR CO.
  105. Apply silicone gasket and sealant in 2 places where the engine front cover meets the cylinder head.
  106. CAUTION: When installing the valve cover, make sure to avoid damaging the VCT solenoid.
    Fig 72: Identifying Tighten Sequence Of RH Valve Cover Bolts
    G03919871Courtesy of FORD MOTOR CO.
  107. Position the LH valve cover and gasket on the cylinder head and tighten the bolts in the sequence shown.
    • Tighten to 10 Nm (89 lb-in).
  108. Install the oil level indicator tube and the bolt.
    • Install a new O-ring seal and lubricate the O-ring seal with clean engine oil prior to installation.
    • Tighten to 10 Nm (89 lb-in).
    Fig 73: Installing Oil Level Indicator Tube
    G03933683Courtesy of FORD MOTOR CO.
  109. NOTE: Do not reuse the O-ring seals.
    NOTE: Lubricate the O-ring seals with clean engine coolant prior to installation.
    Fig 74: Installing Coolant Tube Into Cylinder Block
    G03885471Courtesy of FORD MOTOR CO.
  110. Slide the coolant tube forward with the new O-ring seals into the cylinder block.
  111. Install the coolant tube stud bolt.
    • Tighten to 10 Nm (89 lb-in).
    Fig 75: Installing Coolant Tube Stud Bolt
    G03920263Courtesy of FORD MOTOR CO.
  112. Install the 2 knock sensors (KS) and the bolts.
    • Tighten to 20 Nm (15 lb-ft).
    Fig 76: Installing Knock Sensors (KS)
    G03920293Courtesy of FORD MOTOR CO.
  113. Position the electrical harness on the engine assembly and connect the engine wiring harness retainers to the valve cover studs.
  114. Connect the CKP sensor electrical connector.
    Fig 77: Connecting CKP Sensor Electrical Connector
    G04612789Courtesy of FORD MOTOR CO.
  115. NOTE: LH shown, RH similar.
    Fig 78: Installing Ignition Coils
    G03920226Courtesy of FORD MOTOR CO.
  116. Install the 8 ignition coils and the 8 bolts.
    • Tighten to 6 Nm (53 lb-in).
  117. Install the LH radio ignition interference capacitor and the stud bolt.
    • Tighten to 25 Nm (18 lb-ft).
    Fig 79: Installing LH Radio Ignition Interference Capacitor
    G03920225Courtesy of FORD MOTOR CO.
  118. Connect the 2 engine wiring harness retainers to the LH valve cover studs.
    Fig 80: Connecting Engine Wiring Harness Retainers To LH Valve Cover Studs
    G03933745Courtesy of FORD MOTOR CO.
  119. Connect the cylinder head temperature (CHT) sensor electrical connector.
    Fig 81: Connecting Cylinder Head Temperature (CHT) Sensor Electrical Connector
    G03920224Courtesy of FORD MOTOR CO.
  120. Connect the 4 RH ignition coil electrical connectors.
    Fig 82: Connecting RH Ignition Coil Electrical Connectors
    G03920223Courtesy of FORD MOTOR CO.
  121. Connect the electrical connector retainer to the coolant tube.
    Fig 83: Connecting Electrical Connector Retainer At Coolant Tube Support Bracket
    G03919850Courtesy of FORD MOTOR CO.
  122. Connect the 2 engine wiring harness retainers from the RH valve cover studs.
    Fig 84: Connecting Engine Wiring Harness Retainers To RH Valve Cover
    G03920221Courtesy of FORD MOTOR CO.
  123. Connect the RH VCT solenoid electrical connector.
    Fig 85: Connecting RH VCT Solenoid Electrical Connector
    G03920220Courtesy of FORD MOTOR CO.
  124. Install the RH radio ignition interference capacitor and the stud bolt.
    • Tighten to 25 Nm (18 lb-ft).
    Fig 86: Installing RH Radio Ignition Interference Capacitor
    G03920219Courtesy of FORD MOTOR CO.
  125. Connect the RH CMP sensor electrical connector.
    Fig 87: Connecting RH CMP Sensor Electrical Connector
    G03919909Courtesy of FORD MOTOR CO.
  126. Install the special tool.
    Fig 88: Identifying Special Tool
    G03920205Courtesy of FORD MOTOR CO.
  127. Using a suitable floor crane, remove the engine from the engine stand.
  128. CAUTION: Do not use metal scrapers, wire brushes, power abrasive discs or other abrasive means to clean the aluminum retainer plate. These tools cause scratches and gouges, which make leak paths. Use a plastic scraping tool to remove all traces of old sealant.
  129. Inspect the crankshaft rear seal retainer plate. Clean the mating surface for the rear seal retainer plate with silicone gasket remover and metal surface prep. Follow the directions on the packaging.
  130. NOTE: If not secured within 4 minutes, the sealant must be removed and the sealing area cleaned with silicone gasket remover and metal surface prep. Follow the directions on the packaging. Allow to dry until there is no sign of wetness, or 4 minutes, whichever is longer. Failure to follow this procedure can cause future oil leakage.
    Fig 89: Applying Bead Of Silicone Gasket And Sealant Around Crankshaft Rear Seal Retainer Sealing Surface
    G03933910Courtesy of FORD MOTOR CO.
  131. Apply a 4 mm (0.16 in) bead of silicone gasket and sealant around the crankshaft rear seal retainer sealing surface.
  132. Install the crankshaft rear seal retainer plate and loosely install the 6 bolts.
    Fig 90: Installing Crankshaft Rear Oil Seal Retainer
    G04583880Courtesy of FORD MOTOR CO.
  133. Tighten the bolts in the sequence shown.
    • Tighten to 10 Nm (89 lb-in).
    Fig 91: Identifying Tighten Sequence Of Crankshaft Rear Seal Retainer Plate Bolts
    G03920463Courtesy of FORD MOTOR CO.
  134. CAUTION: Do not use metal scrapers, wire brushes, power abrasive discs or other abrasive means to clean the sealing surfaces. These tools cause scratches and gouges, which make leak paths. Use a plastic scraping tool to remove all traces of old sealant.
  135. Inspect the oil pan. Clean the mating surface for the oil pan with silicone gasket remover and metal surface prep. Follow the directions on the packaging.
  136. NOTE: If not secured within 4 minutes, the sealant must be removed and the sealing area cleaned with silicone gasket remover and metal surface prep. Follow the directions on the packaging. Allow to dry until there is no sign of wetness, or 4 minutes, whichever is longer. Failure to follow this procedure can cause future oil leakage.
    Fig 92: Identifying Area For Applying Bead Of Silicone Gasket And Sealant
    G04583522Courtesy of FORD MOTOR CO.
  137. Apply silicone gasket and sealant at the crankshaft rear seal retainer plate-to-cylinder block sealing surface.
  138. NOTE: If not secured within 4 minutes, the sealant must be removed and the sealing area cleaned with silicone gasket remover and metal surface prep. Follow the directions on the packaging. Allow to dry until there is no sign of wetness, or 4 minutes, whichever is longer. Failure to follow this procedure can cause future oil leakage.
    Fig 93: Identifying Silicone Gasket And Sealant Application Points
    G03920465Courtesy of FORD MOTOR CO.
  139. Apply silicone gasket and sealant at the engine front cover-to-cylinder block sealing surface.
  140. Install the oil pan gasket and the oil pan and loosely install the bolts.
    Fig 94: Installing Oil Pan
    G03885989Courtesy of FORD MOTOR CO.
  141. Tighten the bolts in 3 stages, in the sequence shown.
    • Stage 1: Tighten to 2 Nm (18 lb-in).
    • Stage 2: Tighten to 20 Nm (15 lb-ft).
    • Stage 3: Tighten an additional 60 degrees.
    Fig 95: Identifying Oil Pan Bolt Tightening Sequence
    G03920110Courtesy of FORD MOTOR CO.
  142. NOTE: Lubricate the inner lip of the crankshaft rear seal with clean engine oil.
    Fig 96: Installing Crankshaft Rear Oil Seal
    G04583928Courtesy of FORD MOTOR CO.
  143. Using the special tools, install a new crankshaft rear seal.
  144. Using the special tools, install a new crankshaft rear oil slinger.
    Fig 97: Installing Crankshaft Rear Oil Slinger
    G03920154Courtesy of FORD MOTOR CO.
  145. Install the flexplate and the 8 bolts in the sequence shown.
    • Tighten to 80 Nm (59 lb-ft).
    Fig 98: Identifying Flexplate Bolt Tightening Sequence
    G03920141Courtesy of FORD MOTOR CO.