LEMON Manuals: Even more car manuals for everyone: 1960-2025
Home >> Ford >> 2006 >> Focus ZX3 S >> Repair and Diagnosis >> Accessories & Equipment >> Cruise Control Systems >> Speed Control System >> Removal And Installation >> Speed Control Cable >> Removal and Installation
April 5, 2026: LEMON Manuals is launched! Read the announcement.

Removal and Installation

  1. If equipped, remove the watershield.
    • Remove the screw.
    • Remove the 2 pin-type retainers.
      Fig 1: Identifying Pin-Type Retainers
      G04653636Courtesy of FORD MOTOR CO.
  2. Disconnect the speed control cable from the throttle body linkage.
    • Rotate the throttle body linkage and disconnect the speed control cable end by pushing forward.
      Fig 2: Locating Speed Control Cable
      G04653637Courtesy of FORD MOTOR CO.
  3. Position the speed control cable away from the throttle body bracket retaining ring.
    Fig 3: Positioning Speed Control Cable
    G04653638Courtesy of FORD MOTOR CO.
  4. Remove the speed control cable from the throttle body bracket.
    • Using a suitable tool, remove the retaining ring from the throttle body bracket.
      Fig 4: Locating Retaining Ring
      G04653639Courtesy of FORD MOTOR CO.
  5. Remove the speed control cable from the retaining clips.
    Fig 5: Locating Retaining Clips
    G04653640Courtesy of FORD MOTOR CO.
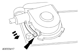
  6. Disconnect the speed control actuator electrical connector.
    Fig 6: Locating Speed Control Actuator Electrical Connector
    G04653641Courtesy of FORD MOTOR CO.
  7. Remove the 3 bolts and the speed control actuator.
    • To install, tighten to 9 Nm (80 lb-in).
      Fig 7: Locating Speed Control Actuator Bolts With Torque Specifications
      G04653642Courtesy of FORD MOTOR CO.
  8. Press the locking tab and rotate the speed control cable cover counterclockwise to remove.
    Fig 8: Pressing Locking Tab
    G04653643Courtesy of FORD MOTOR CO.
  9. Remove the speed control cable from the speed control actuator pulley.
    1. Press the spring retainer.
    2. Slide the core wire end out of the speed control actuator pulley and disconnect the speed control actuator cable.
      Fig 9: Sliding Core Wire End Out Of Speed Control Actuator Pulley
      G04653644Courtesy of FORD MOTOR CO.
  10. CAUTION: A new speed control cable must be installed.
    NOTE: Make sure downward pressure is applied to the speed control actuator cable cover prior to rotating it clockwise.
  11. To install, reverse the removal procedure.