LEMON Manuals: Even more car manuals for everyone: 1960-2025
Home >> Ford >> 2006 >> Focus ZX4 ST >> Repair and Diagnosis >> Accessories & Equipment >> Cruise Control Systems >> Speed Control System >> General Procedures >> Speed Control Deactivator Switch Adjustment
April 5, 2026: LEMON Manuals is launched! Read the announcement.

Speed Control Deactivator Switch Adjustment

    NOTE: The brake pedal position (BPP) switch and the clutch pedal position (CPP) switch are shown removed for clarity.
    Fig 1: Identifying Speed Control Deactivator Switch Position
    G04653629Courtesy of FORD MOTOR CO.
  1. Remove the speed control deactivator switch by turning the switch counterclockwise.
  2. Pull out the speed control deactivator switch plunger until it is fully extended.
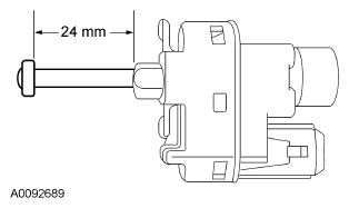
    • Measure the plunger length. It should measure 24 mm (0.94 in).
      Fig 2: Identifying Plunger Length
      G04653630Courtesy of FORD MOTOR CO.
  3. Apply the brake pedal.
  4. CAUTION: When installing the speed control deactivator switch, rotate the switch clockwise. Failure to follow this instruction will result in the switch plunger binding inside the switch.
    NOTE: The speed control deactivator switch is automatically adjusted during installation.
    NOTE: A slight ratcheting noise and feel during installation of the speed control deactivator switch is normal.
    Fig 3: Identifying Speed Control Deactivator Switch Position
    G04653631Courtesy of FORD MOTOR CO.
  5. Install the speed control deactivator switch by turning the switch clockwise.
  6. Slowly release the brake pedal.