LEMON Manuals: Even more car manuals for everyone: 1960-2025
Home >> Ford >> 2006 >> Focus ZX4 ST >> Repair and Diagnosis >> Electrical >> Gauges >> Information System And Entertainment System >> Removal And Installation >> Audio Unit >> Notes
April 5, 2026: LEMON Manuals is launched! Read the announcement.

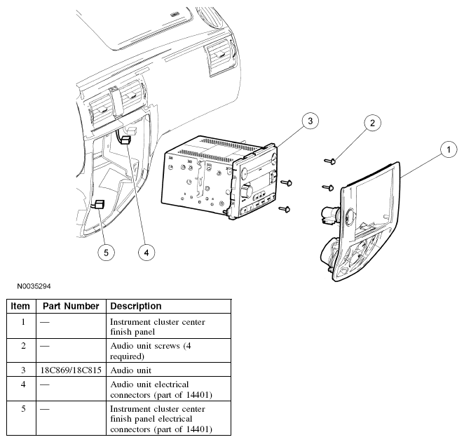
Audio Unit: Notes

Fig 1: Exploded View Of Audio Unit
G04654075Courtesy of FORD MOTOR CO.