LEMON Manuals: Even more car manuals for everyone: 1960-2025
Home >> Ford >> 2006 >> Mustang Base, 2D Convertible, Automatic >> Repair and Diagnosis >> Engine Mechanical >> Exhaust System >> General Procedures >> Exhaust System Alignment
April 5, 2026: LEMON Manuals is launched! Read the announcement.

Exhaust System Alignment

  1. With the vehicle in NEUTRAL, position it on a hoist. For additional information, refer to JACKING & LIFTING .
  2. Loosen the muffler-to-intermediate pipe clamp.
  3. Remove and discard the exhaust coupler and position a new coupler on the pipe. Do not tighten the coupler at this time.
  4. Remove and discard the converter-to-manifold nuts and install new nuts. Do not tighten the nuts at this time.
    NOTE: Make sure the exhaust system hanger rods are correctly inserted into the center of all the catalyst and muffler isolators.
  5. Install a jack stand at the rear of the catalytic converter. Adjust the converter height by adjusting the jack stand. The catalytic converter is correctly positioned when the catalytic converter hanger rods are centered in the isolators.
  6. Beginning at the front of the vehicle, align the exhaust system.
    1. Hand-tighten all the catalytic converter nuts.
    2. Alternately tighten, in 10 Nm (89 lb-in) increments, the upper catalytic converter-to-manifold nuts to 45 Nm (33 lb-ft).
      • LH upper.
      • RH upper.
    3. Alternately tighten, in 10 Nm (89 lb-in) increments, the lower catalytic converter-to-manifold nuts to 45 Nm (33 lb-ft).
      • LH lower.
      • RH lower.
    4. Verify the intermediate pipe button is fully seated to the bottom of the muffler inlet pipe notch.
      • Tighten the muffler-to-intermediate pipe clamp(s) to 54 Nm (40 lb-ft).
      NOTE: Make sure that the intermediate pipe is inserted into the coupler correctly. Correct installation is achieved when the rearmost end of the coupler terminates in the knurled region of the intermediate pipe.
    5. Slide coupler over catalyst pipe and engage the coupler clip completely over the converter button.
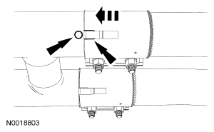
    6. Push the muffler forward. The back of the exhaust coupler should be in the crosshatched area on the intermediate pipe.
      • Alternately tighten, in 10 Nm (89 lb-in) increments, the intermediate pipe-to-converter assembly coupling(s) to 54 (40 lb-ft).
        Fig 1: Locating Crosshatched Area On Intermediate Pipe
        G04697161
  7. Start the engine and check the exhaust system for leaks.