LEMON Manuals: Even more car manuals for everyone: 1960-2025
Home >> Ford >> 2006 >> Taurus SE, 3.0 2 >> Repair and Diagnosis >> Steering >> Steering Column >> Disassembly And Assembly >> Steering Column - Console Shift >> Assembly
April 5, 2026: LEMON Manuals is launched! Read the announcement.

Steering Column - Console Shift: Assembly

  1. Install the locking lever cam and pin.
    Fig 1: Installing Locking Lever Cam And Pin
    G04708937Courtesy of FORD MOTOR CO.
  2. Install the lock actuator lever and pin.
    Fig 2: Installing Lock Actuator Lever And Pin
    G04708938Courtesy of FORD MOTOR CO.
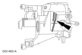
  3. Install the lock actuator lever return spring.
    Fig 3: Locating Lock Actuator Lever Return Spring
    G04708939Courtesy of FORD MOTOR CO.
  4. Install the ignition lock cylinder lockout lever.
    Fig 4: Locating Ignition Lock Cylinder Lockout Lever
    G04708940Courtesy of FORD MOTOR CO.
  5. NOTE: The lock lever with 2 teeth is installed on the left-hand side.
    Fig 5: Installing Springs And Lock Levers
    G04708941Courtesy of FORD MOTOR CO.
  6. If necessary, install the springs and lock levers.
    1. Install the spring and lever on the left-hand side. Use a pin punch to hold the compressed spring in position.
    2. Install the spring and lever on the right-hand side. Use the pivot pin to hold the compressed spring in position.
    3. Tap the pin through the levers, pushing out the pin punch, until flush with the housing.
  7. NOTE: Lubricate the lock lever actuators with premium long-life grease.
    Fig 6: Identifying Steering Column Upper And Lower Lock Actuator
    G04708942Courtesy of FORD MOTOR CO.
  8. Install the lock lever actuators.
    1. Install the lower lock lever actuator.
    2. Install the upper lock lever actuator.
  9. Install the lower bearing retainer.
    1. Position the lower bearing retainer.
    2. Install the 2 bolts and tighten to 9 Nm (80 lb-in).
    Fig 7: Identifying Steering Column Lower Bearing Retainer And Bolts
    G04708943Courtesy of FORD MOTOR CO.
  10. NOTE: The UP position of the bearing must be facing forward.
    Fig 8: Locating Lower Bearing
    G04708944Courtesy of FORD MOTOR CO.
  11. Install the lower bearing and sleeve.
  12. CAUTION: Install the steering column bearing so that the inner race is visible when installed.
    NOTE: Use an appropriate bearing installer or socket.
    Fig 9: Installing Bearing In Lock Cylinder Housing
    G04708945Courtesy of FORD MOTOR CO.
    Fig 10: Installing Bearing In Lock Cylinder Housing
    G03884958Courtesy of FORD MOTOR CO.
  13. Install the bearing in the lock cylinder housing.
  14. CAUTION: Install the steering column bearing so that the inner race is visible when installed.
    NOTE: Use an appropriate bearing installer or socket.
    Fig 11: Installing Bearing In Lock Cylinder Housing
    G04708947Courtesy of FORD MOTOR CO.
    Fig 12: Installing Large Steering Column Bearing
    G03884960Courtesy of FORD MOTOR CO.
  15. Install the bearing in the lock cylinder housing.
  16. Position the shaft in the steering column lock cylinder housing.
    • Install the bearing tolerance ring on the steering column shaft.
    Fig 13: Identifying Steering Column Bearing Tolerance Ring
    G03919720Courtesy of FORD MOTOR CO.
  17. Install the bearing sleeve.
    Fig 14: Locating Steering Column Bearing Sleeve
    G04708925Courtesy of FORD MOTOR CO.
  18. Install the upper bearing spring.
    Fig 15: Locating Steering Column Bearing Spring
    G03884924Courtesy of FORD MOTOR CO.
  19. Install the snap ring.
    Fig 16: Locating Snap Ring
    G03884923Courtesy of FORD MOTOR CO.
  20. Install the tilt pivot screws loosely and position the actuator housing in a vise.
    • Lubricate the pivot screws with premium long-life grease.
    Fig 17: Identifying Lock Cylinder Housing Screws
    G03884965Courtesy of FORD MOTOR CO.
  21. Place 2 nuts or spacers to hold the lock levers away from the actuator housing.
    Fig 18: Locating Nuts/Spacers
    G04708954Courtesy of FORD MOTOR CO.
  22. NOTE: Lubricate the lock cylinder housing pivot bushings with premium long-life grease.
    Fig 19: Locating Nut
    G04708955Courtesy of FORD MOTOR CO.
  23. Install the lock cylinder housing.
    • Position the lock cylinder housing and the shaft assembly on the actuator housing.
    • Make sure the upper and lower lock actuators are aligned.
    • Install and compress the steering column position spring.
    • Align the lock cylinder housing bushings with the pivot screws.
      • Tighten to 27 Nm (17 lb-ft).
    • Using a long thin screwdriver, remove the nuts installed under the lock levers.
  24. Install the bearing tolerance ring.
    Fig 20: Locating Bearing Tolerance Ring
    G03919636Courtesy of FORD MOTOR CO.
  25. Install the sensor ring.
    1. Install the sensor ring.
    2. Install the lower bearing spring.
    Fig 21: Identifying Sensor Ring And Steering Column Lower Bearing Spring
    G04708957Courtesy of FORD MOTOR CO.
  26. Install the ignition switch.
    1. Align the ignition switch with the slot and index-mark on the actuator housing.
    2. Install the 2 screws and tighten to 6 Nm (54 lb-in).
    Fig 22: Identifying Ignition Switch And Screws
    G04708958Courtesy of FORD MOTOR CO.
  27. NOTE: The narrow section of the keyhole in the lock gear should be in the 1 o'clock position.
    Fig 23: Locating Lock Gear
    G03919633Courtesy of FORD MOTOR CO.
  28. Install the lock gear.
    • Use premium long-life grease to coat the lock gear.
  29. Install the lock housing bearing.
    • The narrow section of the keyhole should be in the 1 o'clock position, with the tab inboard at the 3 o'clock position and rotate it counterclockwise.
    • Lubricate the lock housing bearing with premium long-life grease.
    Fig 24: Installing Lock Housing Bearing
    G04708960Courtesy of FORD MOTOR CO.
  30. Install the upper bearing retainer firmly to engage the 4 retention tabs into the lock housing.
    Fig 25: Locating Bearing Retainer
    G03919631Courtesy of FORD MOTOR CO.
  31. Install the turn indicator cancel cam.
    Fig 26: Locating Turn Indicator Cancel Cam
    G04708962Courtesy of FORD MOTOR CO.
  32. Install the clockspring. For additional information, refer to SUPPLEMENTAL RESTRAINT SYSTEM .
  33. WARNING: To reduce the risk of serious personal injury, read and follow all warnings, notes and instructions in the steering column removal and installation procedure.
  34. Install the steering column. For additional information, refer to STEERING COLUMN  in this article.