LEMON Manuals: Even more car manuals for everyone: 1960-2025
Home >> Ford >> 2006 >> Taurus SE, 3.0 2 >> Repair and Diagnosis >> Transmission >> Automatic Trans >> Automatic Transmission >> Assembly >> Transaxle
April 5, 2026: LEMON Manuals is launched! Read the announcement.

Automatic Transmission: Assembly: Transaxle

SPECIAL TOOL CHART

G04710315Courtesy of FORD MOTOR CO.
Dial Indicator Gauge With Holding Fixture 100-002 (TOOL-4201-C)
G04710316Courtesy of FORD MOTOR CO.
Step Plate 205-D014 (D80L-630-3)
G04710317Courtesy of FORD MOTOR CO.
Installer, Steering Gear Pinion Bearing 211-161 (T90C-3504-DH)
G04710318Courtesy of FORD MOTOR CO.
Depth Micrometer 303-D075 (D92P-4201-A)
G04710319Courtesy of FORD MOTOR CO.
Retaining Ring Pliers 307-343 (T95P-77001-AHR)
G04710320Courtesy of FORD MOTOR CO.
Handle, Torque Converter 307-091 (T81P-7902-C)
G04710321Courtesy of FORD MOTOR CO.
Test Plate Screw Set, Transmission 307-126 (T82P-7006-C)
G04710322Courtesy of FORD MOTOR CO.
Air Test Plate, Transmission 307-312 (T94P-77001-EH)
G04710323Courtesy of FORD MOTOR CO.
Gasket, Transmission Air Test Plate 307-313 (T94P-77001-EH1)
G04710324Courtesy of FORD MOTOR CO.
Installer, Halfshaft Output Fluid Seal 307-157 (T86P-1177-B)
G04710325Courtesy of FORD MOTOR CO.
Gauge, Servo Rod 307-162 (T86P-70023-B)
G04710326Courtesy of FORD MOTOR CO.
Holding Fixture Transmission 307-003 (T57L-500-B)
G04710327Courtesy of FORD MOTOR CO.
Lifting Fixture, Clutch Pack 307-171 (T86P-70389-A)
G04710328Courtesy of FORD MOTOR CO.
Installer, Torque Converter Fluid Seal 307-186 (T87L-77837-AH)
G04710329Courtesy of FORD MOTOR CO.
End Play Gauge 307-187 (T87P-70014-AH)
G04710330Courtesy of FORD MOTOR CO.
Remover/Installer, Servo Piston 307-251 (T92P-70023-A)
G04710331Courtesy of FORD MOTOR CO.
Shim Selection Gauge Bar 307-300 (T94P-77000-Q)
G04710332Courtesy of FORD MOTOR CO.
Remover, Reverse Clutch/Planet 307-314 (T94P-77001-FH)
G04710333Courtesy of FORD MOTOR CO.
Remover/Installer, Front Clutch 307-316 (T94P-77001-HH)
G04710334Courtesy of FORD MOTOR CO.
Aligner, Output Shaft Fluid Seal 307-317 (T94P-77001-JH)
G04710335Courtesy of FORD MOTOR CO.
Shim Selection Gauge 307-320 (T94P-77001-MH)
G04710336Courtesy of FORD MOTOR CO.
Shim Depth Gauge 307-321 (T94P-77001-NH)
G04710337Courtesy of FORD MOTOR CO.
Alignment Gauge, TR Sensor 307-351 (T97L-70010-A)
G04710338Courtesy of FORD MOTOR CO.
Remover/Installer Bearing Tube 308-025 (T75L-7025-C)
G04710339Courtesy of FORD MOTOR CO.
Remover, Bearing Collet Sleeve 308-049 (T77F-7025-C)
Fig 1: Exploded View Of Transaxle Components (1 Of 4)
G04710340Courtesy of FORD MOTOR CO.
Fig 2: Exploded View Of Transaxle Components (2 Of 4)
G04710341Courtesy of FORD MOTOR CO.
Fig 3: Exploded View Of Transaxle Components (3 Of 4)
G04710342Courtesy of FORD MOTOR CO.
Fig 4: Exploded View Of Transaxle Components (4 Of 4)
G04710343Courtesy of FORD MOTOR CO.
Fig 5: Transaxle Reference Table (1 Of 6)
G04710344Courtesy of FORD MOTOR CO.
Fig 6: Transaxle Reference Table (2 Of 6)
G04710345Courtesy of FORD MOTOR CO.
Fig 7: Transaxle Reference Table (3 Of 6)
G04710346Courtesy of FORD MOTOR CO.
Fig 8: Transaxle Reference Table (4 Of 6)
G04710347Courtesy of FORD MOTOR CO.
Fig 9: Transaxle Reference Table (5 Of 6)
G04710348Courtesy of FORD MOTOR CO.
Fig 10: Transaxle Reference Table (6 Of 6)
G04710349Courtesy of FORD MOTOR CO.
  1. Install the parking pawl assembly.
    1. Install the parking pawl and return spring.
    2. Install the parking pawl shaft.
    Fig 11: Identifying Parking Pawl, Return Spring And Parking Pawl Shaft
    G04710350Courtesy of FORD MOTOR CO.
  2. Install the park pawl roll pin.
    Fig 12: Installing Park Pawl Roll Pin
    G04710351Courtesy of FORD MOTOR CO.
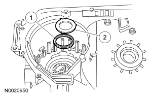
  3. Using the special tool, install the cup plug.
    Fig 13: Installing Cup Plug
    G04710352Courtesy of FORD MOTOR CO.
  4. NOTE: The bolt holes are offset and the drive sprocket can only be aligned one way.
    Fig 14: Installing Stator Support
    G04710353Courtesy of FORD MOTOR CO.
  5. Install the stator support.
  6. Install the stator support bolts.
    • Tighten to 13 Nm (10 lb-ft).
    Fig 15: Locating Stator Support Bolts
    G04710354Courtesy of FORD MOTOR CO.
  7. Using the special tool, install the converter impeller hub seal.
    Fig 16: Installing Converter Impeller Hub Seal
    G04710355Courtesy of FORD MOTOR CO.
  8. Install the differential carrier thrust bearing.
    1. Install the differential carrier thrust washer.
    2. Install the differential carrier thrust bearing and race (tabs down).
    Fig 17: Identifying Differential Carrier Thrust Bearing And Race
    G04710356Courtesy of FORD MOTOR CO.
  9. Install the final drive ring gear.
    Fig 18: Locating Final Drive Ring Gear
    G04710357Courtesy of FORD MOTOR CO.
  10. Install the rear planet support spacer.
    Fig 19: Locating Rear Planet Support Spacer
    G04710358Courtesy of FORD MOTOR CO.
  11. Install the final drive differential assembly.
    Fig 20: Locating Final Drive Differential Assembly
    G04710359Courtesy of FORD MOTOR CO.
  12. Align the rear lube tube holes in the case window.
    Fig 21: Locating Rear Lube Tube Holes
    G04710360Courtesy of FORD MOTOR CO.
  13. NOTE: The retaining ring must be correctly installed.
    Fig 22: Removing Beveled Retaining Ring Using Special Tool (307-343) (1 Of 2)
    G04710361Courtesy of FORD MOTOR CO.
    Fig 23: Removing Beveled Retaining Ring Using Special Tool (307-343) (2 Of 2)
    G04710362Courtesy of FORD MOTOR CO.
  14. Using the special tool, install the beveled retaining ring.
  15. CAUTION: If the support is not visible on the inside diameter of the retaining ring, the low/intermediate piston could be damaged.
    Fig 24: Identifying Retaining Ring
    G04710363Courtesy of FORD MOTOR CO.
  16. Make sure that the beveled retaining ring seats correctly in the case groove with the bevel down. The final drive support must be visible on the inside diameter of the retaining ring but must not seat against the case wall.
  17. Place a screwdriver into the differential case and pry up to make sure that the retaining ring is fully seated in the top of the case groove.
    Fig 25: Locating Screwdriver Into Differential Case
    G04710364Courtesy of FORD MOTOR CO.
  18. Install the special tools.
    Fig 26: Identifying Special Tool (307-187) And (205-D014)
    G04710365Courtesy of FORD MOTOR CO.
  19. Remove the No. 15 needle bearing.
    Fig 27: Locating Thrust Bearing
    G04710366Courtesy of FORD MOTOR CO.
  20. NOTE: The dial indicator extension rod must set on the No. 15 bearing surface.
    Fig 28: Identifying Special Tool (307-300) And (307-321)
    G04710367Courtesy of FORD MOTOR CO.
  21. Install the special tools.
  22. Install the special tool and zero the dial indicator.
    Fig 29: Identifying Special Tool (307-300), (100-002) And (307-321)
    G04710368Courtesy of FORD MOTOR CO.
  23. Tighten the special tool bolt.
    • Tighten to 1.13-1.7 Nm (10-15 lb-in).
    Fig 30: Identifying Special Tool (307-187)
    G04710369Courtesy of FORD MOTOR CO.
  24. Read and record the dial indicator reading. If the dial indicator reading indicates movement more than the specification, the next larger beveled ring retainer will need to be used.
    Fig 31: Identifying Special Tool (307-300), (100-002) And (307-321)
    G04710370Courtesy of FORD MOTOR CO.
  25. Select the correct beveled retaining ring.
    RETAINING RING SPECIFICATION

    Item Part Number Thickness Style
    1 F5DZ-TD483-E 1.48-1.63 mm (0.058-0.064 in) Style 5
    2 F5DZ-TD483-D 1.54-1.68 mm (0.061-0.067 in) Style 4
    3 F5DZ-TD483-C 1.60-1.75 mm (0.063-0.069 in) Style 3
    4 F5DZ-TD483-B 1.66-1.81 mm (0.065-0.071 in) Style 2
    5 F5DZ-TD483-A 1.72-1.87 mm (0.068-0.074 in) Style 1
    Fig 32: Identifying Retaining Rings
    G04710371Courtesy of FORD MOTOR CO.
  26. NOTE: Make sure the No. 15 needle bearing is on the rear planet support hub and the black plastic No. 15 thrust washer is in place on top of the low/intermediate clutch spring retainer.
    Fig 33: Locating Thrust Bearing
    G04710372Courtesy of FORD MOTOR CO.
  27. Install the No. 15 thrust bearing.
  28. Check the clearance for the No.16 thrust washer. Mount the special tool with the stylus on the end of the output shaft. Zero the dial indicator.
    Fig 34: Mounting Special Tool With The Stylus On End Of Output Shaft
    G04710373Courtesy of FORD MOTOR CO.
  29. Tighten the special tool bolt. Read and record the dial indicator reading.
    • Tighten to 1.13-1.7 Nm (10-15 lb-in).
    Fig 35: Tightening Special Tool (307-187)
    G04710374Courtesy of FORD MOTOR CO.
  30. NOTE: The beveled retaining ring and the rear planet support must be removed to change the No. 16 thrust race.
    Fig 36: Identifying Special Tool (100-002)
    G04710375Courtesy of FORD MOTOR CO.
  31. If the clearance is not within specification a thicker or thinner washer will need to be added.

    No. 16 Thrust Race (Washer) 

    NO. 16 THRUST RACE (WASHER)

    Thickness ID
    2.25-2.15 mm Green (No. 1)
    2.37-2.27 mm Blue (No. 2)
    2.49-2.39 mm Black (No. 3)
    2.61-2.51 mm White (No. 4)
    2.73-2.63 mm Brown (No. 5)
    2.85-2.75 mm Gold (No. 6)
  32. Install the low-intermediate one-way clutch assembly.
    Fig 37: Identifying Low-Intermediate One-Way Clutch Assembly
    G04710376Courtesy of FORD MOTOR CO.
  33. NOTE: The friction plate internal splines will center the one-way clutch.
    Fig 38: Identifying Low-Intermediate Clutch Pressure Plates
    G04710377Courtesy of FORD MOTOR CO.
  34. Install the low-intermediate clutch pressure plate.
    1. Install the low-intermediate clutch wave spring.
    2. Install the low-intermediate clutch pack.
    3. Install the low-intermediate clutch pressure plate.
  35. CAUTION: Make sure that the retaining ring is seated in the case groove.
    Fig 39: Locating Low-Intermediate Clutch Retaining Ring
    G04710378Courtesy of FORD MOTOR CO.
  36. Install the low-intermediate clutch retaining ring.
  37. WARNING: To prevent injury, wear eye protection when using pressurized air.
    NOTE: Be sure the pressurized air is dry and regulated at 276 kPa (40 psi).
    Fig 40: Applying Air Pressure To Low-Intermediate Apply Port
    G04710379Courtesy of FORD MOTOR CO.
  38. Apply regulated air pressure to the low-intermediate apply port. Make sure that the piston moves and no air is leaking past the piston seal.
  39. Measure the clearance between the clutch pressure plate and the low-intermediate clutch retainer. If the clearance is not within specification a thicker or thinner retainer may be needed.
    SELECTIVE RETAINING RINGS

    Thickness
    1.54-1.64 mm (0.061-0.065 in)
    2.08-2.18 mm (0.082-0.086 in)
    2.62-2.72 mm (0.103-0.107 in)
    3.16-3.26 mm (0.125-0.128 in)
    3.68-3.78 mm (0.145-0.149 in)
    Fig 41: Measuring Clearance Between Clutch Pressure Plate And Low-Intermediate Clutch Retainer
    G04710380Courtesy of FORD MOTOR CO.
  40. Install the coast band.
    1. Install the coast band.
    2. Align the anchor pin pocket with the anchor pin in the case.
    Fig 42: Identifying Anchor Pin Pocket And Anchor Pin
    G04710381Courtesy of FORD MOTOR CO.
  41. Install the low-intermediate drum. Rotate the low-intermediate drum and sun gear into the low-intermediate one-way clutch.
    Fig 43: Installing Low-Intermediate Drum
    G04710382Courtesy of FORD MOTOR CO.
  42. Install the park rod abutment and make sure that the park pawl moves freely.
    • Tighten to 28 Nm (21 lb-ft).
    Fig 44: Locating Park Pawl Abutment Bolts
    G04710383Courtesy of FORD MOTOR CO.
  43. Install the coast band piston cover.
    1. Install the coast band servo piston spring.
    2. Install the coast band servo piston.
    3. Install the coast band servo piston cover.
    Fig 45: Identifying Coast Band Piston Cover
    G04710384Courtesy of FORD MOTOR CO.
  44. Using the special tool, install the coast servo cover retaining ring.
    Fig 46: Installing Coast Servo Cover Retaining Ring Using Special Tool (307-251)
    G04710385Courtesy of FORD MOTOR CO.
  45. Using the special tools, install the front planetary/reverse clutch assembly.
    Fig 47: Installing Front Planetary/Reverse Clutch Assembly Using Special Tool (307-025), (307-314) And (308-049)
    G04710386Courtesy of FORD MOTOR CO.
  46. Make sure that the reverse clutch cylinder apply tube hole is aligned with the case hole. Remove the tool.
    Fig 48: Locating Reverse Clutch Cylinder Apply Tube Hole
    G04710387Courtesy of FORD MOTOR CO.
  47. Loosely install the reverse clutch anchor pin.
    Fig 49: Locating Reverse Clutch Anchor Pin
    G04710388Courtesy of FORD MOTOR CO.
  48. Using the special tool, install the forward/intermediate clutch assembly. Align the shell and sun gear into the front planet.
    Fig 50: Installing Forward/Intermediate Clutch Assembly Using Special Tool (307-316) And (307-171)
    G04710389Courtesy of FORD MOTOR CO.
  49. Install the overdrive band.
    Fig 51: Locating Overdrive Band
    G04710390Courtesy of FORD MOTOR CO.
  50. NOTE: The foot of the overdrive retainer fits against the band.
    Fig 52: Locating Overdrive Band Anchor Strut
    G04710391Courtesy of FORD MOTOR CO.
  51. Install the overdrive band anchor strut with the cross hairs facing upward.
  52. Remove the No. 8 sprocket thrust washer and the No. 9 bearing and race from the driven sprocket support.
    1. Remove the No. 9 bearing and race.
    2. Remove the No. 8 sprocket support.
    Fig 53: Identifying Bearing And Race
    G04710392Courtesy of FORD MOTOR CO.
  53. Install only the No. 9 needle bearing with the outer lip upward.
    Fig 54: Locating Needle Bearing
    G04710393Courtesy of FORD MOTOR CO.
  54. Install the special tool over the output shaft until it is fully seated on to the No. 9 needle bearing.
    Fig 55: Identifying Special Tool (307-320)
    G04710394Courtesy of FORD MOTOR CO.
  55. Install the special tool to make the measurements.
    Fig 56: Identifying Special Tool (307-300), (303-D075) And (307-320)
    G04710395Courtesy of FORD MOTOR CO.
  56. When taking the measurement, record readings on both sides of the output shaft 180 degrees apart from each other. Add both readings and divide by 2 to obtain reading A.
    Fig 57: Taking Measurements Using Special Tool (307-300), (303-D075) And (307-320)
    G04710396Courtesy of FORD MOTOR CO.
  57. NOTE: Reading A and Dimension C from the chart will be used in the selection of the No. 5 thrust washer.
  58. Use reading A to select the correct No. 8 thrust washer from the chart.
    NO. 8 THRUST WASHER SELECTION CHART

    Reading A Washer Thickness Dimension C Color/ID
    42.88-43.10 mm (1.688-1.696 in) 1.43-1.53 mm (0.056-0.060 in) 1.48 mm (0.058 in) Natural (No. 1)
    43.11-43.34 mm (1.697-1.706 in) 1.68-1.78 mm (0.066-0.070 in) 1.73 mm (0.068 in) Dark Green (No. 2)
    43.35-43.59 mm (1.707-1.716 in) 1.92-2.02 mm (0.075-0.080 in) 1.97 mm (0.077 in) Light Blue (No. 3)
    43.60-43.77 mm (1.717-1.723 in) 2.17-2.27 mm (0.085-0.089 in) 2.22 mm (0.087 in) Red (No. 4)
    43.78-43.98 mm (1.724-1.731 in) 2.35-2.45 mm (0.093-0.096 in) 2.40 mm (0.094 in) Black (No. 5)
  59. Remove the special tools.
    Fig 58: Identifying Special Tool (307-300), (303-D075) And (307-320)
    G04710397Courtesy of FORD MOTOR CO.
  60. Install the special tools to take the measurements.
    Fig 59: Identifying Special Tool (307-300) And (303-D075)
    G04710398Courtesy of FORD MOTOR CO.
  61. Measure down to the No. 5 thrust washer mating surface of the overdrive drum. Take another reading on the other side of the drum 180 degrees from the first one. Add both readings and divide by 2 to obtain reading B.
    Fig 60: Taking Measurements Using Special Tool (307-300) And (303-D075)
    G04710399Courtesy of FORD MOTOR CO.
  62. Remove the special tools.
    Fig 61: Identifying Special Tool (307-300) And (303-D075)
    G04710400Courtesy of FORD MOTOR CO.
  63. NOTE: Reading A was obtained during No. 8 thrust washer selection. Dimension C is found on the No. 8 thrust washer selection chart.
  64. Subtract reading A from Reading B and add the difference between A and B to dimension C. Record this reading as D.
    DIMENSION CHART

    Reading B:__________
    - Reading A:__________
    Difference:__________
    +Dimension C:__________
    Reading D:__________
  65. Use Reading D to select the correct No. 5 thrust washer.
    No. 5 SUPPORT THRUST WASHER CHART

    Reading D Washer Thickness Color/ID
    26.08-26.37 mm (1.027-1.038 in) 2.18-2.28 mm (0.086-0.090 in) Green (No. 1)
    26.38-26.61 mm (1.039-1.047 in) 2.43-2.53 mm (0.096-0.100 in) Black (No. 2)
    26.62-26.86 mm (1.048-1.057 in) 2.67-2.77 mm (0.105-0.109 in) Natural (No. 3)
    26.87-27.15 mm (1.058-1.068 in) 2.92-3.02 mm (0.115-0.119 in) Red (No. 4)
    27.16-27.50 mm (1.069-1.083 in) 3.26-3.36 mm (0.128-0.132 in) Blue (No. 5)
  66. NOTE: Use petroleum jelly to hold the No. 5 thrust washer in place.
    Fig 62: Locating Front Support Thrust Washer
    G04710401Courtesy of FORD MOTOR CO.
  67. Install the No. 5 front support thrust washer.
  68. CAUTION: The No. 9 direct hub needle bearing may still be inside the transaxle from the No. 8 driven sprocket support thrust washer selection procedure. Use petroleum jelly to hold bearing and washer in place.
    Fig 63: Identifying Direct Clutch Needle Bearing
    G04710402Courtesy of FORD MOTOR CO.
  69. Install the correct bearing.
    1. Install the correct No. 8 driven sprocket support thrust washer.
    2. Install the No. 9 direct clutch needle bearing.
  70. Install the driven sprocket support assembly.
    Fig 64: Installing Driven Sprocket Support Assembly
    G04710403Courtesy of FORD MOTOR CO.
  71. Install the neutral/drive accumulator cover.
    1. Install the neutral/drive accumulator piston.
    2. Install the neutral/drive accumulator spring.
      • The outer spring is yellow in color.
      • The inner spring is grey in color.
    3. Install the neutral/drive accumulator cover.
    Fig 65: Identifying Neutral/Drive Accumulator Spring
    G04710404Courtesy of FORD MOTOR CO.
  72. Install the neutral/drive accumulator bolt.
    • Tighten to 11 Nm (8 lb-ft).
    Fig 66: Locating Neutral/Drive Accumulator Bolt
    G04710405Courtesy of FORD MOTOR CO.
  73. NOTE: All the fluid supply tubes must have new O-rings installed.
    Fig 67: Identifying Fluid Supply Tubes
    G04710406Courtesy of FORD MOTOR CO.
  74. Install the fluid supply tubes.
  75. Install the fluid lube tube brackets and bolts.
    • Tighten to 11 Nm (8 lb-ft).
    Fig 68: Locating Fluid Lube Tube Brackets Bolts
    G04710407Courtesy of FORD MOTOR CO.
  76. Using the special tool, install the manual control lever shaft seal.
    Fig 69: Installing Manual Control Lever Shaft Seal Using Special Tool (211-161)
    G04710408Courtesy of FORD MOTOR CO.
  77. Install the parking lever actuating rod.
    • Push in on the park pawl.
    • Slide the parking lever actuating rod down to fit in the park pawl.
    Fig 70: Installing Parking Lever Actuating Rod
    G04710409Courtesy of FORD MOTOR CO.
  78. NOTE: The manual control valve detent lever must be installed with the shoulder and roll pin hole pointing toward the driven sprocket support.
    Fig 71: Locating Manual Control Lever Shaft
    G04710410Courtesy of FORD MOTOR CO.
  79. Install the manual control lever shaft.
  80. NOTE: Prior to installing the roll pins be sure that the manual control valve detent lever shoulder and roll pin hole is pointing toward the driven sprocket support.
    Fig 72: Locating Roll Pins
    G04710411Courtesy of FORD MOTOR CO.
  81. Install the roll pins.
  82. NOTE: Apply petroleum jelly to the drive sprocket thrust washer and driven sprocket thrust washer to hold them in place.
    Fig 73: Identifying Driven Sprocket Thrust Washer
    G04710412Courtesy of FORD MOTOR CO.
  83. Install the thrust washers.
    1. Install the No. 2 drive sprocket thrust washer.
    2. Install the No. 4 driven sprocket thrust washer.
  84. CAUTION: Be careful not to damage or bend the exciter tabs on the driven sprocket speed sensor wheel. The TSS sensor will not operate correctly if the tabs are bent.
    NOTE: Lower the assembly into the sprocket supports simultaneously.
    Fig 74: Installing Drive Chain And Sprockets
    G04710413Courtesy of FORD MOTOR CO.
  85. Install the drive chain and sprockets.
  86. Install the shift accumulator springs.
    1. Install the 1-2 shift accumulator piston spring (no color or brown).
    2. Install the 2-3 shift accumulator piston spring (no color or brown).
    3. Install the reverse shift accumulator piston spring (pink).
    4. Install the 3-4 shift accumulator piston spring (pink).
    Fig 75: Identifying Shift Accumulator Piston Spring
    G04710414Courtesy of FORD MOTOR CO.
  87. NOTE: Make sure that the alignment pins are installed in the case.
    Fig 76: Locating Chain Cover Gasket
    G04710415Courtesy of FORD MOTOR CO.
  88. Install the new chain cover gasket.
  89. CAUTION: Be extremely careful not to damage the cast iron sealing ring.
    Fig 77: Installing Chain Cover
    G04710416Courtesy of FORD MOTOR CO.
  90. Use petroleum jelly to hold thrust washers in place during assembly.
    1. Install the No. 1 thrust washer.
    2. Install the No. 2 thrust washer.
    3. Install the chain cover.
  91. NOTE: After installing the chain cover the input shaft should have some end play and should rotate freely. Apply gentle downward pressure on the chain cover to overcome spring pressure.
    Fig 78: Locating Chain Cover Bolts
    G04710417Courtesy of FORD MOTOR CO.
  92. Start the 2 chain cover bolts.
  93. Install the remaining bolts.
    1. Tighten to 30 Nm (22 lb-ft).
    2. Tighten to 13 Nm (10 lb-ft).
    3. Tighten to 28 Nm (21 lb-ft).
    4. Tighten to 41 Nm (30 lb-ft).
    Fig 79: Locating Bolts
    G04710418Courtesy of FORD MOTOR CO.
  94. Install the bolts.
    1. Tighten to 13 Nm (10 lb-ft).
    2. Tighten to 30 Nm (22 lb-ft).
    Fig 80: Installing Bolts
    G04710419Courtesy of FORD MOTOR CO.
  95. CAUTION: The test spring from the overdrive servo rod tool is plain in color and has a shorter free height than the operational spring. Extreme care must be used not to assemble the transaxle using the test spring.
    Fig 81: Identifying Spring Height
    G04710420Courtesy of FORD MOTOR CO.
  96. Inspect the spring height.
    1. Test spring.
    2. Original spring.
  97. Check overdrive servo travel. Install the overdrive servo piston.
    1. Install the test spring.
    2. Install the overdrive servo piston.
    Fig 82: Identifying Overdrive Servo Piston
    G04710421Courtesy of FORD MOTOR CO.
  98. Install the special tools.
    • Tighten to 10 Nm (89 lb-in).
    Fig 83: Identifying Special Tool (307-162) And (100-002)
    G04710422Courtesy of FORD MOTOR CO.
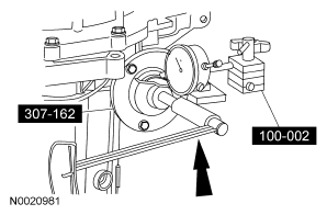
  99. Using the special tools, tighten the center screw and zero out the dial indicator.
    • Tighten to 1.13 Nm (10 lb-in).
    Fig 84: Identifying Special Tool (307-162) And (100-002)
    G04710423Courtesy of FORD MOTOR CO.
  100. Using the special tools, back off the center screw until the piston movement stops and read the dial indicator. The reading should be within specification. If the reading does not match the specification, see the overdrive specification chart and determine which overdrive servo rod to use.
    Fig 85: Identifying Special Tool (307-162) And (100-002)
    G04710424Courtesy of FORD MOTOR CO.
  101. If the overdrive servo travel was incorrect, install a new overdrive servo rod. Zero the dial indicator and repeat the above step to verify the amount of piston travel. If within specification, remove the tool and test spring.
    OVERDRIVE PISTON ROD SELECTION CHART

    Overdrive Servo Rod Length No. of Grooves(1)
    mm Inch
    99.33 3.91 0
    98.05 3.86 1
    96.78 3.81 2
    (1) Grooves are at the tip.
  102. CAUTION: Do not assemble the transaxle using the test spring.
    Fig 86: Identifying Overdrive Servo Cover And Bolts
    G04710425Courtesy of FORD MOTOR CO.
  103. Install the overdrive servo.
    1. Install the overdrive servo spring.
    2. Install the overdrive servo.
    3. Install the overdrive servo cover and bolts.
      • Tighten to 13 Nm (10 lb-ft).
  104. Install the special tools.
    Fig 87: Identifying Special Tool (307-313), (307-312) And (307-126)
    G04710426Courtesy of FORD MOTOR CO.
  105. WARNING: Wear safety glasses while carrying out this procedure to prevent personal injury.
    NOTE: When applying regulated 276 kPa (40 psi) air pressure to the appropriate passage, a dull thud should be heard when the clutch or band applies. There should be no hissing sound when the clutch or band applies.
    NOTE: Plugging the vent hole during the test will provide an inaccurate result.
    Fig 88: Identifying Air Pressure To Appropriate Clutch Ports
    G04710427Courtesy of FORD MOTOR CO.
  106. Cover the vent hole in the test plate with a clean lint free shop towel to prevent spray when air is applied. Apply air pressure to the appropriate clutch ports.
    IDENTIFYING CLUTCH PORTS

    Item Part Number Description
    1 - 1-2 accumulator test passage
    2 - Overdrive servo test passage
    3 - Direct clutch test passage
    4 - Low/intermediate clutch and accumulator test passage
    5 - Coast band test passage
    6 - Reverse clutch test passage
    7 - 3-4 accumulator test passage
    8 - Neutral/reverse accumulator test passage
    9 - Vent hole
    10 - Forward clutch test passage
    11 - Intermediate clutch test passage
    12 - 2-3 accumulator test passage
  107. CAUTION: The seals must be lapped correctly or internal leakage will occur.
    Fig 89: Identifying Seal Ring Mating
    G04710428Courtesy of FORD MOTOR CO.
  108. Install the new Teflon® seals on the pump shaft.
  109. Install the pump shaft.
    Fig 90: Installing Pump Shaft
    G04710429Courtesy of FORD MOTOR CO.
  110. Install the manual valve detent lever.
    Fig 91: Installing Manual Valve Detent Lever
    G04710430Courtesy of FORD MOTOR CO.
  111. Install the main control valve body over the pump shaft and connect the main control valve actuating rod while pushing down until it is seated on the chain cover.
    Fig 92: Installing Main Control Valve Body
    G04710431Courtesy of FORD MOTOR CO.
  112. CAUTION: Do not use the bolts to draw pump assembly and main control valve body onto the chain cover case. Component damage may occur.
    Fig 93: Identifying Main Control Valve Body Bolts
    G04710432Courtesy of FORD MOTOR CO.
  113. Use the valve body guide pins to install the pump assembly and main control valve body. Install the bolts and tighten in sequence shown.
    • Tighten to 13 Nm (10 lb-ft).
  114. Connect the connectors.
    Fig 94: Locating Electrical Connectors
    G04710433Courtesy of FORD MOTOR CO.
  115. NOTE: The transaxle side cover gasket is reusable if not torn or ripped.
    Fig 95: Locating Gasket
    G04710434Courtesy of FORD MOTOR CO.
  116. Remove the gasket. Clean and inspect the gasket, and reinstall into the pan.
  117. Loosely install the 15 transaxle side pan bolts.
    Fig 96: Locating Transaxle Side Pan Bolts
    G04710435Courtesy of FORD MOTOR CO.
  118. Tighten the 4 transaxle side pan bolts.
    • Tighten to 12 Nm (9 lb-ft).
    Fig 97: Locating Transaxle Side Pan Bolts
    G04710436Courtesy of FORD MOTOR CO.
  119. Tighten the 11 transaxle side pan bolts.
    • Tighten to 29 Nm (21 lb-ft).
    Fig 98: Locating Transaxle Side Pan Bolts
    G04710437Courtesy of FORD MOTOR CO.
  120. Install the mount bracket and bolts.
    • Tighten to 62 Nm (46 lb-ft).
    Fig 99: Locating Mount Bracket Bolts
    G04710438Courtesy of FORD MOTOR CO.
  121. Tighten the reverse clutch anchor bolt.
    1. Tighten the anchor bolt to 11 Nm (8 lb-ft).
    2. Tighten the locknut to 54 Nm (40 lb-ft).
    Fig 100: Identifying Reverse Clutch Anchor Bolt
    G04710439Courtesy of FORD MOTOR CO.
  122. Install the new seal and gasket kit and seal assembly.
    Fig 101: Locating Gasket Kit And Seal Assembly
    G04710440Courtesy of FORD MOTOR CO.
  123. Install the fluid pan magnet.
    Fig 102: Locating Fluid Pan Magnet
    G04710441Courtesy of FORD MOTOR CO.
  124. NOTE: The gasket is reusable if not damaged or torn.
    Fig 103: Locating Transmission Fluid Pan Bolts
    G04710442Courtesy of FORD MOTOR CO.
  125. Install the transmission fluid pan, gasket and bolts.
    • Tighten to 12 Nm (9 lb-ft).
  126. Install the turbine shaft speed (TSS) sensor.
    • Tighten to 11 Nm (8 lb-ft).
    Fig 104: Locating Turbine Shaft Speed (TSS) Sensor
    G04710443Courtesy of FORD MOTOR CO.
  127. NOTE: Locate and align the orange dot adjacent to the stud on the torque converter and place it in the 6 o'clock position.
  128. Verify that the shift selector lever is in NEUTRAL.
  129. Install the digital TR sensor and loosely install the bolts.
    Fig 105: Locating Digital TR Sensor Bolts
    G04710444Courtesy of FORD MOTOR CO.
  130. Using the special tool, align the digital TR sensor.
    • Tighten to 11 Nm (8 lb-ft).
    Fig 106: Aligning TR Sensor Using Special Tool (307-351)
    G04710445Courtesy of FORD MOTOR CO.
  131. Install the fluid filler tube with a new grommet.
    1. Install the filler tube grommet.
    2. Install the fluid filler tube and bolt.
      • Tighten to 13 Nm (10 lb-ft).
    Fig 107: Installing Fluid Filler Tube
    G04710446Courtesy of FORD MOTOR CO.
  132. Using the special tool, install the LH output shaft seal.
    Fig 108: Installing LH Output Shaft Seal Using Special Tool (307-157) And (307-317)
    G04710447Courtesy of FORD MOTOR CO.
  133. Using the special tool, install the RH output shaft seal.
    Fig 109: Installing RH Output Shaft Seal Using Special Tool (307-157) And (307-317)
    G04710448Courtesy of FORD MOTOR CO.
  134. Install the output shaft speed (OSS) sensor and reconnect the harness.
    Fig 110: Locating Output Shaft Speed (OSS) Sensor
    G04710449Courtesy of FORD MOTOR CO.
  135. Install the OSS sensor cover.
    1. Install the OSS sensor cover.
    2. Install the OSS sensor cover bolt.
      • Tighten to 11 Nm (8 lb-ft).
    3. Connect the OSS sensor electrical connector to the bracket.
    Fig 111: Identifying OSS Sensor Electrical Connector
    G04710450Courtesy of FORD MOTOR CO.
  136. Install the identification tag, if removed.
    Fig 112: Locating Identification Tag
    G04710451Courtesy of FORD MOTOR CO.
  137. NOTE: Locate and align the orange dot adjacent to the stud on the torque converter and place it in the 6 o'clock position.
    Fig 113: Identifying Special Tool (307-091)
    G04710452Courtesy of FORD MOTOR CO.
  138. Using the special tools, install the torque converter.