LEMON Manuals: Even more car manuals for everyone: 1960-2025
Home >> Ford >> 2006 >> Taurus SE, 3.0 2 >> Repair and Diagnosis >> Transmission >> Automatic Trans >> Automatic Transmission >> Disassembly And Assembly Of Subassemblies >> Final Drive >> Assembly
April 5, 2026: LEMON Manuals is launched! Read the announcement.

Final Drive: Assembly

NOTE: If excessive wobble or rotational binding or damage is found, a new final drive planet and carrier will need to be installed.
  1. Inspect the differential pinion and side gears for looseness, discoloration, cracks or excessive gear wear.
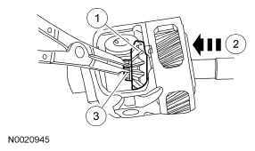
    1. Inspect the final drive planet gears.
    2. Inspect the pinion shaft bores.
    Fig 1: Identifying Pinion Shaft Bore And Final Drive Planet Gears
    G04710294Courtesy of FORD MOTOR CO.
  2. Install the differential side gear and differential side gear thrust washer.
    1. Install the differential side gear and differential side gear thrust washer.
    2. Install the output shaft.
    3. Install the retaining ring.
    Fig 2: Identifying Output Shaft And Retaining Ring
    G04710295Courtesy of FORD MOTOR CO.
  3. Install the differential side gear and differential side gear thrust washer.
    Fig 3: Locating Differential Side Gear And Differential Side Gear Thrust Washer
    G04710296Courtesy of FORD MOTOR CO.
  4. Install the differential pinion gears and differential pinion thrust washers.
    Fig 4: Locating Differential Pinion Gears
    G04710297Courtesy of FORD MOTOR CO.
  5. Install the differential pinion shaft.
    Fig 5: Installing Differential Pinion Shaft
    G04710298Courtesy of FORD MOTOR CO.
  6. Install the differential pinion shaft roll pin.
    Fig 6: Installing Differential Pinion Shaft Roll Pin
    G04710299Courtesy of FORD MOTOR CO.
  7. Install the final drive sun gear and deflector assembly.
    Fig 7: Locating Final Drive Sun Gear And Deflector
    G04710300Courtesy of FORD MOTOR CO.
  8. Install the park gear.
    Fig 8: Locating Park Gear
    G04710301Courtesy of FORD MOTOR CO.
  9. Install the No. 16 final drive gear front thrust bearing.
    Fig 9: Locating Final Drive Gear Front Thrust Bearing
    G04710302Courtesy of FORD MOTOR CO.
  10. Install new retaining circle clips.
    Fig 10: Locating Retaining Circle Clips
    G04710303Courtesy of FORD MOTOR CO.
  11. Install the low intermediate clutch piston and rear planet support.
    Fig 11: Locating Low Intermediate Clutch Piston
    G04710304Courtesy of FORD MOTOR CO.