LEMON Manuals: Even more car manuals for everyone: 1960-2025
Home >> Ford >> 2006 >> Taurus SE, 3.0 U >> Repair and Diagnosis >> Steering >> Steering Column >> Disassembly And Assembly >> Steering Column - Column Shift >> Disassembly
April 5, 2026: LEMON Manuals is launched! Read the announcement.

Steering Column - Column Shift: Disassembly

    WARNING: To reduce the risk of serious personal injury, read and follow all warnings, notes and instructions in the steering column removal and installation procedure.
  1. Remove the steering column. For additional information, refer to STEERING COLUMN  in this article.
  2. Remove the clockspring. For additional information, refer to SUPPLEMENTAL RESTRAINT SYSTEM .
  3. Remove the multifunction switch screws and switch.
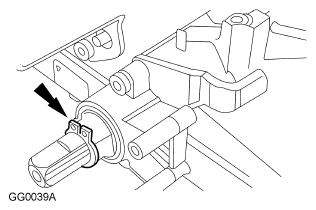
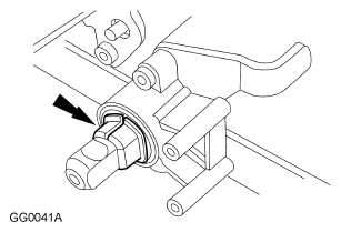
  4. Unclip the steering column opening gearshift lever seal from the steering column.
    Fig 1: Removing Steering Column Opening Gearshift Lever Seal From Steering Column
    G04708847Courtesy of FORD MOTOR CO.
  5. Remove the gearshift lever retaining pin and remove the gearshift lever assembly.
    Fig 2: Removing Gearshift Lever Retaining Pin And Gearshift Lever Assembly
    G04708848Courtesy of FORD MOTOR CO.
  6. CAUTION: Carefully note the position of the steering column lock gear, bearing and retainer prior to removal.
    Fig 3: Locating Bearing Retainer
    G03884915Courtesy of FORD MOTOR CO.
  7. Remove the snap ring.
  8. Remove the steering column lock housing bearing.
    Fig 4: Locating Steering Column Lock Housing Bearing
    G04708850Courtesy of FORD MOTOR CO.
  9. Remove the steering column lock gear.
    Fig 5: Identifying Steering Column Lock Gear
    G03913537Courtesy of FORD MOTOR CO.
  10. On a fixed steering column, remove the snap ring from the bottom of the steering column shaft.
    Fig 6: Locating Snap Ring
    G04708852Courtesy of FORD MOTOR CO.
  11. On a tilt steering column, remove the sensor ring.
    1. Remove the steering column lower bearing spring.
    2. Remove the sensor ring.
    Fig 7: Identifying Lower Bearing Spring And Sensor Ring
    G04708853Courtesy of FORD MOTOR CO.
  12. Remove the steering column bearing tolerance ring from the steering column shaft.
    Fig 8: Locating Steering Column Bearing Tolerance Ring
    G04708854Courtesy of FORD MOTOR CO.
  13. Remove the 2 lock cylinder housing pivot screws.
    Fig 9: Locating Lock Cylinder Housing Pivot Screws
    G03905151Courtesy of FORD MOTOR CO.
  14. WARNING: The steering column position spring is under tension and can come out with great force. Failure to follow these instructions may result in personal injury.
    Fig 10: Identifying Shop Fabricated Tool & Steering Column Position Spring
    G04309597Courtesy of FORD MOTOR CO.
  15. Remove the steering column lock cylinder housing and the steering column shaft from the steering actuator housing.
    1. Pry up on the steering column locking levers using a shop fabricated tool.
    2. On tilt steering columns, remove the steering column position spring.
  16. Using a flat-blade screwdriver, pry up on the flush surface of the turn indicator cancel cam and remove.
    Fig 11: Prying Up On Flush Surface Of Turn Indicator Cancel Cam
    G04708857Courtesy of FORD MOTOR CO.
  17. Remove the snap ring.
    Fig 12: Locating Snap Ring
    G03884923Courtesy of FORD MOTOR CO.
  18. Remove the steering column upper bearing spring.
    Fig 13: Locating Steering Column Bearing Spring
    G03884924Courtesy of FORD MOTOR CO.
  19. Remove the steering column bearing sleeve.
    Fig 14: Locating Steering Column Bearing Sleeve
    G04708925Courtesy of FORD MOTOR CO.
  20. Remove the steering column bearing tolerance ring.
    1. Slide the steering column shaft in toward the steering column lock cylinder housing.
    2. Slide the steering column bearing tolerance ring from the steering column shaft and remove the shaft.
    Fig 15: Identifying Steering Column Shaft And Steering Column Bearing Tolerance Ring
    G04708861Courtesy of FORD MOTOR CO.
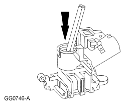
  21. Using a punch, remove the steering column upper bearing from the steering column lock cylinder housing.
    Fig 16: Removing Steering Column Bearing From Steering Column Lock Cylinder Housing
    G03913551Courtesy of FORD MOTOR CO.
  22. On a tilt steering column, use a punch to remove the steering column lower bearing from the steering column lock cylinder housing.
    Fig 17: Removing Steering Column Lower Bearing From Steering Column Lock Cylinder Housing Using Punch
    G04708863Courtesy of FORD MOTOR CO.
  23. Remove the 2 screws and remove the plastic harness retainer.
    Fig 18: Locating Plastic Harness Retainer Screws
    G04708864Courtesy of FORD MOTOR CO.
  24. Remove the brake shift interlock solenoid and the transmission shift position insert.
    1. Remove the 3 bolts.
    2. Remove the brake shift interlock solenoid and the transmission shift position insert.
    Fig 19: Identifying Bolts And Brake Shift Interlock Solenoid
    G04708865Courtesy of FORD MOTOR CO.
  25. Remove the shift tube.
    1. Remove the 4 bolts.
    2. Remove the 2 shift tube clamps.
    3. Remove the shift tube.
    Fig 20: Identifying Bolts, Shift Tube Clamps And Shift Tube
    G04708866Courtesy of FORD MOTOR CO.
  26. Remove the transmission shift arm assembly.
    1. Remove the 2 bolts.
    2. Remove the transmission shift arm assembly.
    Fig 21: Identifying Bolts And Transmission Shift Arm Assembly
    G04708867Courtesy of FORD MOTOR CO.
  27. Remove the spring.
    Fig 22: Locating Gearshift Selector Tube Spring
    G03884933Courtesy of FORD MOTOR CO.
  28. Drive out the gearshift lever pin from the shift tube.
    Fig 23: Locating Gearshift Lever Pin
    G03913574Courtesy of FORD MOTOR CO.
  29. Remove the gearshift lever.
    Fig 24: Locating Gearshift Lever
    G03884935Courtesy of FORD MOTOR CO.
  30. Remove the column shift selector lever plunger.
    • If it is bent, replace the column shift selector lever plunger.
    Fig 25: Identifying Column Shift Selector Lever Plunger
    G03913572Courtesy of FORD MOTOR CO.
  31. Remove the 2 gearshift lever socket bushings and the transmission control selector lever spring clip.
    Fig 26: Identifying Gearshift Lever Socket Bushings & Transmission Control Selector Lever Spring Clip
    G04611037Courtesy of FORD MOTOR CO.
  32. Remove the steering column lock pawl.
    1. Drive out the steering column lock lever pin.
    2. Remove the steering column lock pawl.
    Fig 27: Removing Steering Column Lock Pawl
    G04708873Courtesy of FORD MOTOR CO.
  33. Remove the ignition switch.
    1. Remove the 2 screws.
    2. Remove the ignition switch.
    Fig 28: Identifying Screws And Ignition Switch
    G04708874Courtesy of FORD MOTOR CO.
  34. Remove the steering column lower bearing and sleeve.
    Fig 29: Locating Steering Column Lower Bearing
    G04708875Courtesy of FORD MOTOR CO.
  35. Remove the steering column lower bearing retainer.
    1. Remove the bolts.
    2. Remove the steering column lower bearing retainer.
    Fig 30: Identifying Bolts And Lower Bearing Retainer
    G04708876Courtesy of FORD MOTOR CO.
  36. Remove the steering column upper and lower lock actuators.
Fig 31: Locating Steering Column Upper & Lower Lock Actuators
G03884942Courtesy of FORD MOTOR CO.