LEMON Manuals: Even more car manuals for everyone: 1960-2025
Home >> Ford >> 2006 >> Taurus SEL, 3.0 2 >> Repair and Diagnosis >> Transmission >> Automatic Trans >> Automatic Transmission >> Disassembly >> Transaxle
April 5, 2026: LEMON Manuals is launched! Read the announcement.

Automatic Transmission: Disassembly: Transaxle

SPECIAL TOOL CHART

G04709963Courtesy of FORD MOTOR CO.
Slide Hammer 100-001 (T50T-100-A)
G04709964Courtesy of FORD MOTOR CO.
Remover, O-Ring Seal 100-010 (T71P-19703-C)
G04709965Courtesy of FORD MOTOR CO.
Step Plate 205-D014 (D80L-630-3)
G04709966Courtesy of FORD MOTOR CO.
Remover, Crankshaft Front Oil Seal 303-107 (T74P-6700-A)
G04709967Courtesy of FORD MOTOR CO.
Installer Front Cover Oil Seal 303-335 (T88T-6701-A)
G04709968Courtesy of FORD MOTOR CO.
Actuator Pin 3/16-Inch Diameter 303-D011 (D80L-100-G)
G04709969Courtesy of FORD MOTOR CO.
Collet 7/16-Inch - 1/2-Inch 303-D016 (D80L-100-M)
G04709970Courtesy of FORD MOTOR CO.
Holding Fixture Transmission 307-003 (T57L-500-B)
G04709971Courtesy of FORD MOTOR CO.
Slide Hammer 307-005 (T59L-100-B)
G04709972Courtesy of FORD MOTOR CO.
Handle, Torque Converter 307-091 (T81P-7902-C)
G04709973Courtesy of FORD MOTOR CO.
Lifting Fixture, Clutch Pack 307-171 (T86P-70389-A)
G04709974Courtesy of FORD MOTOR CO.
Remover/Installer, Servo Piston 307-251 (T92P-70023-A)
G04709975Courtesy of FORD MOTOR CO.
Remover, Torque Converter Fluid Seal 307-309 (T94P-77001-BH)
G04709976Courtesy of FORD MOTOR CO.
Remover, Lube Tube 307-310 (T94P-77001-CH)
G04709977Courtesy of FORD MOTOR CO.
Remover/Installer, Front Clutch 307-316 (T94P-77001-HH)
G04709978Courtesy of FORD MOTOR CO.
Retaining Ring Pliers 307-343 (T95P-77001-AHR)
    CAUTION: The torque converter is heavy. Be careful not to drop it or damage will result.
    Fig 1: Identifying Special Tool (307-091)
    G04709979Courtesy of FORD MOTOR CO.
  1. Using the special tools, remove the torque converter.
  2. Using the special tool, install the transaxle into the bench.
    Fig 2: Identifying Special Tool (307-003)
    G04709980Courtesy of FORD MOTOR CO.
  3. NOTE: When installing a new case, the identification tag must be transferred to the new case, use caution to prevent damage to the tag.
    Fig 3: Locating Identification Tag
    G04709981Courtesy of FORD MOTOR CO.
  4. Remove the identification tag.
  5. Place a drain pan under the transaxle and rotate the transaxle to a vertical position.
    Fig 4: Identifying Drain Pan Under Transaxle
    G04709982Courtesy of FORD MOTOR CO.
  6. Remove the filler tube.
    Fig 5: Locating Filler Tube
    G04709983Courtesy of FORD MOTOR CO.
  7. CAUTION: The overdrive band servo spring cover is under spring tension. Care must be taken when removing as components can be ejected from the case.
    Fig 6: Locating Overdrive Servo Piston And Rod
    G04709984Courtesy of FORD MOTOR CO.
  8. Remove the overdrive servo piston and rod.
    • Remove the bolts.
    • Remove the cover.
    • Remove the piston and rod.
  9. Remove the output shaft speed (OSS) sensor cover.
    Fig 7: Locating Output Shaft Speed (OSS) Sensor Cover
    G04709985Courtesy of FORD MOTOR CO.
  10. Remove the OSS sensor.
    • Unclip the harness.
    • Remove the OSS sensor.
    Fig 8: Locating OSS Sensor
    G04709986Courtesy of FORD MOTOR CO.
  11. Remove the digital TR sensor.
    1. Remove the 2 bolts.
    2. Remove the digital TR sensor.
    Fig 9: Identifying Digital TR Sensor
    G04709987Courtesy of FORD MOTOR CO.
  12. Remove the TSS sensor.
    1. Remove the TSS sensor bolt.
    2. Remove the TSS sensor.
    Fig 10: Identifying TSS Sensor
    G04709988Courtesy of FORD MOTOR CO.
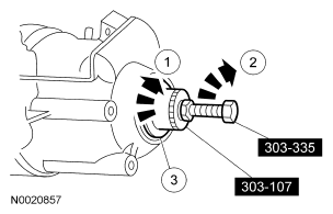
  13. NOTE: The differential seal is a 2-piece constructed seal.
    Fig 11: Removing LH Differential Seal Using Special Tool (303-107) And (303-335)
    G04709989Courtesy of FORD MOTOR CO.
  14. Using the special tools, remove the LH differential seal.
  15. Using the special tools, remove the LH differential seal metal protector.
    1. Rotate the front crankshaft oil seal remover.
    2. Rotate the forcing screw while holding the front crankshaft oil seal remover.
    3. Remove the metal protector from the LH differential seal and remove the protector from the tool.
    Fig 12: Removing LH Differential Seal Metal Protector Using Special Tool (303-107) And (303-335)
    G04709990Courtesy of FORD MOTOR CO.
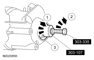
  16. Using the special tools, remove the rubber portion of the LH differential seal.
    1. Install the special tool into the LH differential seal.
    2. Rotate the forcing screw while holding the front crankshaft oil seal remover.
    3. Remove the rubber portion of the seal.
    Fig 13: Removing Rubber Portion Of LH Differential Seal Using Special Tool (303-107) And (303-335)
    G04709991Courtesy of FORD MOTOR CO.
  17. Install the special tool into the RH differential seal.
    Fig 14: Installing Special Tool (303-107), (205-D014) And (303-335) Into RH Differential Seal
    G04709992Courtesy of FORD MOTOR CO.
  18. Using the special tools, remove the RH differential seal metal protector.
    1. Rotate the front crankshaft oil seal remover.
    2. Rotate the forcing screw while holding the front crankshaft oil seal remover.
    3. Remove the metal protector of the seal.
    Fig 15: Removing RH Differential Seal Metal Protector Using Special Tool (303-107) And (303-335)
    G04709993Courtesy of FORD MOTOR CO.
  19. Using the special tool, remove the rubber portion of the seal.
    1. Rotate the front crankshaft oil seal remover.
    2. Rotate the forcing screw while holding the front crankshaft oil seal remover.
    3. Remove the rubber portion of the seal.
    Fig 16: Removing Rubber Portion Of Seal Using Special Tool (303-107) And (303-335)
    G04709994Courtesy of FORD MOTOR CO.
  20. CAUTION: Using the special tool, remove the converter hub seal. Stator support surface will be damaged if any other type tool is used. Stator support surface damage will cause a P0741 code to be set after repairs.
    Fig 17: Removing Converter Hub Seal Using Special Tool (307-309) And (100-001)
    G04709995Courtesy of FORD MOTOR CO.
  21. Using the special tools, remove the converter hub seal.
  22. Remove the bolts.
    Fig 18: Locating Bolts
    G04709996Courtesy of FORD MOTOR CO.
  23. Rotate the transaxle to a horizontal position.
  24. Remove the mount bracket.
    Fig 19: Locating Mount Bracket Bolts
    G04709997Courtesy of FORD MOTOR CO.
  25. NOTE: The main control cover gasket is reusable if not torn or damaged.
    Fig 20: Locating Transaxle Side Pan Bolts
    G04709998Courtesy of FORD MOTOR CO.
  26. Remove the 15 transaxle side pan bolts and remove the transaxle side pan and gasket.
  27. CAUTION: Do not pull on the wires or pry the connectors. Damage to the connector will result.
    Fig 21: Locating Electrical Connectors
    G04709999Courtesy of FORD MOTOR CO.
  28. Lift the locking tab and disconnect the electrical connectors.
  29. NOTE: The manual valve should be inserted completely.
    Fig 22: Rotating Manual Control Lever To Low Detent
    G04710000Courtesy of FORD MOTOR CO.
  30. Using a 9-mm wrench, rotate the manual control lever to the low detent.
  31. CAUTION: Do not remove the 2 bolts that hold the pump assembly and main control valve body together as the pump assembly may fall from the main control valve body.
    CAUTION: Only 4 of the 6 pump cover bolts must be removed.
    Fig 23: Locating Pump Cover Bolts
    G04710001Courtesy of FORD MOTOR CO.
  32. Remove the bolts.
  33. Remove the main control valve body.
    • Remove the pump assembly and main control valve body.
    • Rotate the main control valve body while lifting off.
    Fig 24: Removing Pump Assembly And Main Control Valve Body
    G04710002Courtesy of FORD MOTOR CO.
  34. Disconnect the manual control valve actuating rod.
    Fig 25: Disconnecting Manual Control Valve Actuating Rod
    G04710003Courtesy of FORD MOTOR CO.
  35. Remove the pump shaft.
    Fig 26: Removing Pump Shaft
    G04710004Courtesy of FORD MOTOR CO.
  36. NOTE: The transaxle pan gasket is reusable if not torn or damaged.
    Fig 27: Locating Transmission Fluid Pan And Gasket
    G04710005Courtesy of FORD MOTOR CO.
  37. Remove the bolts, transmission fluid pan and gasket.
  38. Remove, clean and inspect the magnet.
    Fig 28: Locating Magnet
    G04710006Courtesy of FORD MOTOR CO.
  39. Remove the filter.
    Fig 29: Locating Filter
    G04710007Courtesy of FORD MOTOR CO.
  40. NOTE: Use a 3/8-inch extension so as not to damage the case while removing the fluid filter seal.
    Fig 30: Locating Fluid Filter Seal
    G04710008Courtesy of FORD MOTOR CO.
  41. Remove the fluid filter seal.
  42. Loosen the nut and remove the reverse clutch anchor pin.
    Fig 31: Locating Reverse Clutch Anchor Pin
    G04710009Courtesy of FORD MOTOR CO.
  43. CAUTION: The chain cover is under spring pressure. Care must be taken to prevent internal parts from being ejected.
    NOTE: Mark bolt size and location for assembly.
    Fig 32: Locating Bolts
    G04710010Courtesy of FORD MOTOR CO.
  44. Remove the bolts.
  45. NOTE: Plastic thrust washers No. 1 and No. 3 may stick to the cover or to the sprockets.
    Fig 33: Removing Chain Cover And Gasket
    G04710011Courtesy of FORD MOTOR CO.
  46. Remove the chain cover and gasket.
  47. Remove the shift accumulator springs.
    1. Remove the 1-2 shift accumulator piston spring.
    2. Remove the 2-3 shift accumulator piston spring.
    3. Remove the reverse shift accumulator piston spring.
    4. Remove the 3-4 shift accumulator piston spring.
    Fig 34: Identifying Shift Accumulator Piston Spring
    G04710012Courtesy of FORD MOTOR CO.
  48. CAUTION: Be careful not to damage or bend the tabs on the exciter ring or the TSS sensor will not operate.
    Fig 35: Removing Drive Sprocket, Driven Sprocket And Drive Chain
    G04710013Courtesy of FORD MOTOR CO.
  49. Remove the drive sprocket, driven sprocket and drive chain as an assembly.
  50. NOTE: The thrust washers may remain on the sprockets.
    Fig 36: Identifying Thrust Washers
    G04710014Courtesy of FORD MOTOR CO.
  51. Remove the thrust washers.
    1. Remove the No. 2 thrust washer.
    2. Remove the No. 4 thrust washer.
  52. CAUTION: Use care not to damage the machined surface of the case.
    NOTE: The position of the manual valve detent lever is different than past models. The roll pin and shoulder point toward the driven sprocket support. Note the position of the lever during disassembly for correct assembly.
    Fig 37: Locating Roll Pins
    G04710015Courtesy of FORD MOTOR CO.
  53. Remove the roll pins.
  54. NOTE: The position of the manual valve detent lever is different than past models. The roll pin and shoulder point toward the driven sprocket support. Note the position of the lever during disassembly for correct assembly.
    Fig 38: Locating Manual Control Lever Shaft
    G04710016Courtesy of FORD MOTOR CO.
  55. Remove the manual control lever shaft.
  56. Remove the parking lever actuating rod.
    Fig 39: Removing Parking Lever Actuating Rod
    G04710017Courtesy of FORD MOTOR CO.
  57. Remove the manual control lever shaft seal.
    Fig 40: Identifying Manual Control Lever Shaft Seal
    G04710018Courtesy of FORD MOTOR CO.
  58. NOTE: During the complete disassembly of the transaxle, the fluid transfer tubes must be removed.
    Fig 41: Locating Bolts And Brackets
    G04710019Courtesy of FORD MOTOR CO.
  59. Remove the bolts and brackets.
  60. Using the special tools, remove the fluid lube tubes.
    Fig 42: Removing Fluid Lube Tubes Using Special Tool (307-005) And (307-310)
    G04710020Courtesy of FORD MOTOR CO.
  61. Remove the bolts and the park pawl abutment.
    Fig 43: Locating Park Pawl Abutment Bolts
    G04710021Courtesy of FORD MOTOR CO.
  62. Remove the neutral/drive accumulator bolt.
    Fig 44: Locating Neutral/Drive Accumulator Bolt
    G04710022Courtesy of FORD MOTOR CO.
  63. Remove the neutral/drive accumulator.
    1. Remove the cover.
    2. Remove the springs.
    3. Remove the piston and shaft.
    Fig 45: Identifying Neutral/Drive Accumulator
    G04710023Courtesy of FORD MOTOR CO.
  64. Using the special tool, remove the coast band servo.
    1. Install the special tool.
    2. Remove the snap ring.
    3. Remove the cover, piston and rod as an assembly.
    Fig 46: Removing Coast Band Servo Using Special Tool (307-251)
    G04710024Courtesy of FORD MOTOR CO.
  65. NOTE: The No. 5 thrust washer may stick to the drive sprocket support.
    Fig 47: Removing Drive Sprocket Support
    G04710025Courtesy of FORD MOTOR CO.
  66. Remove the drive sprocket support and the No. 5 thrust washer.
  67. NOTE: The No. 8 thrust washer and the No. 9 thrust bearing may remain on the drive sprocket support and driven sprocket.
    Fig 48: Removing No. 8 Driven Sprocket Support Selective Fit Rear Thrust Washer And No. 9 Needle Bearing Using Special Tool (100-010)
    G04710026Courtesy of FORD MOTOR CO.
  68. Using the special tool, remove the No. 8 driven sprocket support selective fit rear thrust washer and the No. 9 needle bearing.
  69. Remove the plastic overdrive band retainer.
    Fig 49: Removing Plastic Overdrive Band Retainer
    G04710027Courtesy of FORD MOTOR CO.
  70. Remove the overdrive band.
    Fig 50: Removing Overdrive Band
    G04710028Courtesy of FORD MOTOR CO.
  71. NOTE: Do not overtighten the handle of the tool. Place two 3/8-inch washers between the handle and the notched block.
    Fig 51: Identifying Special Tool (307-171)
    G04710029Courtesy of FORD MOTOR CO.
  72. Position the special tool into the case and install the hook end of tool into one of the lube holes in the front sun shell. Position the block over the edge of the assembly and tighten the handle.
  73. Using the special tool, remove the front clutch assembly.
    Fig 52: Removing Front Clutch Assembly Using Special Tool (307-171)
    G04710030Courtesy of FORD MOTOR CO.
  74. Using the special tools, remove the reverse clutch and planet assembly.
    Fig 53: Removing Reverse Clutch And Planet Assembly Using Special Tool (307-171) And (307-316)
    G04710031Courtesy of FORD MOTOR CO.
  75. Remove the low/intermediate drum, sun gear and one-way clutch assembly.
    Fig 54: Removing Low/Intermediate Drum
    G04710032Courtesy of FORD MOTOR CO.
  76. Remove the coast band.
    Fig 55: Locating Coast Band
    G04710033Courtesy of FORD MOTOR CO.
  77. CAUTION: Use care not to damage any machined surfaces.
    Fig 56: Locating Low/Intermediate Clutch Retaining Ring
    G04710034Courtesy of FORD MOTOR CO.
  78. Remove the low/intermediate clutch retaining ring.
  79. Remove the low/intermediate clutch pack.
    1. Remove the low/intermediate clutch pressure plate.
    2. Remove the low/intermediate clutch plates.
    3. Remove the low/intermediate clutch cushion spring.
    Fig 57: Identifying Low/Intermediate Clutch Pack
    G04710035Courtesy of FORD MOTOR CO.
  80. WARNING: Use caution when unloading the beveled retaining ring. Personal injury could occur.
    CAUTION: Use care not to damage final drive support assembly, transaxle case or retaining ring during removal.
    Fig 58: Removing Beveled Retaining Ring Using Special Tool (307-343)
    G04710036Courtesy of FORD MOTOR CO.
  81. Using the special tool, remove the beveled retaining ring and record the shape of the ring end.
  82. Remove the final drive differential and rear planet support assembly.
    Fig 59: Locating Final Drive Differential And Rear Planet Support Assembly
    G04710037Courtesy of FORD MOTOR CO.
  83. NOTE: The differential carrier thrust washer may remain on the differential assembly.
    Fig 60: Identifying Differential Carrier Thrust Bearing And Race
    G04710038Courtesy of FORD MOTOR CO.
  84. Remove the differential carrier thrust washer.
    1. Remove the No. 18 differential carrier thrust washer.
    2. Remove the No. 19 differential carrier thrust bearing and race.
  85. Remove the rear planet support spacer.
    Fig 61: Locating Rear Planet Support Spacer
    G04710039Courtesy of FORD MOTOR CO.
  86. Remove the final drive ring gear.
    Fig 62: Locating Final Drive Ring Gear
    G04710040Courtesy of FORD MOTOR CO.
  87. Inspect the bearing in the stator support for damage. If damage is indicated, install a new stator support.
    Fig 63: Locating Stator Support
    G04710041Courtesy of FORD MOTOR CO.
  88. Remove the bolts.
    Fig 64: Locating Bolts
    G04710042Courtesy of FORD MOTOR CO.
  89. Remove the stator support assembly.
    Fig 65: Removing Stator Support Assembly
    G04710043Courtesy of FORD MOTOR CO.
  90. NOTE: The following procedures are done only if a case replacement is necessary.
    Fig 66: Locating Park Pawl Shaft Retaining Pin
    G04710044Courtesy of FORD MOTOR CO.
  91. Remove the park pawl shaft retaining pin.
  92. Using the special tools, remove the cup plug.
    Fig 67: Removing Cup Plug Using Special Tool (303-D011), (303-D016) And (100-001)
    G04710045Courtesy of FORD MOTOR CO.
  93. Remove the parking pawl.
    1. Use a magnet to remove the parking pawl shaft.
    2. Remove the parking pawl and return spring.
    Fig 68: Identifying Parking Pawl And Return Spring
    G04710046Courtesy of FORD MOTOR CO.