LEMON Manuals: Even more car manuals for everyone: 1960-2025
Home >> Ford >> 2007 >> Crown Victoria Base, 4.6 V >> Repair and Diagnosis >> Engine Mechanical >> Mechanical >> Engine System >> Assembly >> Engine >> Assembly
April 5, 2026: LEMON Manuals is launched! Read the announcement.

Engine System: Assembly: Engine: Assembly

All engines 

  1. Record the main bearing code found on the front of the engine block.
  2. Fig 1: Identifying Main Bearing Code Found On Front Of Engine Block
    G04583819Courtesy of FORD MOTOR CO.
  3. Record the main bearing code found on the back of the crankshaft.
  4. Fig 2: Identifying Main Bearing Code - Found On Back Of Crankshaft
    G03886015Courtesy of FORD MOTOR CO.
  5. Using the data recorded earlier and the Bearing Select Fit Chart, Standard Bearings Chart determine the required bearing grade for each main bearing.
    • Read the first letter of the engine block main bearing code and the first letter of the crankshaft main bearing code.
    • Read down the column below the engine main bearing code letter, and across the row next to the crankshaft main bearing code letter, until the 2 intersect. This is the required bearing grade for the No. 1 crankshaft main bearing.
    • As an example, if the engine block code letter is "F" and the crankshaft code letter is "D," the correct bearing grade for this main bearing is "2."
    • Repeat this process for the remaining 4 main bearings.
  6. Fig 3: Bearing Select Fit Chart (Standard Bearings)
    G03886016Courtesy of FORD MOTOR CO.
  7. If oversize bearings are being used, use the procedure in the previous step and the Bearing Select Fit Chart, Oversize Bearing Chart to determine the required grade for each main bearing.
  8. Fig 4: Bearing Select Fit Chart (Oversize Bearings)
    G04583822Courtesy of FORD MOTOR CO.
    NOTE: Before assembling the cylinder block, all sealing surfaces must be free of chips, dirt, paint and foreign material. Also, make sure the coolant and oil passages are clear.
  9. Lubricate with clean engine oil and install the crankshaft upper main bearings into the cylinder block.
  10. Install the crankshaft onto the upper crankshaft thrust bearing and main bearings.
  11. Fig 5: Installing Crankshaft Onto Upper Crankshaft Main Bearings
    GF0002802Courtesy of FORD MOTOR CO.
    NOTE: To aid in assembly, apply petroleum jelly to the back of the crankshaft thrust washer.
    NOTE: The oil groove on the thrust washer must face toward the rear of the engine (crankshaft surface).
  12. Install the rear main bearing cap.
  13. Fig 6: Locating Rear Main Bearing Cap
    GF0002712Courtesy of FORD MOTOR CO.
  14. Install the crankshaft lower main bearings, thrust bearing and thrust washer into the main bearing caps. Locate the main bearing cap on the cylinder block and tap into place using a plastic or dead-blow hammer.
  15. Fig 7: Tapping Rear Main Bearing Cap
    GF0013708Courtesy of FORD MOTOR CO.
    NOTE: The jack screws are a part of the main bearing cap assembly, and are screwed into the main caps, not the cylinder block.
  16. Back out the 10 jack screws against the cylinder block in 2 stages, in the sequence shown.
    • Stage 1: Tighten to 5 Nm (44 lb-in).
    • Stage 2: Tighten to 10 Nm (89 lb-in).
  17. Fig 8: Jack Screw Torque Sequence
    GF0013709Courtesy of FORD MOTOR CO.
  18. Install the 10 bolts and tighten in 2 stages, in the sequence shown.
    • Stage 1: Tighten to 10 Nm (89 lb-in).
    • Stage 2: Tighten to 21 Nm (15 lb-ft).
  19. Fig 9: Cross Bolt Torque Sequence
    GF0013710Courtesy of FORD MOTOR CO.
  20. Tighten the 10 bolts in 2 stages, in the sequence shown.
    • Stage 1: Tighten to 40 Nm (30 lb-ft).
    • Stage 2: Tighten an additional 90 degrees.
  21. Fig 10: Identifying Main Bearing Cap Fasteners Tightening Sequence
    GF0002713Courtesy of FORD MOTOR CO.
  22. Check piston-to-cylinder block and ring clearances. For additional information, refer to ENGINE SYSTEM - GENERAL INFORMATION article.
  23. CAUTION: Do not scratch the cylinder walls or crankshaft journals with the connecting rod or engine failure may occur.
    NOTE: Make sure the piston arrow is facing forward.
    NOTE: The next 3 steps are for all 8 connecting rods, rod caps and pistons. Only one connecting rod, rod cap and piston is shown.
  24. Use the special tools to install the piston and connecting rod assemblies.
    • Lubricate the piston and ring with clean engine oil.
    • Lubricate the rod bearings with clean engine oil.
    • Rotate the crankshaft as necessary.
  25. Fig 11: Using Special Tools To Install Piston And Connecting Rod Assembly
    G03920388Courtesy of FORD MOTOR CO.
    CAUTION: Do not scratch the cylinder walls or crankshaft journals with the connecting rod.
  26. Once the connecting rod is seated on the crankshaft journal, remove the special tools.
  27. Fig 12: Identifying Special Tool (303-442)
    G03920389Courtesy of FORD MOTOR CO.
    CAUTION: The rod cap installation must keep the same orientation as marked during disassembly or engine damage may occur.
    NOTE: The connecting rod caps have a cracked design and must make mate with the connecting rod ends. Excessive bearing clearance will result if not mated correctly.
  28. Position the lower bearing and connecting rod cap, and install the 2 new bolts loosely.
  29. Fig 13: Positioning Bearing, Rod Cap & Bolts
    GF0000617Courtesy of FORD MOTOR CO.
  30. Tighten the 16 bolts in 2 stages, in the sequence shown.
    • Stage 1: Tighten to 43 Nm (32 lb-ft).
    • Stage 2: Rotate an additional 90-120 degrees.
  31. Fig 14: Identifying Tighten Sequence Of Connecting Rod Bearing Caps
    G03920390Courtesy of FORD MOTOR CO.
  32. Position the oil pump and install the 3 bolts loosely. Tighten the bolts in the sequence shown.
    • Tighten to 10 Nm (89 lb-in).
  33. Fig 15: Identifying Tightening Sequence Of Oil Pump Bolts
    G03962526Courtesy of FORD MOTOR CO.

    Both cylinder heads 

    NOTE: The gasket sealing surfaces on the cylinder head and cylinder block must be clean. For additional information, refer to Cylinder Head .
    NOTE: The use of sealing aids (aviation cement, copper spray and glue) is not permitted. The gasket must be installed dry.
    NOTE: The new gasket has a film coating which is crucial to the gasket's ability to seat correctly. Do not scratch the gasket.
    NOTE: RH head gasket shown, LH head gasket similar.
  34. Install the head gasket over the dowel pins.
  35. Fig 16: Head Gasket & Dowel Pins
    GF0013711Courtesy of FORD MOTOR CO.
    NOTE: Cylinder head machining or milling is not authorized by the Ford Motor Company. Cylinder head flatness must be within 0.0254 mm (0.001 in) across a 38.1 mm (1.5 in) square area.
    NOTE: The gasket sealing surfaces on the cylinder head and cylinder block must be clean. For additional information, refer to Cylinder Head .
    NOTE: The use of sealing aids (aviation cement, copper spray and glue) is not permitted. The gasket must be installed dry.
    NOTE: Do not allow the dowels to scratch the sealing of the cylinder head during cylinder head installation.
    NOTE: The new cylinder head bolts must be lightly oiled with a rag, and allowed to drain for a few minutes prior to installation.
    NOTE: RH cylinder head shown, LH cylinder head similar.
  36. Install the cylinder head on the dowels and the head gasket. Loosely install new bolts.
  37. Fig 17: Locating Cylinder Head
    G03886030Courtesy of FORD MOTOR CO.
  38. Tighten the 10 cylinder head bolts in 6 stages, in the sequence shown.
    • Stage 1: Tighten to 40 Nm (30 lb-ft).
    • Stage 2: Tighten an additional 90 degrees (1/4 turn).
    • Stage 3: Loosen a minimum of one full turn (360 degrees).
    • Stage 4: Tighten to 40 Nm (30 lb-ft).
    • Stage 5: Tighten an additional 90 degrees (1/4 turn).
    • Stage 6: Tighten an additional 90 degrees (1/4 turn).
  39. Fig 18: Cylinder Head Bolt Torque Sequence
    GF0013712Courtesy of FORD MOTOR CO.
  40. Remove the special tools from both ends of the cylinder head.
  41. Fig 19: Identifying Special Tool (303-572)
    G04671899Courtesy of FORD MOTOR CO.
    NOTE: Lubricate the hydraulic lash adjusters with clean engine oil.
  42. Install the 16 hydraulic lash adjusters in their original locations.
  43. Fig 20: Locating Hydraulic Lash Adjusters
    GF0002630Courtesy of FORD MOTOR CO.
    NOTE: Lubricate the O-ring seal with clean engine oil.
  44. Install a new O-ring seal on the oil level indicator tube and install the oil level indicator tube and bolt.
    • Tighten to 10 Nm (89 lb-in).
  45. Fig 21: Oil Level Indicator Tube Bolt
    GF0013694Courtesy of FORD MOTOR CO.
  46. Install the new 8 LH exhaust manifold studs.
    • Tighten to 12 Nm (9 lb-ft).
  47. Install a new LH exhaust manifold gasket the LH exhaust manifold and 8 new nuts.
    • Tighten to 25 Nm (18 lb-ft) in the sequence shown.
  48. Fig 22: Exhaust Manifold Nuts Tightening Sequence
    GF0013591Courtesy of FORD MOTOR CO.
  49. Install the new 8 RH exhaust manifold studs.
    • Tighten to 12 Nm (9 lb-ft).
  50. Install a new RH exhaust manifold gasket the RH exhaust manifold and 8 new nuts.
    • Tighten to 25 Nm (18 lb-ft) in the sequence shown.
  51. Fig 23: Exhaust Manifold Nuts Tightening Sequence
    GF0013587Courtesy of FORD MOTOR CO.

    Engines with ratcheting timing chain tensioners 

    CAUTION: Timing chain procedures must be followed exactly or damage to valves and pistons will result.
    CAUTION: Do not compress the ratchet assembly. This will damage the ratchet assembly.
    NOTE: LH shown, RH similar.
  52. Compress each tensioner plunger, using an edge or a vise.
  53. Fig 24: Compressing Tensioner Plunger
    GF0000411Courtesy of FORD MOTOR CO.
  54. Using a small screwdriver or pick, push back and hold the ratchet mechanism.
  55. Fig 25: Pushing Back And Holding Ratchet Mechanism
    GF0000412Courtesy of FORD MOTOR CO.
  56. While holding the ratchet mechanism, push the ratchet arm back into the tensioner housing.
  57. Fig 26: Compressing Tensioner Plunger
    GF0000413Courtesy of FORD MOTOR CO.
  58. Install a paper clip into the hole of each tensioner housing to hold the ratchet assembly and plunger in during installation.
    • Remove the tensioner from the vise.
  59. Fig 27: Installing Paper Clip Into Tensioner Housing
    GF0000414Courtesy of FORD MOTOR CO.

    Engines with non-ratcheting timing chain tensioners 

    NOTE: If one or both tensioner mounting bolts are loosened or removed, the tensioner-sealing bead must be inspected for seal integrity. Any cracks, tears, cuts or separation from the tensioner body or permanent compression of the seal bead, will require replacement of the tensioner.
  60. Inspect the RH and LH timing chain tensioners.
    • Install new tensioners as necessary.
  61. CAUTION: Timing chain procedures must be followed exactly or damage to valves and pistons will result.
    NOTE: LH shown, RH similar.
  62. Compress each tensioner plunger, using a vise.
  63. Fig 28: Compressing Tensioner Plunger
    G03885344Courtesy of FORD MOTOR CO.
  64. Install a retaining clip on the tensioner to hold the plunger in during installation.
  65. Fig 29: Identifying Retaining Clip on Tensioner
    G03881580Courtesy of FORD MOTOR CO.

    All engines 

  66. If the colored links are not visible, mark one link on one end and one link on the other end, and use as timing marks.
  67. Fig 30: Identifying Timing Chain Copper Links
    G03881581Courtesy of FORD MOTOR CO.
  68. Using the special tool, position the crankshaft.
    • Remove the special tool after crankshaft positioning.
  69. Fig 31: Positioning Crankshaft With No. 1 Cylinder At TDC
    GF0002621Courtesy of FORD MOTOR CO.
  70. Install the crankshaft sprocket, making sure the flange faces forward.
  71. Fig 32: Identifying Crankshaft Sprocket Flange
    G03881584Courtesy of FORD MOTOR CO.
  72. Install the timing chain guides.
    1. Position the LH timing chain guide.
    2. Install and tighten the 2 LH bolts to 10 Nm (89 lb-in).
    3. Position the RH timing chain guide.
    4. Install and tighten the 2 RH bolts to 10 Nm (89 lb-in).
  73. Fig 33: Identifying Timing Chain Guides
    G03962457Courtesy of FORD MOTOR CO.
  74. Rotate the RH camshaft sprocket until the timing mark is approximately at the 11 o'clock position. Rotate the LH camshaft sprocket until the timing mark is approximately at the 12 o'clock position.
  75. Fig 34: Identifying LH And RH Camshaft Timing Mark Position
    G04583473Courtesy of FORD MOTOR CO.
  76. Position the LH (inner) timing chain on the crankshaft sprocket, aligning the colored (marked) link with the timing mark on the sprocket.
  77. Fig 35: Aligning Copper (Marked) Link With Timing Mark On Crankshaft Sprocket
    G03962459Courtesy of FORD MOTOR CO.
  78. Install the LH timing chain on the camshaft sprocket, aligning the colored (marked) link with the timing marks on the sprocket.
  79. Fig 36: Aligning Copper (Marked) Link With Timing Mark On Camshaft Sprocket
    G03962460Courtesy of FORD MOTOR CO.
    NOTE: The LH timing chain tensioner arm has a bump near the dowel hole for identification.
  80. Position the LH timing chain tensioner on the dowel pin and install the LH timing chain tensioner and 2 bolts.
    • Tighten to 25 Nm (18 lb-ft).
  81. Fig 37: Positioning LH Timing Chain Tensioner Arm On Dowel Pin
    GF0002719Courtesy of FORD MOTOR CO.

    Engines with ratcheting timing chain tensioners 

  82. Remove the retaining clip from the LH timing chain tensioner.
  83. Fig 38: Removing Paper Clip
    GF0013575Courtesy of FORD MOTOR CO.

    Engines with non-ratcheting timing chain tensioners 

  84. Remove the retaining clip from the LH timing chain tensioner.
  85. Fig 39: View Of Retaining Clip And Timing Chain Tensioner
    G03881591Courtesy of FORD MOTOR CO.

    All engines 

  86. Position the RH (outer) timing chain on the crankshaft sprocket, aligning the colored (marked) link with the timing mark on the sprocket.
  87. Fig 40: Aligning Copper (Marked) Link With Timing Mark On Crankshaft Sprocket
    G03948189Courtesy of FORD MOTOR CO.
  88. Install the RH timing chain on the camshaft sprocket, aligning the colored (marked) link with the timing marks on the sprocket.
  89. Fig 41: Aligning Copper (Marked) Link With Timing Mark On Camshaft Sprocket
    G03885941Courtesy of FORD MOTOR CO.
  90. Position the RH timing chain tensioner arm on the dowel pin and install the RH timing chain tensioner and 2 bolts.
    • Tighten to 25 Nm (18 lb-ft).
  91. Fig 42: Positioning RH Timing Chain Tensioner Arm On Dowel Pin
    GF0002720Courtesy of FORD MOTOR CO.

    Engines with ratcheting timing chain tensioners 

  92. Remove the retaining clip from the RH timing chain tensioner.
  93. Fig 43: Removing Paper Clip
    GF0013575Courtesy of FORD MOTOR CO.

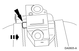
    Engines with non-ratcheting timing chain tensioners 

  94. Remove the retaining clip from the RH timing chain tensioner.
  95. Fig 44: View Of Retaining Clip And Timing Chain Tensioner
    G03881591Courtesy of FORD MOTOR CO.

    All engines 

  96. Make sure that the colored (marked) chain links are lined up with the dots on the crankshaft sprockets and the camshaft sprocket.
  97. Fig 45: Identifying Copper (Marked) Chain Links And Dots On Crankshaft Sprockets And Camshaft Sprockets
    G03962922Courtesy of FORD MOTOR CO.
  98. Rotate and camshaft until the lobe is in the upward position.
  99. Fig 46: Positioning Camshaft Lobe Up
    GF0013576Courtesy of FORD MOTOR CO.
  100. Install the special tool between the valve spring coil to prevent valve stem seal damage.
  101. Fig 47: Installing Special Tool Between Valve Spring Coils
    G03962476Courtesy of FORD MOTOR CO.
    NOTE: Lubricate the camshaft roller followers using clean engine oil.
    NOTE: Position the cam lobe away from the camshaft roller follower location prior to installing each camshaft roller follower.
  102. Install the 16 camshaft roller followers.
    1. Install the special tool.
    2. Compress the valve spring.
    3. Install the 16 camshaft roller followers in their original locations.
  103. Fig 48: Installing Camshaft Roller Follower
    GF0013713Courtesy of FORD MOTOR CO.
  104. Remove the special tool.
  105. Fig 49: Installing Special Tool Between Valve Spring Coils
    G03962476Courtesy of FORD MOTOR CO.
    CAUTION: Only use hand tools when removing or installing the spark plugs or damage may occur to the cylinder head or spark plug.
  106. Install all 8 spark plugs.
    • Tighten to 15 Nm (11 lb-ft).
  107. Fig 50: Spark Plug
    GF0013642Courtesy of FORD MOTOR CO.
  108. Install the crankshaft sensor ring.
  109. Fig 51: View Of Crankshaft Sensor Ring At Crankshaft
    G04583449Courtesy of FORD MOTOR CO.
    CAUTION: If the engine front cover is not secured within 4 minutes, the sealant must be removed and the sealing area cleaned with metal surface cleaner. Allow to dry until there is no sign of wetness, or 4 minutes, whichever is longer. Failure to follow this procedure may cause future oil leakage.
    NOTE: RH timing chain removed for clarity.
  110. Apply a bead of sealant along the head-to-block surface and the oil pan-to-block surface as specified.
  111. Fig 52: Applying Bead Of Silicone Gasket And Sealant Along Cylinder Head-To-Cylinder Block Surface
    GF0005649Courtesy of FORD MOTOR CO.
  112. Install a new engine front cover gasket on the engine front cover. Position the engine front cover. Install the fasteners finger-tight.
  113. Fig 53: Installing Engine Front Cover Gasket
    GF0000367Courtesy of FORD MOTOR CO.
  114. Tighten the 15 front cover fasteners in the sequence shown to 25 Nm (18 lb-ft).
    Item Part Number Description
    1 N806177 Bolt, hex flange head pilot, M8 x 1.25 x 53
    2 N806177 Bolt, hex flange head pilot, M8 x 1.25 x 53
    3 N806177 Bolt, hex flange head pilot, M8 x 1.25 x 53
    4 N806177 Bolt, hex flange head pilot, M8 x 1.25 x 53
    5 N806177 Bolt, hex flange head pilot, M8 x 1.25 x 53
    6 W706508 Stud, hex-head pilot, M8 x 1.25 x 50 - M6 x 1 x 10
    7 N808586 Stud, washer hex-head pilot, M8 x 1.25 - M6 x 1.0 x 86.35
    8 N806177 Bolt, hex flange head pilot, M8 x 1.25 x 53
    9 N806177 Bolt, hex flange head pilot, M8 x 1.25 x 53
    10 N806177 Bolt, hex flange head pilot, M8 x 1.25 x 53
    11 N806300 Stud, hex-shoulder pilot, M8 x 1.25 x 1.25 x 91.1
    12 N806300 Stud, hex-shoulder pilot, M8 x 1.25 x 1.25 x 91.1
    13 N806300 Stud, hex-shoulder pilot, M8 x 1.25 x 1.25 x 91.1
    14 N806300 Stud, hex-shoulder pilot, M8 x 1.25 x 1.25 x 91.1
    15 N806300 Stud, hex-shoulder pilot, M8 x 1.25 x 1.25 x 91.1
  115. Fig 54: Engine Front Cover Fastener Tightening Sequence
    GF0013566Courtesy of FORD MOTOR CO.
    NOTE: RH shown, LH similar.
  116. Install the RH and LH engine mounts and the 6 bolts.
    • Tighten to 70 Nm (52 lb-ft).
  117. Fig 55: Engine Mount Bolts
    GF0013616Courtesy of FORD MOTOR CO.
  118. Lubricate the engine front cover and the front oil seal inner lip with clean engine oil.
  119. Fig 56: Locating Crankshaft Front Seal
    G03881970Courtesy of FORD MOTOR CO.
  120. Using the special tools, install the front oil seal.
  121. Fig 57: Installing Crankshaft Front Seal Using Special Tools
    G03919891Courtesy of FORD MOTOR CO.
    CAUTION: If not secured within 4 minutes, sealant must be removed and the sealing area cleaned with metal surface cleaner. Allow to dry until there is no sign of wetness, or 4 minutes, whichever is longer. Failure to follow this procedure can cause future oil leakage.
  122. Apply sealant to the Woodruff key slot on the crankshaft pulley.
  123. Fig 58: Applying Sealant To Woodruff Key Slot
    GF0013561Courtesy of FORD MOTOR CO.
  124. Using the special tool, install the crankshaft pulley.
  125. Fig 59: Installing Crankshaft Pulley
    GF0013562Courtesy of FORD MOTOR CO.
    NOTE: Use a suitable strap wrench to hold the pulley.
  126. Tighten the crankshaft pulley bolt in 4 stages.
    • Stage 1: Tighten to 90 Nm (66 lb-ft).
    • Stage 2: Loosen 360 degrees.
    • Stage 3: Tighten to 50 Nm (37 lb-ft).
    • Stage 4: Rotate an additional 90 degrees (1/4 turn).
  127. Fig 60: Installing Crankshaft Pulley Bolt & Washer
    GF0013563Courtesy of FORD MOTOR CO.
    CAUTION: Make sure the O-ring seal is in place and not damaged. A missing or damaged O-ring seal may cause foam in the lubrication system, low oil pressure and severe engine damage.
    NOTE: Clean and inspect the mating surfaces and install a new O-ring seal. Lubricate the O-ring seal with clean engine oil.
  128. Install the oil pump screen and pickup tube spacer.
    • Tighten to 25 Nm (18 lb-ft).
  129. Fig 61: Locating Pickup Tube Spacer
    GF0002716Courtesy of FORD MOTOR CO.
  130. Position the oil pump screen and pickup tube, and install the 3 bolts.
    1. Tighten to 25 Nm (18 lb-ft).
    2. Tighten to 10 Nm (89 lb-in).
  131. Fig 62: Locating Oil Pump Screen And Pickup Tube
    G03962527Courtesy of FORD MOTOR CO.
  132. Install the new oil filter adapter gasket, oil filter adapter and the 4 bolts.
    • Tighten to 25 Nm (18 lb-ft) in the sequence shown.
  133. Fig 63: Oil Filter Adapter Bolts Torque Sequence
    GF0013598Courtesy of FORD MOTOR CO.
    CAUTION: Do not rotate the coolant pump housing once the coolant pump has been positioned in the cylinder block. Damage to the O-ring seal will occur.
  134. Install the coolant pump.
    1. Lubricate the new O-ring seal using engine coolant.
    2. Position the coolant pump into the engine block.
    3. Install the 4 bolts and tighten to 25 Nm (18 lb-ft).
  135. Fig 64: Installing Coolant Pump
    GF0002722Courtesy of FORD MOTOR CO.
  136. Position the coolant pump pulley on the coolant pump and install the 4 bolts.
    • Tighten to 25 Nm (18 lb-ft).
  137. Fig 65: Coolant Pump Pulley Bolts
    GF0013645Courtesy of FORD MOTOR CO.
  138. Position the accessory drive belt idler pulley and install the bolt.
    • Tighten to 25 Nm (18 lb-ft).
  139. Fig 66: Accessory Drive Belt Idler Pulley Bolt
    GF0013692Courtesy of FORD MOTOR CO.
    CAUTION: If not secured within 4 minutes, sealant must be removed and the sealing area cleaned with metal surface cleaner. Allow to dry until there is no sign of wetness, or 4 minutes, whichever is longer. Failure to follow this procedure may cause future oil leakage.
  140. Apply sealant in 2 places where the engine front cover meets the cylinder head.
  141. Fig 67: Applying Sealant At Engine Front Cover/Cylinder Head Surface
    GF0013555Courtesy of FORD MOTOR CO.
  142. Install the new LH gasket into the valve cover and position on the cylinder head. Tighten the bolts in the sequence shown.
    • Tighten to 10 Nm (89 lb-in).
  143. Fig 68: Valve Cover Torque Sequence
    GF0013556Courtesy of FORD MOTOR CO.
    CAUTION: If not secured within 4 minutes, sealant must be removed and the sealing area cleaned with metal surface cleaner. Allow to dry until there is no sign of wetness, or 4 minutes, whichever is longer. Failure to follow this procedure may cause future oil leakage.
  144. Apply sealant in 2 places where the engine front cover meet the cylinder head.
  145. Fig 69: Applying Sealant At Engine Front Cover/Cylinder Head Surface
    GF0013552Courtesy of FORD MOTOR CO.
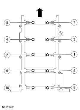
  146. Install the new RH gasket into the valve cover and position on the cylinder head. Tighten the 11 bolts in the sequence shown.
    • Tighten to 10 Nm (89 lb-in).
  147. Fig 70: Valve Cover Torque Sequence
    GF0013553Courtesy of FORD MOTOR CO.
  148. Install the knock sensor (KS) and the 2 bolts.
    • Tighten to 25 Nm (18 lb-ft).
  149. Fig 71: Knock Sensor
    GF0013691Courtesy of FORD MOTOR CO.
  150. Inspect the O-rings seals. Install new seals if necessary.
  151. Fig 72: O-Ring Seals
    GF0013714Courtesy of FORD MOTOR CO.
  152. Install the coolant bypass tube.
  153. Fig 73: Coolant Bypass Tube
    GF0013715Courtesy of FORD MOTOR CO.
  154. Install the ground strap on the rear of the RH cylinder head.
    1. Install the stud bolt and tighten to 25 Nm (18 lb-ft).
    2. Install the ground strap.
    3. Install the retaining nut and tighten to 10 Nm (89 lb-in).
  155. Fig 74: Ground Strap, Stud & Nut
    GF0013716Courtesy of FORD MOTOR CO.
    NOTE: Align the gasket locator tabs to slots in cylinder head.
  156. Install the new intake manifold gaskets, intake manifold and hand-tighten the 8 bolts at the locations shown.
  157. Fig 75: Intake Manifold Bolts
    GF0013689Courtesy of FORD MOTOR CO.
  158. Install the 8 ignition coils and tighten the 8 bolts.
    • Tighten to 10 Nm (89 lb-in).
  159. Fig 76: Ignition Coils & Bolts
    GF0013568Courtesy of FORD MOTOR CO.
  160. Install the intake manifold crash bracket bolt and loosely install the bolt and the stud bolt.
  161. Fig 77: Intake Manifold Crash Bracket Bolt
    GF0013717Courtesy of FORD MOTOR CO.
  162. Install the thermostat.
  163. Fig 78: Thermostat
    GF0013636Courtesy of FORD MOTOR CO.
  164. Install the coolant outlet adapter and loosely install the 2 bolts.
  165. Fig 79: Coolant Outlet Adapter & Bolts
    GF0013635Courtesy of FORD MOTOR CO.
  166. Tighten the 9 bolts in the sequence shown.
    • Tighten to 25 Nm (18 lb-ft).
  167. Fig 80: Intake Manifold Bolt Tightening Torque Sequence
    GF0013547Courtesy of FORD MOTOR CO.
  168. Tighten the stud bolt.
    • Tighten to 25 Nm (18 lb-ft).
  169. Fig 81: Stud Bolt
    GF0013718Courtesy of FORD MOTOR CO.
  170. Tighten the 2 coolant outlet adapter bolts.
    • Tighten to 25 Nm (18 lb-ft).
  171. Fig 82: Coolant Outlet Adapter & Bolts
    GF0013635Courtesy of FORD MOTOR CO.
  172. Connect the throttle control and throttle positioning sensor electrical connector.
  173. Fig 83: Locating Throttle Control And Throttle Position (TP) Sensor Electrical Connectors
    G03881492Courtesy of FORD MOTOR CO.
  174. Connect the EGR tube to the EGR valve.
    • Tighten to 40 Nm (30 lb-ft).
  175. Fig 84: EGR Tube Nut At EGR
    GF0013688Courtesy of FORD MOTOR CO.
  176. Connect the EGR tube to the exhaust manifold.
    • Tighten to 40 Nm (30 lb-ft).
  177. Fig 85: EGR Tube At Exhaust Manifold
    GF0013619Courtesy of FORD MOTOR CO.
  178. Position the fuel charging wiring at 2 locations at the back of the intake manifold.
  179. Install the generator and the 2 bolts.
    • Tighten to 25 Nm (18 lb-ft).
  180. Fig 86: Generator & Bolts
    GF0013719Courtesy of FORD MOTOR CO.
  181. Install the generator mounting bracket and the 4 bolts.
    • Tighten to 10 Nm (89 lb-in).
  182. Fig 87: Generator Mounting Bracket Bolts
    GF0013624Courtesy of FORD MOTOR CO.
  183. Connect the generator electrical connector.
  184. Fig 88: Generator Electrical Connector
    GF0013625Courtesy of FORD MOTOR CO.
  185. Position the vacuum harness and connect the vacuum hoses for the evaporative emission (EVAP) canister purge valve, the main chassis hose and the EGR valve.
  186. Fig 89: Vacuum Hoses & Electrical Connector
    GF0013687Courtesy of FORD MOTOR CO.
  187. Install the generator wiring harness anchor to the LH front stud.
  188. Fig 90: Generator Wiring Harness Anchor
    GF0013686Courtesy of FORD MOTOR CO.
  189. Connect the crankcase ventilation tube.
  190. Fig 91: Crankcase Ventilation Tube
    GF0013720Courtesy of FORD MOTOR CO.
  191. Install the intake manifold shield and 2 bolts.
    • Tighten to 12 Nm (9 lb-ft).
  192. Fig 92: Intake Manifold Shield
    GF0013622Courtesy of FORD MOTOR CO.
  193. Connect the 8 fuel injector electrical connectors.
  194. Fig 93: Fuel Injector Electrical Connectors
    GF0013621Courtesy of FORD MOTOR CO.
  195. Connect the 8 ignition coil electrical connectors.
  196. Fig 94: Ignition Coil Electrical Connectors
    GF0013620Courtesy of FORD MOTOR CO.
  197. Connect the camshaft position (CMP) sensor electrical connector.
  198. Fig 95: Camshaft Position (CMP) Sensor Electrical Connector
    GF0013629Courtesy of FORD MOTOR CO.
  199. Connect the radio interference capacitor electrical connector.
  200. Fig 96: Radio Ignition Interference Capacitor
    GF0013630Courtesy of FORD MOTOR CO.
  201. Connect the KS electrical connector and install the harness retainer to the intake manifold.
  202. Fig 97: Locating Knock Sensor (KS) Electrical Connector And Wiring Harness Pin-Type Retainer
    GF0002682Courtesy of FORD MOTOR CO.
  203. Connect the cylinder head temperature (CHT) sensor electrical connector.
  204. Fig 98: Cylinder Head Temperature (CHT) Sensor Electrical Connector
    GF0013626Courtesy of FORD MOTOR CO.
  205. Connect the ground wire to the right rear fuel rail stud.
  206. Fig 99: Ground Wire
    GF0013721Courtesy of FORD MOTOR CO.
  207. Install the battery cables and the bolt.
  208. Install the special tool to the RH cylinder head.
  209. Fig 100: Installing Special Tool To RH Cylinder Head
    GF0013608Courtesy of FORD MOTOR CO.
  210. Install the special tool to the LH cylinder head.
  211. Fig 101: Installing Special Tool To LH Cylinder Head
    GF0013609Courtesy of FORD MOTOR CO.
  212. Using the special tool, remove the engine from the engine stand.
  213. Fig 102: Mounting Engine On A Suitable Engine Stand
    GF0013615Courtesy of FORD MOTOR CO.
    NOTE: The rear crankshaft seal retainer plate does not have a sealant groove. Gasket maker must be applied to the rear crankshaft seal retainer mating surface on the engine block.
  214. Apply a bead of gasket maker to the crankshaft rear seal retainer plate mating surface on the engine block.
  215. Fig 103: Applying Bead Of Gasket Maker To Rear Crankshaft Seal Retainer
    GF0002646Courtesy of FORD MOTOR CO.
  216. Install the crankshaft rear seal retainer plate and loosely install the 6 bolts.
  217. Fig 104: Locating Crankshaft Rear Seal Retainer Plate Bolts
    GF0000369Courtesy of FORD MOTOR CO.
  218. Tighten the 6 crankshaft rear seal retainer plate bolts in the sequence shown.
    • Tighten to 10 Nm (89 lb-in).
  219. Fig 105: Tightening Sequence Of Crankshaft Rear Seal Retainer Plate Bolts
    G04583881Courtesy of FORD MOTOR CO.
    CAUTION: If not secured within 4 minutes, sealant must be removed and the sealing area cleaned with metal surface cleaner. Allow to dry until there is no sign of wetness, or 4 minutes, whichever is longer. Failure to follow this procedure may cause future oil leakage.
  220. Apply the sealant at the rear oil seal retainer to cylinder block sealing surface.
  221. Fig 106: Applying Silicone Gasket And Sealant
    GF0000322Courtesy of FORD MOTOR CO.
  222. Apply sealant at the front cover-to-cylinder block sealing surface.
  223. Fig 107: Applying Sealant At Front Cover-To-Cylinder Block
    GF0013722Courtesy of FORD MOTOR CO.
  224. Position the new oil pan gasket, the oil pan and the loosely install the 16 bolts.
  225. Fig 108: Oil Pan, Bolt & Gasket
    GF0013693Courtesy of FORD MOTOR CO.
  226. Tighten the 16 bolts in 2 stages, in the sequence shown.
    • Stage 1: Tighten to 20 Nm (15 lb-ft).
    • Stage 2: Rotate an additional 60 degrees.
  227. Fig 109: Identifying Oil Pan Bolt Tightening Sequence
    G03920110Courtesy of FORD MOTOR CO.
  228. Using the special tools, install the crankshaft rear oil seal.
  229. Fig 110: Using Special Tools To Install New Crankshaft Rear Seal
    G04583928Courtesy of FORD MOTOR CO.
  230. Using the special tools, install the crankshaft oil slinger.
  231. Fig 111: Installing Crankshaft Rear Oil Slinger Using Special Tools
    G03920154Courtesy of FORD MOTOR CO.
  232. Install the engine/transmission spacer plate.
  233. Fig 112: Engine-To-Transmission Spacer Plate
    GF0013606Courtesy of FORD MOTOR CO.
  234. Position the flexplate and install the 6 bolts in the sequence shown.
    • Tighten to 80 Nm (59 lb-ft).
  235. Fig 113: Flexplate Bolt Torque Sequence
    GF0013604Courtesy of FORD MOTOR CO.