LEMON Manuals: Even more car manuals for everyone: 1960-2025
Home >> Ford >> 2007 >> Crown Victoria Base, 4.6 W >> Repair and Diagnosis >> Engine Mechanical >> Mechanical >> Engine System >> Disassembly >> Engine >> Disassembly
April 5, 2026: LEMON Manuals is launched! Read the announcement.

Engine System: Disassembly: Engine: Disassembly

CAUTION: Servicing the bottom end of the engine (crankshaft, bearings) requires that cylinder heads be removed. Failure to do so may result in engine damage.
CAUTION: During engine repair procedures, cleanliness is extremely important. Any foreign material (including any material created while cleaning gasket surfaces) that enters the oil passages, coolant passages or the oil pan may cause engine failure.
NOTE: The crankshaft rear seal, the rear oil seal slinger and the crankshaft rear seal retainer plate must be removed before mounting the engine on the engine stand.
NOTE: For additional information, refer to the exploded views under engine Assembly.
  1. Remove the 6 bolts and the flexplate.
  2. Fig 1: Locating Flexplate Bolts
    GF0002679Courtesy of FORD MOTOR CO.
  3. Remove the engine/transmission spacer plate.
  4. Fig 2: Engine-To-Transmission Spacer Plate
    GF0013606Courtesy of FORD MOTOR CO.
  5. Using the special tools, remove the crankshaft rear seal slinger.
  6. Fig 3: Removing Crankshaft Rear Oil Seal Slinger
    G03920149Courtesy of FORD MOTOR CO.
  7. Using the special tools, remove the crankshaft rear seal.
  8. Fig 4: Removing Crankshaft Rear Seal
    G03920150Courtesy of FORD MOTOR CO.
  9. Remove the 2 oil pan-to-crankcase rear seal retainer plate bolts and the 6 crankcase rear seal retainer plate bolts.
  10. Fig 5: Identifying Crankshaft Rear Seal Retainer Plate Bolts
    GF0000352Courtesy of FORD MOTOR CO.
  11. Using the special tool, mount the engine on a suitable engine stand.
  12. Fig 6: Mounting Engine On A Suitable Engine Stand
    GF0013615Courtesy of FORD MOTOR CO.
    NOTE: RH shown, LH similar.
  13. Remove the bolts and the LH and RH engine mounts.
  14. Fig 7: Engine Mount Bolts
    GF0013616Courtesy of FORD MOTOR CO.
    NOTE: LH shown, RH similar.
  15. Remove the drain plugs from the engine block. Allow the coolant to completely drain.
    • Install the drain plugs when finished.
    • To install, tighten to 20 Nm (15 lb-ft).
  16. Fig 8: Engine Block Drain Plug
    GF0013617Courtesy of FORD MOTOR CO.
  17. Remove the bolt and the battery cables from the engine.
  18. Fig 9: Bolt
    GF0013618Courtesy of FORD MOTOR CO.
  19. Disconnect the EGR tube from the exhaust manifold.
  20. Fig 10: EGR Tube At Exhaust Manifold
    GF0013619Courtesy of FORD MOTOR CO.
  21. Disconnect the 8 ignition coil electrical connectors.
  22. Fig 11: Ignition Coil Electrical Connectors
    GF0013684Courtesy of FORD MOTOR CO.
  23. Disconnect the 8 fuel injector electrical connectors.
  24. Fig 12: Fuel Injector Electrical Connectors
    GF0013685Courtesy of FORD MOTOR CO.
  25. Remove the 2 bolts and the intake manifold shield.
  26. Fig 13: Intake Manifold Shield
    GF0013622Courtesy of FORD MOTOR CO.
  27. Disconnect and remove the crankcase ventilation tube.
  28. Fig 14: Crankcase Ventilation Tube
    GF0013623Courtesy of FORD MOTOR CO.
  29. Remove the 4 generator mounting bracket bolts and the bracket.
  30. Fig 15: Generator Mounting Bracket Bolts
    GF0013624Courtesy of FORD MOTOR CO.
  31. Disconnect the throttle control and the throttle position (TP) sensor electrical connectors.
  32. Fig 16: Locating Throttle Control And Throttle Position (TP) Sensor Electrical Connectors
    G03881492Courtesy of FORD MOTOR CO.
  33. Disconnect the generator electrical connector.
  34. Fig 17: Generator Electrical Connector
    GF0013625Courtesy of FORD MOTOR CO.
  35. Disconnect the cylinder head temperature (CHT) sensor electrical connector.
  36. Fig 18: Cylinder Head Temperature (CHT) Sensor Electrical Connector
    GF0013626Courtesy of FORD MOTOR CO.
  37. Remove the generator wiring harness anchor from the LH front stud.
  38. Fig 19: Generator Wiring Harness Anchor
    GF0013686Courtesy of FORD MOTOR CO.
  39. Disconnect the ground wire from the RH rear stud.
  40. Fig 20: Ground Wire At RH Rear Stud
    GF0013628Courtesy of FORD MOTOR CO.
  41. Disconnect the camshaft position (CMP) sensor electrical connector.
  42. Fig 21: Camshaft Position (CMP) Sensor Electrical Connector
    GF0013629Courtesy of FORD MOTOR CO.
  43. Disconnect the radio ignition interference capacitor and remove the engine control sensor wiring.
  44. Fig 22: Radio Ignition Interference Capacitor
    GF0013630Courtesy of FORD MOTOR CO.
  45. Disconnect the knock sensor (KS) electrical connector and the wiring harness pin-type retainer.
  46. Fig 23: Locating Knock Sensor (KS) Electrical Connector And Wiring Harness Pin-Type Retainer
    GF0002682Courtesy of FORD MOTOR CO.
  47. Disconnect the vacuum hoses and the electrical connector.
  48. Fig 24: Vacuum Hoses & Electrical Connector
    GF0013687Courtesy of FORD MOTOR CO.
  49. Disconnect the fuel charging wiring from the intake manifold crash bracket and remove the harness from the engine assembly.
  50. Fig 25: Fuel Charging Wiring In Crash Bracket
    GF0013631Courtesy of FORD MOTOR CO.
  51. Disconnect the EGR tube nut from the EGR valve.
  52. Fig 26: EGR Tube Nut At EGR
    GF0013688Courtesy of FORD MOTOR CO.
  53. Remove the 2 generator bolts and the generator.
  54. Fig 27: Generator & Bolts
    GF0013633Courtesy of FORD MOTOR CO.
  55. Remove the intake manifold crash bracket bolt and prevent the bolt from contacting the cylinder head with a rubber band or tie strap.
  56. Fig 28: Tying Up Intake Manifold Crash Bracket Bolt
    GF0013545Courtesy of FORD MOTOR CO.
  57. Remove the intake manifold crash bracket stud bolt.
  58. Fig 29: Intake Manifold Crash Bracket Stud Bolt
    GF0013634Courtesy of FORD MOTOR CO.
  59. Remove the 8 bolts and the 8 ignition coils.
  60. Fig 30: Ignition Coils & Bolts
    GF0013568Courtesy of FORD MOTOR CO.
  61. Remove the 2 bolts and the coolant outlet adapter.
  62. Fig 31: Coolant Outlet Adapter & Bolts
    GF0013635Courtesy of FORD MOTOR CO.
  63. Remove the thermostat.
  64. Fig 32: Thermostat
    GF0013636Courtesy of FORD MOTOR CO.
  65. Remove the 8 bolts and the intake manifold.
    • Discard the intake manifold gaskets.
  66. Fig 33: Intake Manifold Bolts
    GF0013689Courtesy of FORD MOTOR CO.
    CAUTION: Do not use metal scrapers, wire brushes, power abrasive discs or other abrasive means to clean the sealing surfaces. These tools cause scratches and gouges which make leak paths.
  67. Clean the sealing surfaces.
  68. Fig 34: Intake Manifold Sealing Surfaces
    GF0013690Courtesy of FORD MOTOR CO.
  69. Remove the coolant bypass tube.
    1. Remove the retaining nut.
    2. Remove the ground strap.
    3. Remove the coolant bypass tube.
  70. Fig 35: Coolant Bypass Tube & Nut
    GF0013639Courtesy of FORD MOTOR CO.
  71. Remove the 2 bolts and the KS.
  72. Fig 36: Knock Sensor
    GF0013691Courtesy of FORD MOTOR CO.
  73. Loosen the 6 studs and 5 bolts and remove the LH valve cover.
    • Discard the gasket.
  74. Fig 37: LH Valve Cover
    GF0013640Courtesy of FORD MOTOR CO.
  75. Loosen the 7 studs and 4 bolts and remove the RH valve cover.
    • Discard the gasket.
  76. Fig 38: RH Valve Cover
    GF0013641Courtesy of FORD MOTOR CO.
    CAUTION: Only use hand tools when removing or installing the spark plugs, damage may occur to the cylinder head or spark plug.
    NOTE: Use compressed air to remove any foreign material from the spark plug well before removing the spark plugs.
  77. Remove the 8 spark plugs.
  78. Fig 39: Spark Plug
    GF0013642Courtesy of FORD MOTOR CO.
  79. Position the lobe of the camshaft upward.
  80. Fig 40: Positioning Camshaft Lobe Up
    GF0013570Courtesy of FORD MOTOR CO.
  81. Install the special tool between the valve spring coils to prevent valve stem seal damage.
  82. Fig 41: Installing Special Tool Between Valve Spring Coils
    G03962476Courtesy of FORD MOTOR CO.
    CAUTION: If the components are to be reinstalled, they must be installed in the same positions. Mark the components for installation into their original locations. Failure to follow these instructions may result in engine damage.
  83. Using the special tool, compress the valve springs and remove the 16 camshaft roller followers.
  84. Fig 42: Removing Camshaft Roller Followers
    GF0013643Courtesy of FORD MOTOR CO.
  85. Remove the bolt and the accessory drive belt idler pulley.
  86. Fig 43: Accessory Drive Belt Idler Pulley Bolt
    GF0013692Courtesy of FORD MOTOR CO.
  87. Remove the 4 bolts and the coolant pump pulley.
  88. Fig 44: Coolant Pump Pulley Bolts
    GF0013645Courtesy of FORD MOTOR CO.
  89. Remove the 4 bolts and the coolant pump.
  90. Fig 45: Coolant Pump Bolts
    GF0000354Courtesy of FORD MOTOR CO.
  91. Remove the crankshaft pulley bolt.
  92. Fig 46: Crankshaft Pulley Bolt
    GF0013646Courtesy of FORD MOTOR CO.
  93. Using the special tool, remove the crankshaft pulley.
  94. Fig 47: Removing Crankshaft Pulley
    GF0013560Courtesy of FORD MOTOR CO.
  95. Using the special tool, remove the crankshaft front seal.
  96. Fig 48: Removing Crankshaft Front Seal Using Special Tool
    G03919889Courtesy of FORD MOTOR CO.
  97. Remove the 16 bolts and the oil pan.
    • Discard the gasket.
  98. Fig 49: Oil Pan, Bolt & Gasket
    GF0013693Courtesy of FORD MOTOR CO.
  99. Remove the 3 bolts, the oil pump screen and pickup tube.
  100. Fig 50: Oil Pump Screen And Pickup Tube & Bolts
    GF0011701Courtesy of FORD MOTOR CO.
  101. Remove the oil pump screen and pickup tube spacer.
  102. Fig 51: Oil Pump Screen And Pickup Tube Spacer
    GF0011702Courtesy of FORD MOTOR CO.
    NOTE: Correct fastener location is essential for the assembly procedure. Record fastener location.
  103. Remove the 15 fasteners in the sequence shown.
  104. Fig 52: Engine Front Cover Fastener Removal Sequence
    GF0013566Courtesy of FORD MOTOR CO.
  105. Remove the engine front cover from the cylinder block.
  106. Fig 53: Removing Engine Front Cover From Cylinder Block
    GF0000349Courtesy of FORD MOTOR CO.
  107. Remove the crankshaft sensor ring from the crankshaft.
  108. Fig 54: View Of Crankshaft Sensor Ring At Crankshaft
    G04583449Courtesy of FORD MOTOR CO.
  109. Position the crankshaft with the keyway at the 12 o'clock position.
  110. Fig 55: Crankshaft With Keyway At 12 O'clock Position
    GF0002691Courtesy of FORD MOTOR CO.
  111. Remove the timing chain tensioning system from both timing chains.
    1. Remove the 4 bolts.
    2. Remove the timing chain tensioners.
    3. Remove the timing chain tensioner arms.
  112. Fig 56: Identifying Timing Chain Tensioning System
    G03962450Courtesy of FORD MOTOR CO.
    CAUTION: Unless otherwise instructed, at no time when the timing chains are removed and the cylinders heads are installed is the crankshaft or camshaft to be rotated. Severe piston and valve damage will occur.
  113. Remove the LH and RH timing chains and the crankshaft sprocket.
    • Remove the RH timing chain from the camshaft sprocket.
    • Remove the RH timing chain from the crankshaft sprocket.
    • Repeat for the LH timing chain and crankshaft sprocket.
  114. Fig 57: View Of Left And Right Timing Chains, Sprockets And Crankshaft Gear
    G03885313Courtesy of FORD MOTOR CO.
  115. Remove both timing chain guides.
    1. Remove the 4 bolts.
    2. Remove the LH timing chain guide.
    3. Remove the bolts.
    4. Remove the RH timing chain guide.
  116. Fig 58: Identifying Timing Chain Guides
    G03962452Courtesy of FORD MOTOR CO.
  117. Remove the RH exhaust manifold.
    1. Remove the 8 nuts and discard.
    2. Remove the RH exhaust manifold.
    3. Remove the RH exhaust manifold gasket and discard.
  118. Fig 59: Locating Exhaust Manifold
    G03947754Courtesy of FORD MOTOR CO.
  119. Remove and discard the 8 RH exhaust manifold studs.
  120. Remove the LH exhaust manifold.
    1. Remove the 8 nuts and discard.
    2. Remove the LH exhaust manifold.
    3. Remove the LH exhaust manifold gaskets and discard.
  121. Fig 60: Identifying LH Exhaust Manifold
    GF0002685Courtesy of FORD MOTOR CO.
  122. Remove and discard the 8 LH exhaust manifold studs.
  123. Clean and inspect the exhaust manifolds. For additional information, refer to ENGINE SYSTEM - GENERAL INFORMATION article.
  124. Remove the bolt and the oil level indicator tube.
  125. Fig 61: Oil Level Indicator Tube Bolt
    GF0013694Courtesy of FORD MOTOR CO.
  126. Install the special tool on both ends of the cylinder head.
  127. Fig 62: Identifying Special Tool (303-572)
    G04671899Courtesy of FORD MOTOR CO.
    NOTE: The hydraulic lash adjusters must be reinstalled in their original locations. Record the hydraulic lash adjuster locations.
  128. Remove the 16 hydraulic lash adjusters.
  129. Fig 63: Locating Hydraulic Lash Adjusters
    GF0000287Courtesy of FORD MOTOR CO.
    CAUTION: The cylinder head must be cool before removing it from the engine. Cylinder head warpage may result if a warm or hot cylinder head is removed.
    CAUTION: Aluminum surfaces are soft and can be scratched easily. Never place the cylinder head gasket surface, unprotected, on a bench surface. The scratches may cause leak paths.
    CAUTION: Do not use metal scrapers, wire brushes, power abrasive discs or other abrasive means to clean the sealing surfaces. These tools cause scratches and gouges that make leak paths. Use a plastic scraping tool to remove all traces of the head gasket.
    NOTE: Place clean shop towels over exposed engine cavities. Carefully remove the towels so foreign material is not dropped into the engine.
    NOTE: The cylinder head bolts must be discarded and new bolts installed. They are a tighten-to-yield design and cannot be reused.
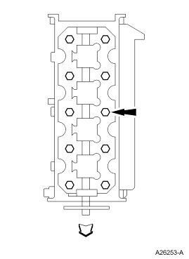
  130. Remove the 10 bolts and the RH cylinder head.
    • Discard the cylinder head gasket.
    • Discard the cylinder head bolts.
  131. Fig 64: Identifying Cylinder Head Gasket And Bolts
    GF0000350Courtesy of FORD MOTOR CO.
    CAUTION: The cylinder head must be cool before removing it from the engine. Cylinder head warpage may result if a warm or hot cylinder head is removed.
    CAUTION: Aluminum surfaces are soft and can be scratched easily. Never place the cylinder head gasket surface, unprotected, on a bench surface. The scratches may cause leak paths.
    CAUTION: Do not use metal scrapers, wire brushes, power abrasive discs or other abrasive means to clean the sealing surfaces. These tools cause scratches and gouges that make leak paths. Use a plastic scraping tool to remove all traces of the head gasket.
    NOTE: Place clean shop towels over exposed engine cavities. Carefully remove the towels so foreign material is not dropped into the engine.
    NOTE: The cylinder head bolts must be discarded and new bolts installed. They are a tighten-to-yield design and cannot be reused.
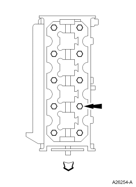
  132. Remove the 10 bolts and the LH cylinder head.
    • Discard the cylinder head gasket.
    • Discard the cylinder head bolts.
  133. Fig 65: Identifying Cylinder Head Bolts
    GF0011700Courtesy of FORD MOTOR CO.
    CAUTION: Do not use metal scrapers, wire brushes, power abrasive discs or other abrasive means to clean the sealing surfaces. These tools cause scratches and gouges, which make leak paths. Use a plastic scraping tool to remove all traces of the head gasket.
    NOTE: Observe all warnings or cautions and follow all application directions contained on the packaging of the silicone gasket remover and the metal surface prep.
    NOTE: If there is no residual gasket material present, metal surface prep can be used to clean and prepare the surfaces.
  134. Clean the cylinder head-to-cylinder block mating surfaces of both cylinder heads and the cylinder block.
    1. Remove any large deposits of silicone or gasket material with a plastic scraper.
    2. Apply silicone gasket remover, following package directions, and allow to set for several minutes.
    3. Remove the silicone gasket remover with a plastic scraper. A second application of silicone gasket remover may be required if residual traces of silicone or gasket material remain.
    4. Apply metal surface prep, following package directions, to remove any remaining traces of oil or coolant, and to prepare the surfaces to bond with the new gasket. Do not attempt to make the metal shiny. Some staining of the metal surfaces is normal.
  135. NOTE: The straightedge used must be flat within 0.0051 mm (0.0002 in) per foot of tool length.
  136. Support the cylinder heads on a bench with the head gasket side up. Inspect all areas of the deck face with a straightedge, paying particular attention to the oil pressure feed area. The cylinder heads must not have depressions deeper than 0.0254 mm (0.001 in) across at 38.1 mm (1.5 in) square area, or scratches more than 0.0254 mm (0.001 in).
  137. Remove the 4 bolts and the oil filter adapter.
    • Discard the gasket.
  138. Fig 66: Oil Filter Adapter Bolts
    GF0013695Courtesy of FORD MOTOR CO.
  139. Remove the 3 oil pump bolts and the oil pump.
  140. Fig 67: Locating Oil Pump Bolts
    G04638972Courtesy of FORD MOTOR CO.
  141. Before removing the pistons, inspect the top of the cylinder bores. If necessary, remove the ridge or carbon deposits from each cylinder using an cylinder ridge reamer, following the manufacturer instructions.
  142. Fig 68: Cylinder Ridge Reamer
    GF0013696Courtesy of FORD MOTOR CO.
    NOTE: Verify that the connecting rods and rod caps have orientation numbers cast into them. If not, number the connecting rods and rod caps for correct orientation.
  143. Remove the 2 bolts and the connecting rod cap.
    • Discard the bolts.
  144. Fig 69: Locating Connecting Rod Caps
    GF0000355Courtesy of FORD MOTOR CO.
    NOTE: Do not scratch the cylinder walls or crankshaft journals with the connecting rod.
  145. Using the special tool, push the piston through the top of the cylinder block.
  146. Fig 70: Pushing Piston Through Top Of Cylinder Block
    G03920342Courtesy of FORD MOTOR CO.
    CAUTION: Servicing the bottom end of the engine (crankshaft, bearings) requires that cylinder heads be removed. Failure to do so may result in engine damage.
  147. Remove the crankshaft bearing cap fasteners.
    1. Remove and discard the 10 cross-mounted main cap bolts.
    2. Loosen the 10 jack screws.
    3. Remove and discard the 10 main cap bolts.
  148. Fig 71: Locating Crankshaft Bearing Cap Fasteners
    GF0002696Courtesy of FORD MOTOR CO.
  149. Remove the 5 main bearing caps and the lower crankshaft main bearings.
  150. Fig 72: Locating Main Bearing Caps, Lower Crankshaft Main Bearings And Lower Thrust Washer
    GF0000356Courtesy of FORD MOTOR CO.
  151. Remove the crankshaft and the upper crankshaft main bearings from the cylinder block.
  152. Fig 73: Removing Crankshaft, Upper Crankshaft Main Bearings And Upper Thrust Washers From Cylinder Block
    GF0000357Courtesy of FORD MOTOR CO.