LEMON Manuals: Even more car manuals for everyone: 1960-2025
Home >> Ford >> 2007 >> Crown Victoria V8-4.6L VIN W >> Repair and Diagnosis >> Heating and Air Conditioning >> Control Assembly >> Service and Repair >> Function Selector Switch
April 5, 2026: LEMON Manuals is launched! Read the announcement.

Function Selector Switch

FUNCTION SELECTOR SWITCH

Removal and Installation
1. Remove the climate control assembly.
2. Pull and remove the function selector switch knob.







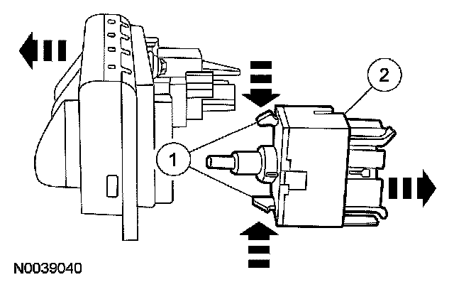
3. Remove the function selector switch.
1 Release the tabs.
2 Remove the function selector switch.

4. To install, reverse the removal procedure.