LEMON Manuals: Even more car manuals for everyone: 1960-2025
Home >> Ford >> 2007 >> Cutaway 6.0 P >> Repair and Diagnosis >> Engine Performance >> System >> Engine Controls - Description And Operation -- Diesel >> Diesel Fuel System >> Fuel System
April 5, 2026: LEMON Manuals is launched! Read the announcement.

Fuel System

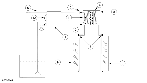
Fuel is drawn from the fuel tank through the primary filter (located in the horizontal fuel conditioning module) by the electric fuel pump. Pressurized fuel, approximately 310-379 kPa (45-55 psi), is supplied to the secondary filter (the fuel filter housing located on the front left side of the engine) by means of the electric pump and regulator valve. The regulator relieves the pressure, sending fuel back to the fuel tank. Only the filtered fuel going through the fuel filter goes to the heads. A check valve is located on both heads to prevent fuel pressure spikes in the fuel rail.

Fig 1: Fuel System Components Schematic
GF0001621
Item Description
1 Electric fuel pump
2 Fuel inlet
3 Fuel filter housing
4 Fuel filter (secondary)
5 Regulator
6 Fuel return line
7 Check valves
8 Right head
9 Left head
10 Restriction check
11 Fuel pump pressure check
12 Fuel filter (primary)