LEMON Manuals: Even more car manuals for everyone: 1960-2025
Home >> Ford >> 2007 >> Edge SE, AWD >> Repair and Diagnosis >> Transmission >> Automatic Trans >> Automatic Transmission >> Disassembly And Assembly Of Subassemblies >> Solenoid Body Assembly >> Notes
April 5, 2026: LEMON Manuals is launched! Read the announcement.

Solenoid Body Assembly: Notes

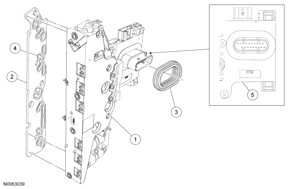
Fig 1: Exploded View Of Solenoid Body Assembly
GF0031593Courtesy of FORD MOTOR CO.
Item Part Number Description
1 7Z369 Solenoid body
2 7H200 Solenoid body filter
3 7J213 Seal - solenoid body electrical connector
4 - Solenoid body filter screens
5 - Lead frame area