LEMON Manuals: Even more car manuals for everyone: 1960-2025
Home >> Ford >> 2007 >> Edge SEL Plus, AWD >> Repair and Diagnosis >> Engine Performance >> System >> Engine Controls - Description And Operation (Except Diesel & Hybrid) >> Intake Air Systems >> Overview
April 5, 2026: LEMON Manuals is launched! Read the announcement.

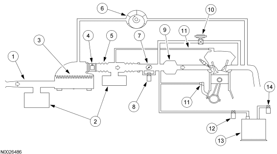
Intake Air Systems: Overview

The intake air system provides clean air to the engine, optimizes air flow, and reduces unwanted induction noise. The intake air system consists of an air cleaner assembly, resonator assemblies, and hoses. Some vehicles use a hydrocarbon filter trap to help reduce emissions by preventing fuel vapor from escaping into the atmosphere from the intake when the engine is off. It is typically located inside the air intake system. The mass air flow (MAF) sensor is attached to the air cleaner assembly and measures the volume of air delivered to the engine. The hydrocarbon trap is part of the EVAP system. For more information on the EVAP system, refer to EVAPORATIVE EMISSION (EVAP) SYSTEMS . The MAF sensor can be replaced as an individual component. The intake air system also contains a sensor that measures the intake air temperature (IAT), which is also integrated with the MAF sensor. For additional information on the intake air system components, refer to ENGINE CONTROL COMPONENTS . Intake air components can be separate components or part of the intake air housing. The function of a resonator is to reduce induction noise. The intake air components are connected to each other and to the throttle body assembly with hoses.

Fig 1: Typical Intake Air System
GF0001469Courtesy of FORD MOTOR CO.
Intake Air System Component
1 Air Cleaner Intake Pipe
2 Intake Air Resonator
3 Air Cleaner Element
4 Mass Air Flow/Intake Air Temperature
5 Air Cleaner Outlet
6 Secondary AIR Pump (if equipped)
7 Throttle Body
8 Idle Air Control
9 Upper Intake Manifold
10 Exhaust Gas Recirculation (EGR)
11 Positive Crankcase Ventilation (PCV)
12 Evaporative Emission Canister Purge Valve
13 Evaporative Emission Canister
14 Evaporative Emission Canister Vent (CV) Solenoid