LEMON Manuals: Even more car manuals for everyone: 1960-2025
Home >> Ford >> 2007 >> Edge SEL Plus, AWD >> Repair and Diagnosis >> External Pages >> Different car >> Section 1420 (Anti-Lock Brake System - Vehicle Dynamic Systems) >> Diagnosis And Testing >> Anti-Lock Control - Hybrid >> Pinpoint Tests >> Pinpoint Test W: Traction Control Cannot Be Disabled >> Pinpoint Test W: Traction Control Cannot Be Disabled
April 5, 2026: LEMON Manuals is launched! Read the announcement.

Pinpoint Test W: Traction Control Cannot Be Disabled

WARNING: This page is about a different car, the 2010 Mercury Mariner and 2010 Ford Escape. However, it is still accessible from the selected car via links, so may be relevant.
NOTE: Use the Flex Probe Kit for all test connections to prevent damage to the wiring terminals. Do not use standard multi-meter probes.
  1. W1 VERIFY THAT THE KEY IN USE IS NOT RESTRICTED 
    • Ignition ON.
    • Monitor the message center while pressing the stability/traction control switch.
    • Is ADVTRAC ON MYKEY SETTING displayed in the message center? 
    1. Yes:  INFORM the customer that the key being used is MyKey™-restricted. If necessary, REFER to the Owner's Literature for information regarding the programming of MyKey™ features. Using an Administrator key, TEST the system for normal operation.
    2. No:  GO to W2  .
  2. W2 VERIFY ALL WIRING CONNECTIONS 
    • Ignition OFF.
    • Disconnect: ABS Module C155.
    • Disconnect: Stability/Traction Control Switch C280.
    • Using a good light source, inspect each connector terminal for any corrosion.
    • Inspect both connectors for any pushed-out pins.

      Refer to appropriate SYSTEM WIRING DIAGRAMS article for schematic and connector information.

    • Using a suitable mating terminal, check each female terminal for deformed or enlarged contacts by comparing the mating terminal's fit between each of the following pins:
      • C155-7
      • C280-2
      • C280-6
        Fig 1: Identifying ABS Module C155 And Stability/Traction Control Switch C280 Connector Pins
        G06389209Courtesy of FORD MOTOR CO.
    • Refer to appropriate SYSTEM WIRING DIAGRAMS article for schematic and connector information.
    • Is each terminal free of corrosion, pushed-out pins or spread terminals? 
    1. Yes:  GO to W3  .
    2. No:  REPAIR the affected terminal(s). CLEAR the DTCs. REPEAT the self-test.
  3. W3 CHECK THE STABILITY/TRACTION CONTROL SWITCH 
    • Ignition OFF.
    • Measure the resistance between the stability/traction control switch C280-6, component side and C280-2, component side while pressing and releasing the switch.
    • Is the resistance greater than 10,000 ohms with the switch released and less than 5 ohms with the switch pressed? 
    1. Yes:  GO to W4  .
    2. No:  INSTALL a new stability/traction control switch. REFER to STABILITY/TRACTION CONTROL SWITCH . TEST the system for normal operation.
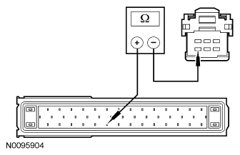
  4. W4 CHECK THE SIGNAL CIRCUIT FOR AN OPEN 
    • Measure the resistance between the ABS module C155-7, circuit CCA15 (YE/GY), harness side and stability/traction control switch C280-6, circuit CCA15 (YE/GY), harness side.
      Fig 2: Checking Signal Circuit For An Open
      G06094598Courtesy of FORD MOTOR CO.
    • Is the resistance less than 5 ohms? 
    1. Yes:  GO to W5  .
    2. No:  REPAIR circuit CCA15 (YE/GY). TEST the system for normal operation.
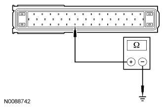
  5. W5 CHECK THE SIGNAL CIRCUIT FOR A SHORT TO GROUND 
    • Measure the resistance between the ABS module C155-7, circuit CCA15 (YE/GY), harness side and ground.
      Fig 3: Measuring Resistance Between ABS Module C155-7, Circuit CCA15 (YE/GY) And Ground
      G06094599Courtesy of FORD MOTOR CO.
    • Is the resistance greater than 10,000 ohms? 
    1. Yes:  GO to W6  .
    2. No:  REPAIR circuit CCA15 (YE/GY). TEST the system for normal operation.
  6. W6 CHECK THE GROUND CIRCUIT FOR AN OPEN 
    • Measure the resistance between the stability/traction control switch C280-2, circuit GD114 (BK/BU), harness side and ground.
      Fig 4: Checking Stability/Traction Control Switch Ground Circuit For An Open
      G06094515Courtesy of FORD MOTOR CO.
    • Is the resistance less than 5 ohms? 
    1. Yes:  GO to W7  .
    2. No:  REPAIR circuit GD114 (BK/BU). TEST the system for normal operation.
  7. W7 CHECK FOR CORRECT ABS MODULE OPERATION 
    • Check for:
      • corrosion.
      • pushed-out pins.
      • spread terminals.
    • Connect: ABS Module C155.
    • Connect: Stability/Traction Control Switch C280.
    • Make sure the connector is seated correctly, then operate the system and verify the concern is still present.
    • Is the concern still present? 
    1. Yes:  INSTALL a new ABS module. REFER to ANTI-LOCK BRAKE SYSTEM (ABS) MODULE . TEST the system for normal operation.
    2. No:  The system is operating correctly at this time. The concern may have been caused by a loose or corroded connector. CLEAR the DTCs. REPEAT the self-test.