LEMON Manuals: Even more car manuals for everyone: 1960-2025
Home >> Ford >> 2007 >> Edge SEL Plus, AWD >> Repair and Diagnosis >> External Pages >> Different car >> Section 1577 (Supplemental Restraint System) >> Removal And Installation >> Occupant Classification Sensor - Manual Seat Track >> Installation
April 5, 2026: LEMON Manuals is launched! Read the announcement.

Occupant Classification Sensor - Manual Seat Track: Installation

WARNING: This page is about a different car, the 2010 Lincoln MKX and 2010 Ford Edge. However, it is still accessible from the selected car via links, so may be relevant.

All OCS weight sensor bolt(s) 

    NOTE: Do not overtighten the side plate with the Occupant Classification Sensor (OCS) weight sensor bolts to the bench or table. Tighten only enough to compress the spring washer. Overtightening may damage the side plate or OCS  weight sensor bolts.
    Fig 1: Compressing OCS Weight Sensor Bolt Spring Washer
    G06504859Courtesy of FORD MOTOR CO.
  1. Position the spring washer and OCS  weight sensor bolt in the side plate. Then clamp the side plate to a bench or table to compress the OCS  weight sensor bolt spring washer.
  2. NOTE: Make sure the OCS  weight sensor bolt retaining clip is seated fully in the OCS  weight sensor bolt groove underneath the OCS  weight sensor O-ring seal.
    Fig 2: Locating OCS Weight Sensor Bolt Retaining Clip
    G06504860Courtesy of FORD MOTOR CO.
  3. Install the 2 new OCS  weight sensor bolt retaining clips in the OCS  weight sensor groove underneath the O-ring seal.
  4. Unclamp the side plate with the installed OCS  weight sensor bolt from the bench or table.
    Fig 3: Locating OCS Weight Sensor Bolt
    G06504857Courtesy of FORD MOTOR CO.
  5. NOTE: Slight rotational adjustment of the OCS  weight sensors bolts may be necessary to install the OCS  weight sensor bolts and side plate to the seat track rail.
    Fig 4: Locating Side Plate With OCS Weight Sensor Bolt
    G06504856Courtesy of FORD MOTOR CO.
  6. Install the side plate and OCS  weight sensor bolts to the seat track rail.
  7. NOTE: When installing the side plate to the seat track rail, 2 new OCS  weight sensor nuts must be installed.
  8. Install the 2 new OCS  weight sensor bolt nuts to the seat track rail.
    • Tighten to 33 Nm (24 lb-ft).
      Fig 5: Locating OCS Weight Sensor Bolt And Nuts
      G06504855Courtesy of FORD MOTOR CO.
  9. Install the seat adjuster handle to the seat track rail.
    Fig 6: Locating Seat Adjuster Handle
    G06504853Courtesy of FORD MOTOR CO.
  10. Engage the seat adjuster handle spring.
    Fig 7: Locating Seat Adjuster Handle Spring
    G06504852Courtesy of FORD MOTOR CO.
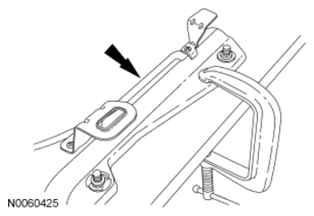
  11. Install the 2 rear cross brace screws.
    • Tighten to 5 Nm (44 lb-in).
      Fig 8: Locating Rear Cross Brace Screws
      G06504854Courtesy of FORD MOTOR CO.
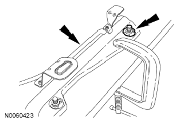
  12. Install the 2 front cross brace screws.
    • Tighten to 5 Nm (44 lb-in).
      Fig 9: Locating Front Cross Brace Screws
      G06504851Courtesy of FORD MOTOR CO.

    Inboard OCS weight sensor bolt(s) 

  13. Install the nut and safety belt buckle.
    • Tighten to 40 Nm (30 lb-ft).

    All OCS weight sensor bolt(s) 

  14. Install the manual seat track. For additional information, refer to REMOVAL AND INSTALLATION .
  15. Install the passenger seat and repower the SRS  . Do not prove out the SRS at this time  . For additional information, refer to REMOVAL AND INSTALLATION .
  16. Carry out the System Reset procedure and prove out the SRS  . For additional information, refer to OCCUPANT CLASSIFICATION SENSOR (OCS) SYSTEM RESET .