LEMON Manuals: Even more car manuals for everyone: 1960-2025
Home >> Ford >> 2007 >> Edge SEL, AWD >> Repair and Diagnosis >> Transmission >> Automatic Trans >> Automatic Transmission >> Disassembly And Assembly Of Subassemblies >> Cover Assembly >> Assembly
April 5, 2026: LEMON Manuals is launched! Read the announcement.

Cover Assembly: Assembly

  1. Install the special tool on the cover and adjust the special tool to align the bottom edge of the special tool with the top edge of the bottom Teflon® seal groove.
  2. Fig 1: Installing Special Tool (307-578/3) On Cover
    GF0031886Courtesy of FORD MOTOR CO.
  3. Using the special tool, slide the Teflon® seal over the cover and into the groove.
    • Repeat the steps 1, 2 and 3 for the other 3 Teflon® seals.
  4. Fig 2: Sliding Teflon® Seal Over Cover Using Special Tools (307-578/3) & (307-578/2)
    GF0031887Courtesy of FORD MOTOR CO.
  5. Remove the special tools.
  6. Fig 3: Removing Special Tool (307-578/3) & (307-578/2)
    GF0031888Courtesy of FORD MOTOR CO.
  7. Install the special tool on the cover to size the 4 Teflon® seals.
  8. Fig 4: Installing Special Tool (307-578/1) On Cover To Size 4 Teflon® Seals
    GF0031889Courtesy of FORD MOTOR CO.
  9. Install the special tools.
  10. Fig 5: Installing Special Tool (307-588/1) & (307-588/2)
    GF0031890Courtesy of FORD MOTOR CO.
  11. Lubricate the sealing surfaces of the low/reverse piston with petroleum jelly and position the low/reverse piston in the cover.
  12. Fig 6: Locating Sealing Surfaces Of Low/Reverse Piston
    GF0031891Courtesy of FORD MOTOR CO.
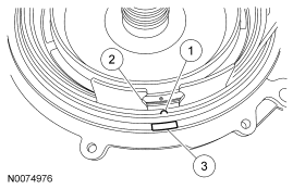
  13. Align the low/reverse piston bleed hole with the indention in the cover and the intermediate cylinder fill hole.
    1. Low/reverse piston bleed hole
    2. Low/reverse piston semicircle area
    3. Cover indention
  14. Fig 7: Aligning Low/Reverse Piston Bleed Hole With Indention In Cover
    GF0031892Courtesy of FORD MOTOR CO.
  15. Position the low/reverse piston in the cover, make sure that the piston bleed hole stays aligned with the indention in the cover and push the piston in the cylinder using the special tool.
  16. Fig 8: Pushing Piston In Cylinder Using Special Tools (307-588/1, 307-588/2, 307-588/3)
    GF0031893Courtesy of FORD MOTOR CO.
  17. Remove the special tools.
  18. Fig 9: Removing Special Tools (307-588/1) & (307-588/2)
    GF0031890Courtesy of FORD MOTOR CO.
  19. Install the low/reverse piston return spring with the tabs facing down.
  20. Fig 10: Identifying Low/Reverse Piston Return Spring
    GF0031883Courtesy of FORD MOTOR CO.
  21. Install the special tools.
  22. Fig 11: Installing Special Tools (307-584/2) & (307-588/3)
    GF0031882Courtesy of FORD MOTOR CO.
    NOTE: Make sure the snap ring is fully seated in the groove before releasing the pressure on the return spring.
  23. Compress the low/reverse piston return spring, install the snap ring and remove the special tools.
  24. Fig 12: Installing Snap Ring & Removing Special Tools (307-584/2) & (307-588/3)
    GF0031881Courtesy of FORD MOTOR CO.
  25. Lubricate the sealing surfaces on the intermediate clutch piston with petroleum jelly.
  26. Fig 13: Locating Sealing Surfaces On Intermediate Clutch Piston
    GF0031894Courtesy of FORD MOTOR CO.
  27. Install the intermediate clutch piston.
  28. Fig 14: Identifying Intermediate Clutch Piston
    GF0031880Courtesy of FORD MOTOR CO.
  29. Install the intermediate clutch piston return spring.
  30. Fig 15: Identifying Intermediate Clutch Piston Return Spring
    GF0031879Courtesy of FORD MOTOR CO.
    NOTE: Make sure the snap ring is fully seated in the groove before releasing the pressure on the return spring.
  31. Using the special tools, compress the intermediate clutch piston return spring, install the snap ring and remove the special tools.
  32. Fig 16: Compressing Intermediate Clutch Piston Return Spring Using Special Tools (307-584/1, 307-584/2)
    GF0031878Courtesy of FORD MOTOR CO.
  33. Remove the special tool.
  34. Fig 17: Removing Special Tool (307-584/1)
    GF0031889Courtesy of FORD MOTOR CO.
  35. Lubricate the O-ring seal on the TSS sensor with clean automatic transmission fluid and install the TSS sensor in the cover and install the bolt.
    • Tighten to 12 Nm (9 lb-ft).
  36. Fig 18: Identifying TSS Sensor & Bolt
    GF0031876Courtesy of FORD MOTOR CO.