LEMON Manuals: Even more car manuals for everyone: 1960-2025
Home >> Ford >> 2007 >> Escape 2WD L4-2.3L VIN Z >> Repair and Diagnosis >> Specifications >> Mechanical Specifications >> Engine >> Oil Pump, Engine
April 5, 2026: LEMON Manuals is launched! Read the announcement.

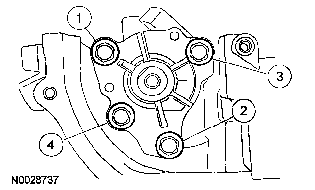
Oil Pump, Engine

Oil Pump Bolts





First pass 10 Nm (89 inch lbs.)
Final pass 20 Nm (15 ft. lbs.)