LEMON Manuals: Even more car manuals for everyone: 1960-2025
Home >> Ford >> 2007 >> Escape Base, 2.3 Z, 4WD, Automatic >> Repair and Diagnosis (Single Page) >> Engine Performance >> System >> Engine Controls - Pinpoint Test DX: Engine Coolant Temperature (ECT) Sensor Through Pinpoint Test Hf: Catalyst Efficiency Monitor And Exhaust Systems - (Except Diesel & Hybrid) >> PINPOINT TEST HE: Exhaust Gas Recirculation (EGR) Systems >> Test Procedure
April 5, 2026: LEMON Manuals is launched! Read the announcement.

Test Procedure

  1. HE1 CHECK FOR DTCS 
    • Are DTCs P0401, P0402, P0403, P0405, P0406, P1405, P1406, P1408, or P1409 present? 
    Yes No
    For DTCs P0401 and P1408, GO to  HE36.
    For DTC P0402, GO to  HE13.
    For KOEO and KOER DTCs P0403 and P1409, GO to  HE59.
    For continuous memory DTCs P0403 and P1409, GO to  HE64.
    For DTC P0405, GO to  HE2.
    For DTC P0406, GO to  HE6.
    For DTC P1405, GO to  HE27.
    For DTC P1406, GO to  HE31.
    For symptoms without DTCs, GO to  HE57.
    For all others, GO toDIAGNOSTIC TROUBLE CODE (DTC) CHARTS AND DESCRIPTIONS .
  2. HE2 DTC P0405: DETERMINE THE PRESENT DPFEGR PID VOLTAGE 
    NOTE: Depending on the application, verify a prior repair has not resulted in the differential pressure feedback EGR sensor being installed backwards or the vacuum hoses being installed on the opposite ports.
    • Key ON, engine OFF.
    • Access the PCM and monitor the DPFEGR PID.
    • Is the voltage less than 0.05 V? 
    Yes No
    GO to  HE3. An intermittent concern is suspected in the EGR system.
    GO to  HE12.
  3. HE3 CHECK THE VREF AND SIGRTN CIRCUITS FOR AN OPEN IN THE HARNESS 
    • Key in OFF position.
    • Differential Pressure Feedback EGR Sensor connector disconnected.
    • Key ON, engine OFF.
    • Measure the voltage between:
      ( + ) Differential Pressure Feedback EGR Sensor Connector, Harness Side ( - ) Differential Pressure Feedback EGR Sensor Connector, Harness Side
      VREF SIGRTN
    • Is the voltage between 4 - 5.5 V? 
    Yes No
    GO to  HE4. refer to PINPOINT TEST C .
  4. HE4 CHECK THE DPFE CIRCUIT(S) FOR A SHORT TO SIGRTN OR GND IN THE HARNESS 
    • Key in OFF position.
    • PCM connector disconnected.
    • Measure the resistance between:
      ( + ) PCM Connector, Harness Side ( - ) PCM Connector, Harness Side
      DPFE SIGRTN
    • Measure the resistance between:
      ( + ) PCM Connector, Harness Side ( - ) Vehicle Battery
      DPFE Negative terminal
    • Is the resistance greater than 10K ohms? 
    Yes No
    GO to  HE5. REPAIR the short circuit. CLEAR the DTCs. REPEAT the self-test.
  5. HE5 INDUCE THE OPPOSITE DIFFERENTIAL PRESSURE FEEDBACK EGR SENSOR VOLTAGE 
    • PCM connector connected.
    • Key ON, engine OFF.
    • Access the PCM and monitor the DPFEGR PID.
    • Is the voltage between 4 - 5.5 V? 
    Yes No
    INSTALL a new Differential Pressure Feedback EGR sensor.
    After installing the new differential pressure feedback EGR sensor, TURN the key to the ON position for approximately 5 seconds before starting. This allows the PCM to calibrate itself to the new differential pressure feedback EGR sensor. Failure to do this may result in an incorrect DTC P0402.
    CLEAR the DTCs. REPEAT the self-test.
    GO to  HE66.
  6. HE6 DTC P0406: DETERMINE THE PRESENT DPFEGR PID VOLTAGE 
    • Key ON, engine OFF.
    • Access the PCM and monitor the DPFEGR PID.
    • Is the voltage greater than 4 V? 
    Yes No
    GO to  HE7. An intermittent concern is suspected in the EGR system.
    GO to  HE12.
  7. HE7 CHECK THE VREF VOLTAGE TO THE DIFFERENTIAL PRESSURE FEEDBACK EGR SENSOR 
    • Key in OFF position.
    • Differential Pressure Feedback EGR Sensor connector disconnected.
    • Key ON, engine OFF.
    • Measure the voltage between:
      ( + ) Differential Pressure Feedback EGR Sensor Connector, Harness Side ( - ) Differential Pressure Feedback EGR Sensor Connector, Harness Side
      VREF SIGRTN
    • Is the voltage between 4 - 5.5 V? 
    Yes No
    GO to  HE8. refer to PINPOINT TEST C .
  8. HE8 CHECK THE DPFE AND SIGRTN CIRCUIT(S) FOR AN OPEN IN THE HARNESS 
    • Key in OFF position.
    • PCM connector disconnected.
    • Measure the resistance between:
      ( + ) PCM Connector, Harness Side ( - ) Differential Pressure Feedback EGR Sensor Connector, Harness Side
      DPFE DPFE
      SIGRTN SIGRTN
    • Are the resistances less than 5 ohms? 
    Yes No
    GO to  HE9. REPAIR the open circuit. CLEAR the DTCs. REPEAT the self-test.
  9. HE9 CHECK THE DPFE CIRCUIT FOR A SHORT TO VREF 
    • Measure the resistance between:
      ( + ) PCM Connector, Harness Side ( - ) PCM Connector, Harness Side
      VREF DPFE
    • Is the resistance greater than 10K ohms? 
    Yes No
    GO to  HE10. REPAIR the short circuit. CLEAR the DTCs. REPEAT the self-test.
  10. HE10 CHECK THE DPFE CIRCUIT FOR A SHORT TO VOLTAGE 
    • Key ON, engine OFF.
    • Measure the voltage between:
      ( + ) Differential Pressure Feedback EGR Sensor Connector, Harness Side ( - ) Vehicle Battery
      DPFE Negative terminal
    • Is the voltage less than 0.2 V? 
    Yes No
    GO to  HE11. REPAIR the short circuit. CLEAR the DTCs. REPEAT the self-test.
  11. HE11 CHECK THE DPFEGR PID 
    • Key in OFF position.
    • PCM connector connected.
    • Connect a 5 amp fused jumper wire between the following:
      Point A Differential Pressure Feedback EGR Sensor Connector, Harness Side Point B
      DPFE Ground
    • Key ON, engine OFF.
    • Access the PCM and monitor the DPFEGR PID.
    • Is the DPFEGR PID greater than 4.5 V with the jumper wire removed and is the DPFEGR PID less than 0.1 V with the jumper wire installed? 
    Yes No
    INSTALL a new Differential Pressure Feedback EGR sensor. CLEAR the DTCs. REPEAT the self-test. GO to  HE66.
  12. HE12 CARRY OUT A THOROUGH WIGGLE TEST ON THE DIFFERENTIAL PRESSURE FEEDBACK EGR HARNESS 
    • Access the PCM and monitor the DPFEGR PID.
    • Wiggle, shake, and bend small sections of the wiring harness while working from the sensor to the PCM.
    • Is there any change in the voltage reading, or is a concern present? 
    Yes No
    REPAIR as necessary.
    CLEAR the DTCs. REPEAT the self-test.
    Unable to duplicate or identify the concern at this time.
    refer to PINPOINT TEST Z .
  13. HE13 DTCS P0402 AND P1405: CHECK FOR SIMULTANEOUS PRESENCE 
    • Is DTC P0402 present with DTC P1405? 
    Yes No
    GO to  HE28. GO to  HE14.
  14. HE14 DTC P0402: CHECK FOR EGR FLOW AT IDLE WITH THE EGR VACUUM HOSE DISCONNECTED 
    NOTE: A pinched or plugged EGR vacuum hose can trap vacuum between the EGR vacuum regulator solenoid and EGR valve, not allowing the EGR valve to close.
    NOTE: Disregard DTC P1408 if it is generated as a result of carrying out the KOER self-test with the EGR vacuum source hose disconnected.
    • Trace each vacuum hose from the EGR vacuum regulator solenoid and verify each hose is connected correctly.
    • Verify the EGR vacuum hose is not pinched or plugged and is routed correctly.
    • Disconnect and plug the vacuum hose connected to the EGR valve.
    • Carry out the KOER self-test.
    • Does KOER DTC P0402 appear or are you unable to run the KOER self-test due to an engine stall or no start? 
    Yes No
    INSPECT the pressure hoses for correct routing, pinching, icing or other blockage.
    If OK, REMOVE and INSPECT the EGR valve and tube for signs of contamination, unusual wear, carbon deposits, binding or other damage.
    REPAIR as necessary.
    GO to  HE15.
    CONNECT the EGR valve vacuum hose.
    GO to  HE16.
  15. HE15 CARRY OUT THE KOER SELF-TEST 
    • Clear the DTCs.
    • Carry out the KOER self-test.
    • Is DTC P0402 present? 
    Yes No
    GO to  HE18. The test is complete and no concerns are found. CLEAR the DTCs. REPEAT the self-test.
  16. HE16 CHECK FOR EGR FLOW AT IDLE WITH THE EGR VACUUM HOSE CONNECTED 
    • Key in OFF position.
    • Connect the EGR valve vacuum hose.
    • Carry out the KOER self-test.
    • Does KOER DTC P0402 appear or are you unable to run the KOER self-test due to an engine stall or no start? 
    Yes No
    GO to  HE17. INSPECT the pressure hoses for pinching, icing or other blockage.
    REPAIR as necessary.
    GO to  HE23.
  17. HE17 CHECK THE DIFFERENTIAL PRESSURE FEEDBACK EGR SENSOR OUTPUT BY APPLYING VACUUM WITH THE HAND PUMP 
    • Disconnect the pressure hoses at the differential pressure feedback EGR sensor.
    • Connect the vacuum pump to the downstream connection at the sensor (intake manifold side of the sensor or the smaller diameter pickup tube).
    • Key ON, engine OFF.
    • Access the PCM and monitor the DPFEGR PID.
    • Apply 27 - 30 kPa (8 - 9 in-Hg) vacuum to the differential pressure feedback EGR sensor and hold for 10 seconds.
    • Quickly release vacuum.
      • The DPFEGR PID voltage must be between 0.2 and 1.3 volt with the key ON and no vacuum applied.
      • The DPFEGR PID voltage must increase to greater than 4 volts with the vacuum applied.
      • The DPFEGR PID must drop to less than 1.5 volts in less than 3 seconds when the vacuum is released.
    • Does the DPFEGR PID voltage indicate a concern in the differential pressure feedback EGR sensor? 
    Yes No
    INSTALL a new Differential Pressure Feedback EGR sensor.
    After installing the new differential pressure feedback EGR sensor, TURN the key to the ON position for approximately 5 seconds before starting. This allows the PCM to calibrate itself to the new differential pressure feedback EGR sensor. Failure to do this may result in an incorrect DTC P0402.
    CLEAR the DTCs. REPEAT the self-test.
    GO to  HE18.
  18. HE18 CHECK EGR FLOW AT IDLE WITH THE EGR VACUUM REGULATOR HARNESS CONNECTOR OFF 
    • Differential Pressure Feedback EGR Sensor connector connected.
    • Disconnect the vacuum hose at the EGR valve and connect the hose to the vacuum gauge.
    • Start the engine.
    • EGR Vacuum Regulator Solenoid connector disconnected.
    • Observe the vacuum gauge:
      • The EGR valve requires vacuum greater than 5.4 kPa (1.6 in-Hg) to begin to open.
      • If the vacuum reading remains greater than 5.4 kPa (1.6 in-Hg) after the EGR vacuum regulator solenoid is disconnected, a concern may be present in the EGR vacuum regulator solenoid.
    • Does the EGR vacuum remain greater than 5.4 kPa (1.6 in-Hg) at idle after the EGR vacuum regulator is disconnected? 
    Yes No
    GO to  HE19. GO to  HE20.
  19. HE19 INSPECT THE EGR VACUUM REGULATOR SOLENOID VENT FOR BLOCKAGE 
    NOTE: When the EGR valve is closed, the EGR vacuum regulator solenoid vacuum is vented through the solenoid vent to the atmosphere. A plugged EGR vacuum regulator solenoid vent does not allow EGR vacuum to vent to the atmosphere.
    • Key in OFF position.
    • Remove the EGR vacuum regulator solenoid vent cap.
    • Remove the filter and inspect for blockage or icing.
    • Is the EGR vacuum regulator solenoid vent or vent filter plugged or restricted? 
    Yes No
    REPAIR the vent, or if not repairable, INSTALL a new EGR vacuum regulator solenoid. REFER to the appropriate ENGINE EMISSION CONTROL article.
    CLEAR the DTCs. REPEAT the self-test.
    INSTALL a new EGR Vacuum Regulator solenoid.
    REFER to the appropriate ENGINE EMISSION CONTROL article.
    CLEAR the DTCs. REPEAT the self-test.
  20. HE20 CHECK THE EGR VACUUM REGULATOR SOLENOID COIL RESISTANCE 
    • Key in OFF position.
    • Measure the resistance between:
      ( + ) EGR Vacuum Regulator Solenoid Connector, Component Side ( - ) EGR Vacuum Regulator Solenoid Connector, Component Side
      VPWR - Pin 1 EVR - Pin 2
    • Is the resistance between 26 - 40 ohms? 
    Yes No
    GO to  HE21. INSTALL a new EGR Vacuum Regulator solenoid.
    REFER to the appropriate ENGINE EMISSION CONTROL article.
    CLEAR the DTCs. REPEAT the self-test.
  21. HE21 CHECK THE EGR VACUUM REGULATOR CIRCUIT FOR A SHORT TO GROUND IN THE HARNESS 
    • PCM connector disconnected.
    • Measure the resistance between:
      ( + ) PCM Connector, Harness Side ( - ) Vehicle Battery
      EVR Negative terminal
    • Is the resistance greater than 10K ohms? 
    Yes No
    GO to  HE22. REPAIR the short circuit. CLEAR the DTCs. REPEAT the self-test.
  22. HE22 CHECK THE EGR VACUUM REGULATOR CIRCUIT FOR SHORT TO VREF 
    • Measure the resistance between:
      ( + ) PCM Connector, Harness Side ( - ) PCM Connector, Harness Side
      EVR VREF
    • Is the resistance greater than 10K ohms? 
    Yes No
    GO to  HE66. REPAIR the short circuit. CLEAR the DTCs. REPEAT the self-test.
  23. HE23 CHECK THE DIFFERENTIAL PRESSURE FEEDBACK EGR SENSOR OUTPUT BY APPLYING VACUUM WITH THE HAND PUMP 
    • Disconnect the pressure hoses at the differential pressure feedback EGR sensor.
    • Connect the vacuum pump to the downstream connection at the sensor (intake manifold side of the sensor or the smaller diameter pickup tube).
    • Key ON, engine OFF.
    • Access the PCM and monitor the DPFEGR PID.
    • Apply 27 - 30 kPa (8 - 9 in-Hg) vacuum to the differential pressure feedback EGR sensor and hold for 10 seconds.
    • Quickly release the vacuum.
      • The DPFEGR PID voltage must be between 0.25 and 1.3 volts with the key ON and no vacuum applied.
      • The DPFEGR PID voltage must increase to greater than 4 volts with the vacuum applied.
      • The DPFEGR PID must drop to less than 1.5 volts in less than 3 seconds when the vacuum is released.
    • Does the DPFEGR PID voltage indicate a concern in the differential pressure feedback EGR sensor? 
    Yes No
    INSTALL a new Differential Pressure Feedback EGR sensor.
    After installing the new differential pressure feedback EGR sensor, TURN the key to the ON position for approximately 5 seconds before starting. This allows the PCM to calibrate itself to the new differential pressure feedback EGR sensor. Failure to do this may result in an incorrect DTC P0402.
    CLEAR the DTCs. REPEAT the self-test.
    GO to  HE24.
  24. HE24 CHECK THE EGR VALVE OPERATION 
    NOTE: Typical sensor voltage with no EGR flow is between 0.25 volt and 1.3 volts.
    NOTE: A higher voltage at idle may be due to a non-seating or heavily carboned EGR valve pintle.
    NOTE: DPFEGR PID voltage must increase as the valve opens and decrease as the valve closes. A slow return voltage is an indication of a binding or slow closing EGR valve.
    • Differential Pressure Feedback EGR Sensor connector connected.
    • Key ON, engine OFF.
    • Access the PCM and monitor the DPFEGR PID.
    • Disconnect the vacuum hose at the EGR valve and plug the hose.
    • Connect the vacuum pump to the EGR valve.
    • Start the engine.
    • Observe the DPFEGR PID at idle and compare it to the KOEO voltage.
    • Apply just enough vacuum to the EGR valve to open it without stalling the engine.
    • Quickly release the vacuum.
    • Repeat this 3 times.
    • Observe the DPFEGR PID.
    • Does the DPFEGR PID voltage indicate an open, binding or slow closing EGR valve? 
    Yes No
    REMOVE and INSPECT the EGR valve for signs of contamination, unusual wear, carbon deposits, binding or other damage.
    REPAIR as necessary.
    CLEAR the DTCs. REPEAT the self-test.
    GO to  HE25.
  25. HE25 CARRY OUT A THOROUGH WIGGLE TEST ON THE EGR VACUUM REGULATOR HARNESS 
    NOTE: An intermittent short to GND in the EGR vacuum regulator circuit causes the vacuum applied to the EGR valve to be higher than normal when the short is present. The vacuum available at the EGR valve at idle is normally below 3.4 kPa (1.6 in-Hg) for the valve to begin to open.
    NOTE: A concern is indicated by a sudden jump in the vacuum reading during the wiggle test.
    • Key in OFF position.
    • Remove the vacuum pump.
    • Connect the vacuum gauge to the EGR valve vacuum hose.
    • Connect a vacuum gauge to the EGR valve vacuum hose using a vacuum tee.
    • Key ON, engine running.
    • Observe the vacuum gauge.
      • Lightly tap on the EGR vacuum regulator solenoid.
      • Carry out a thorough wiggle test on the EGR vacuum regulator harness.
    • Is a concern present? 
    Yes No
    ISOLATE the concern and REPAIR as necessary.
    CLEAR the DTCs. REPEAT the self-test.
    CONNECT the vacuum hose(s).
    GO to  HE26.
  26. HE26 INSPECT THE EGR VACUUM REGULATOR SOLENOID AND VACUUM HOSES FOR PLUGGING 
    • Key in OFF position.
    • Remove the EGR vacuum regulator solenoid vent cap.
    • Remove the filter and inspect for blockage or icing.
    • Inspect the pressure hoses for pinching, icing or other blockage.
    • Is the EGR vacuum regulator solenoid vent or vent filter plugged or restricted? 
    Yes No
    REPAIR, or if not repairable, INSTALL a new EGR vacuum regulator solenoid.
    REFER to the appropriate ENGINE EMISSION CONTROL article.
    CLEAR the DTCs. REPEAT the self-test.
    refer to PINPOINT TEST Z .
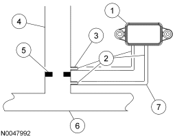
  27. HE27 DTC P1405: INSPECT THE UPSTREAM PRESSURE HOSE CONNECTIONS 
    • Inspect the upstream hose at the differential pressure feedback EGR sensor and orifice tube assembly for a disconnect or a poor connection.
      Fig 1: Typical Differential Pressure Feedback EGR System
      GF0001506Courtesy of FORD MOTOR CO.
      TYPICAL DIFFERENTIAL PRESSURE FEEDBACK EGR SYSTEM

      Item Number Description
      1 Differential Pressure Feedback EGR Sensor
      2 Pickup Tubes
      3 Upstream Pressure Hose
      4 To EGR Valve
      5 Orifice Tube Assembly
      6 Exhaust Manifold
      7 Downstream Pressure Hose
    • Is vacuum hose off or poorly connected? 
    Yes No
    REPAIR as necessary.
    CLEAR the DTCs. REPEAT the self-test.
    GO to  HE28.
  28. HE28 INSPECT THE UPSTREAM PRESSURE HOSE FOR PLUGGING 
    NOTE: It is essential that only the correct Ford replacement pressure hose be used.
    • Visually inspect the upstream pressure hose routing. The hose must not be pinched or have dips in it where water could settle or freeze.
    • Remove the upstream pressure hose and carefully inspect for plugging, water, or leaks.
    • Is a concern present? 
    Yes No
    REPAIR or INSTALL a new pressure hose as necessary.
    CLEAR the DTCs. REPEAT the self-test.
    GO to  HE29.
  29. HE29 CHECK THE ORIFICE TUBE ASSEMBLY AND THE DIFFERENTIAL PRESSURE FEEDBACK EGR SENSOR 
    • Inspect the upstream connection on the differential pressure feedback EGR sensor for damage or plugging at the sensor.
    • Inspect the exhaust manifold side pressure tube at the orifice tube assembly for plugging or damage.
    • Is the differential pressure feedback EGR sensor or orifice tube assembly plugged or damaged? 
    Yes No
    REPAIR or INSTALL a new Differential Pressure Feedback EGR sensor or orifice tube assembly as necessary.
    After installing the new differential pressure feedback EGR sensor, TURN the key to the ON position for approximately 5 seconds before starting. This allows the PCM to calibrate itself to the new differential pressure feedback EGR sensor. Failure to do this may result in an incorrect DTC P0402.
    CLEAR the DTCs. REPEAT the self-test.
    GO to  HE30.
  30. HE30 CHECK THE DIFFERENTIAL PRESSURE FEEDBACK EGR SENSOR OUTPUT BY APPLYING VACUUM WITH THE HAND PUMP 
    • Disconnect the pressure hoses at the differential pressure feedback EGR sensor.
    • Connect the vacuum pump to the downstream connection at the sensor (intake manifold side of the sensor or the smaller diameter pickup tube).
    • Key ON, engine OFF.
    • Access the PCM and monitor the DPFEGR PID.
    • Apply 27 - 30 kPa (8 - 9 in-Hg) vacuum to the differential pressure feedback EGR sensor and hold for 10 seconds.
    • Quickly release the vacuum.
      • The DPFEGR PID voltage must be between 0.25 and 1.3 volts with the key ON and no vacuum applied.
      • The DPFEGR PID voltage must increase to greater than 4 volts with the vacuum applied.
      • The DPFEGR PID must drop to less than 1.5 volts in less than 3 seconds when the vacuum is released.
    • Does the DPFEGR PID voltage indicate a concern in the differential pressure feedback EGR sensor? 
    Yes No
    INSTALL a new Differential Pressure Feedback EGR sensor.
    After installing the new differential pressure feedback EGR sensor, TURN the key to the ON position for approximately 5 seconds before starting. This allows the PCM to calibrate itself to the new differential pressure feedback EGR sensor. Failure to do this may result in an incorrect DTC P0402.
    CLEAR the DTCs. REPEAT the self-test.
    refer to PINPOINT TEST Z .
  31. HE31 DTC P1406: INSPECT THE DOWNSTREAM PRESSURE HOSE CONNECTIONS 
    NOTE: If the concern is currently present, DTC P1408 appears when running the KOER self-test.
    • Verify the EGR valve is securely attached and exhaust gases are not leaking from the sealing surface.
    • Inspect the downstream hose at the differential pressure feedback EGR sensor and orifice tube assembly for a disconnect or a poor connection.
      Fig 2: Typical Differential Pressure Feedback EGR System
      GF0001506Courtesy of FORD MOTOR CO.
      TYPICAL DIFFERENTIAL PRESSURE FEEDBACK EGR SYSTEM

      Item Number Description
      1 Differential Pressure Feedback EGR Sensor
      2 Pickup Tubes
      3 Upstream Pressure Hose
      4 To EGR Valve
      5 Orifice Tube Assembly
      6 Exhaust Manifold
      7 Downstream Pressure Hose
    • Is vacuum hose off or poorly connected? 
    Yes No
    REPAIR as necessary.
    CLEAR the DTCs. REPEAT the self-test.
    GO to  HE32.
  32. HE32 INSPECT THE DOWNSTREAM PRESSURE HOSE FOR PLUGGING 
    NOTE: It is essential that only the correct Ford replacement pressure hose be used.
    • Visually inspect the downstream pressure hose routing.
    • Remove the upstream pressure hose and carefully inspect for plugging, water, or leaks.
    • Is a concern present? 
    Yes No
    REPAIR or INSTALL a new pressure hose as necessary.
    CLEAR the DTCs. REPEAT the self-test.
    GO to  HE33.
  33. HE33 CHECK THE ORIFICE TUBE ASSEMBLY AND THE DIFFERENTIAL PRESSURE FEEDBACK EGR SENSOR 
    • Inspect the connections at the differential pressure feedback EGR sensor for plugging or damage.
    • Inspect the intake manifold side pressure tube at the orifice tube assembly for plugging or damage.
    • Is the differential pressure feedback EGR sensor or orifice tube assembly plugged or damaged? 
    Yes No
    REPAIR or INSTALL a new Differential Pressure Feedback EGR sensor or orifice tube assembly as necessary.
    After installing the new differential pressure feedback EGR sensor, TURN the key to the ON position for approximately 5 seconds before starting. This allows the PCM to calibrate itself to the new differential pressure feedback EGR sensor. Failure to do this may result in an incorrect DTC P0402.
    CLEAR the DTCs. REPEAT the self-test.
    GO to  HE34.
  34. HE34 CHECK THE DIFFERENTIAL PRESSURE FEEDBACK EGR SENSOR OUTPUT BY APPLYING VACUUM WITH THE HAND PUMP 
    • Disconnect the pressure hoses at the differential pressure feedback EGR sensor.
    • Connect the vacuum pump to the downstream connection at the sensor (intake manifold side of the sensor or the smaller diameter pickup tube).
    • Key ON, engine OFF.
    • Access the PCM and monitor the DPFEGR PID.
    • Apply 27 - 30 kPa (8 - 9 in-Hg) vacuum to the differential pressure feedback EGR sensor and hold for 10 seconds.
    • Quickly release the vacuum.
      • The DPFEGR PID voltage must be between 0.25 and 1.3 volts with the key ON and no vacuum applied.
      • The DPFEGR PID voltage must increase to greater than 4 volts with the vacuum applied.
      • The DPFEGR PID must drop to less than 1.5 volts in less than 3 seconds when the vacuum is released.
    • Does the DPFEGR PID voltage indicate a concern in the differential pressure feedback EGR sensor? 
    Yes No
    GO to  HE35. refer to PINPOINT TEST Z .
  35. HE35 CHECK THE DPFE CIRCUIT(S) FOR AN OPEN IN THE HARNESS 
    • Key in OFF position.
    • PCM connector disconnected.
    • Measure the resistance between:
      ( + ) PCM Connector, Harness Side ( - ) Differential Pressure Feedback EGR Sensor Connector, Harness Side
      DPFE DPFE
      SIGRTN SIGRTN
      VREF VREF
    • Are the resistances greater than 5 ohms? 
    Yes No
    REPAIR the open circuit. CLEAR the DTCs. REPEAT the self-test. INSTALL a new Differential Pressure Feedback EGR sensor.
    After installing the new differential pressure feedback EGR sensor, TURN the key to the ON position for approximately 5 seconds before starting. This allows the PCM to calibrate itself to the new differential pressure feedback EGR sensor. Failure to do this may result in an incorrect DTC P0402.
    CLEAR the DTCs. REPEAT the self-test.
  36. HE36 DTC P0401: CARRY OUT THE KOER SELF-TEST 
    • Carry out the KOER self-test.
    • Does DTC P1408 appear? 
    Yes No
    GO to  HE37. GO to  HE53.
  37. HE37 KOER AND CONTINUOUS MEMORY DTC P1408: RETRIEVE CONTINUOUS MEMORY DTCS 
    NOTE: If any DTC other than P1406 appears, note the DTC and refer to DIAGNOSTIC TROUBLE CODE (DTC) CHARTS AND DESCRIPTIONS after carrying out this pinpoint test.
    • Retrieve all continuous memory DTCs.
    • Is DTC 1406 present? 
    Yes No
    GO to  HE31. GO to  HE38.
  38. HE38 INSPECT THE DIFFERENTIAL PRESSURE FEEDBACK EGR PRESSURE HOSES 
    • Inspect the pressure hoses for a reverse connection at the differential pressure feedback EGR sensor or at the orifice tube assembly.
    • Inspect the hoses for incorrect routing.
    • Inspect both hoses for leaks and blockage.
    • Inspect the differential pressure feedback EGR sensor and orifice tube assembly for blockage or damage at the pick-up tubes.
      Fig 3: Typical Differential Pressure Feedback EGR System
      GF0001506Courtesy of FORD MOTOR CO.
      TYPICAL DIFFERENTIAL PRESSURE FEEDBACK EGR SYSTEM

      Item Number Description
      1 Differential Pressure Feedback EGR Sensor
      2 Pickup Tubes
      3 Upstream Pressure Hose
      4 To EGR Valve
      5 Orifice Tube Assembly
      6 Exhaust Manifold
      7 Downstream Pressure Hose
    • Is a concern present? 
    Yes No
    REPAIR or INSTALL a new pressure hose as necessary.
    CLEAR the DTCs. REPEAT the self-test.
    GO to  HE39.
  39. HE39 CHECK THE DIFFERENTIAL PRESSURE FEEDBACK EGR SENSOR OUTPUT BY APPLYING VACUUM WITH THE HAND PUMP 
    • Disconnect the pressure hoses at the differential pressure feedback EGR sensor.
    • Connect the vacuum pump to the downstream connection at the sensor (intake manifold side of the sensor or the smaller diameter pickup tube).
    • Key ON, engine OFF.
    • Access the PCM and monitor the DPFEGR PID.
    • Apply 27 - 30 kPa (8 - 9 in-Hg) vacuum to the differential pressure feedback EGR sensor and hold for 10 seconds.
    • Quickly release the vacuum.
      • The DPFEGR PID voltage must be between 0.25 and 1.3 volts with the key ON and no vacuum applied.
      • The DPFEGR PID voltage must increase to greater than 4 volts with the vacuum applied.
      • The DPFEGR PID must drop to less than 1.5 volts in less than 3 seconds when the vacuum is released.
    • Does the DPFEGR PID voltage indicate a concern in the differential pressure feedback EGR sensor? 
    Yes No
    INSTALL a new Differential Pressure Feedback EGR sensor.
    After installing the new differential pressure feedback EGR sensor, TURN the key to the ON position for approximately 5 seconds before starting. This allows the PCM to calibrate itself to the new differential pressure feedback EGR sensor. Failure to do this may result in an incorrect DTC P0402.
    CLEAR the DTCs. REPEAT the self-test.
    CONNECT all the hoses.
    GO to  HE40.
  40. HE40 CHECK THE VREF VOLTAGE TO THE DIFFERENTIAL PRESSURE FEEDBACK EGR SENSOR 
    • Key in OFF position.
    • Differential Pressure Feedback EGR Sensor connector disconnected.
    • Key ON, engine OFF.
    • Measure the voltage between:
      ( + ) Differential Pressure Feedback EGR Sensor Connector, Harness Side ( - ) Differential Pressure Feedback EGR Sensor Connector, Harness Side
      VREF SIGRTN
    • Is the voltage between 4 - 5.5 V? 
    Yes No
    GO to  HE41. refer to PINPOINT TEST C .
  41. HE41 CHECK THE DPFE CIRCUIT FOR A SHORT TO VREF 
    • Key in OFF position.
    • PCM connector disconnected.
    • Measure the resistance between:
      ( + ) PCM Connector, Harness Side ( - ) PCM Connector, Harness Side
      VREF DPFE
    • Is the resistance greater than 10K ohms? 
    Yes No
    GO to  HE42. REPAIR the short circuit. CLEAR the DTCs. REPEAT the self-test.
  42. HE42 CARRY OUT THE KOER SELF-TEST WHILE MONITORING THE EGR VACUUM 
    NOTE: Since the EGR vacuum hose is disconnected, ignore the DTCs during this KOER self-test.
    • PCM connector connected.
    • Differential Pressure Feedback EGR Sensor connector connected.
    • Disconnect the vacuum hose at the EGR valve and connect the hose to the vacuum gauge.
    • Carry out the KOER self-test.
    • Monitor the vacuum gauge. Approximately 30 seconds into the test, EGR flow will be requested for a few seconds. Vacuum at this time should increase to greater than 5.4 kPa (1.6 in-Hg) to open the valve.
    • Does the vacuum increase to 10 kPa (3.0 in-Hg) or greater at any time during the KOER self-test? 
    Yes No
    GO to  HE43. GO to  HE44.
  43. HE43 CHECK THE EGR VALVE FUNCTION BY APPLYING VACUUM WITH THE HAND PUMP 
    • Key in OFF position.
    • Disconnect the vacuum hose at the EGR valve and plug the hose.
    • Connect the vacuum pump to the EGR valve.
    • Key ON, engine running.
    • Access the PCM and monitor the DPFEGR and RPM PIDs.
    • Apply 27 - 30 kPa (8 - 9 in-Hg) vacuum to the differential pressure feedback EGR sensor and hold for 10 seconds. If the engine wants to stall, increase the engine speed to approximately 1,000 RPM and hold steady.
    • Monitor for the following:
      • The EGR valve starts opening at about 5.4 kPa (1.6 in-Hg) vacuum, indicated by an increasing DPFEGR PID voltage.
      • The DPFEGR PID voltage increases until the valve is fully open. The DPFEGR PID voltage must read at least 2.5 volts with full vacuum applied.
      • The DPFEGR PID voltage remains steady with steady vacuum. If voltage drops within a few seconds, the EGR valve or vacuum source may be leaking.
      • The DPFEGR PID must drop to less than 1.5 volts in less than 3 seconds when the vacuum is released.
    • Does the DPFEGR PID voltage indicate the EGR valve is operating as described in the test step? 
    Yes No
    GO to  HE47. GO to  HE44.
  44. HE44 PHYSICALLY INSPECT ALL VACUUM LINES BETWEEN THE EGR VALVE, EGR VACUUM REGULATOR AND VACUUM SOURCE 
    • Key in OFF position.
    • Inspect all vacuum lines for leaks, kinks, pinches, disconnects, blockage, misrouting or physical damage of any type.
    • Inspect the EGR vacuum regulator for cracks or other physical damage.
    • Is a concern present? 
    Yes No
    REPAIR as necessary.
    If the EGR vacuum regulator is damaged, INSTALL a new EGR vacuum regulator.
    REFER to the appropriate ENGINE EMISSION CONTROL article.
    CLEAR the DTCs. REPEAT the self-test.
    GO to  HE45.
  45. HE45 PHYSICALLY INSPECT THE EGR VALVE 
    • Remove and inspect the EGR valve for signs of contamination, unusual wear, carbon deposits, binding or other damage.
    • Is a concern present? 
    Yes No
    REPAIR as necessary.
    If repair is not possible, INSTALL a new EGR valve.
    REFER to the appropriate ENGINE EMISSION CONTROL article.
    CLEAR the DTCs. REPEAT the self-test.
    GO to  HE46.
  46. HE46 CHECK THE ENGINE VACUUM 
    • EGR vacuum regulator vacuum hoses disconnected.
    • Connect a hand held vacuum gauge to the vacuum source.
    • Key ON, engine running.
    • Engine warm and at idle.
    • Observe the vacuum gauge.
    • Is the vacuum gauge steadily reading at least 51 kPa (15 in-Hg)? 
    Yes No
    GO to  HE47. ISOLATE the base engine concern and REPAIR as necessary.
    CLEAR the DTCs. REPEAT the self-test.
  47. HE47 CHECK THE VPWR VOLTAGE TO THE EGR VACUUM REGULATOR SOLENOID 
    • Key in OFF position.
    • EGR Vacuum Regulator Solenoid connector disconnected.
    • Key ON, engine OFF.
    • Measure the voltage between:
      ( + ) EGR Vacuum Regulator Solenoid Connector, Harness Side ( - ) Vehicle Battery
      VPWR - Pin 1 Negative terminal
    • Is the voltage greater than 10 V? 
    Yes No
    GO to  HE48. REPAIR the open circuit. CLEAR the DTCs. REPEAT the self-test.
  48. HE48 CHECK THE EGR VACUUM REGULATOR SOLENOID COIL RESISTANCE 
    • Key in OFF position.
    • Measure the resistance between:
      ( + ) EGR Vacuum Regulator Solenoid Connector, Component Side ( - ) EGR Vacuum Regulator Solenoid Connector, Component Side
      VPWR - Pin 1 EVR - Pin 2
    • Is the resistance between 26 - 40 ohms? 
    Yes No
    GO to  HE49. INSTALL a new EGR Vacuum Regulator solenoid.
    REFER to the appropriate ENGINE EMISSION CONTROL article.
    CLEAR the DTCs. REPEAT the self-test.
  49. HE49 CHECK THE EGR VACUUM REGULATOR CIRCUIT FOR A SHORT TO VOLTAGE IN THE HARNESS 
    • PCM connector disconnected.
    • Key ON, engine OFF.
    • Measure the voltage between:
      ( + ) PCM Connector, Harness Side ( - ) Vehicle Battery
      EVR Negative terminal
    • Is the voltage greater than 1 V? 
    Yes No
    REPAIR the short circuit. CLEAR the DTCs. REPEAT the self-test. GO to  HE50.
  50. HE50 CHECK THE EGR VACUUM REGULATOR CIRCUIT FOR AN OPEN IN THE HARNESS 
    • Key in OFF position.
    • Measure the resistance between:
      ( + ) PCM Connector, Harness Side ( - ) EGR Vacuum Regulator Solenoid Connector, Harness Side
      EVR EVR - Pin 2
    • Is the resistance less than 5 ohms? 
    Yes No
    GO to  HE51. REPAIR the open circuit. CLEAR the DTCs. REPEAT the self-test.
  51. HE51 INSPECT THE EGR SYSTEM FOR LEAKS, RESTRICTIONS AND POOR CONNECTIONS 
    • EGR Vacuum Regulator Solenoid connector connected.
    • PCM connector connected.
    • Visually inspect the EGR system for signs of intermittent failure.
    • Is a concern present? 
    Yes No
    REPAIR as necessary.
    CLEAR the DTCs. REPEAT the self-test.
    GO to  HE52.
  52. HE52 CHECK THE EGR VACUUM REGULATOR SOLENOID VACUUM FLOW BY GROUNDING THE EVR CIRCUIT 
    NOTE: If the EGR vacuum regulator does not react within 2 seconds, an EGR vacuum regulator concern may be present.
    • Disconnect the vacuum hose at the EGR valve and connect the hose to the vacuum gauge.
    • Key ON, engine running.
    • Engine warm and at idle.
    • Connect a 5 amp fused jumper wire between the following:
      Point A EGR Vacuum Regulator Solenoid Connector, Harness Side Point B Vehicle Battery
      EVR - Pin 2 Negative terminal
    • Does the vacuum gauge indicate 13.5 kPa (4.0 in-Hg) or greater within 2 seconds? 
    Yes No
    GO to  HE66. INSTALL a new EGR Vacuum Regulator solenoid.
    REFER to the appropriate ENGINE EMISSION CONTROL article.
    CLEAR the DTCs. REPEAT the self-test.
  53. HE53 INSPECT THE DIFFERENTIAL PRESSURE FEEDBACK EGR PRESSURE HOSES 
    • Visually inspect the upstream pressure hose routing.
    • Visually inspect the downstream pressure hose routing.
    • Inspect for a reversed connection at the differential pressure feedback EGR sensor or orifice tube assembly.
    • The hose must not be pinched or have dips in it where water could settle or freeze.
    • Inspect both hoses for leaks and blockage.
    • Inspect the differential pressure feedback EGR sensor and orifice tube assembly for blockage or damage at the pick-up tubes.
      Fig 4: Typical Differential Pressure Feedback EGR System
      GF0001506Courtesy of FORD MOTOR CO.
      TYPICAL DIFFERENTIAL PRESSURE FEEDBACK EGR SYSTEM

      Item Number Description
      1 Differential Pressure Feedback EGR Sensor
      2 Pickup Tubes
      3 Upstream Pressure Hose
      4 To EGR Valve
      5 Orifice Tube Assembly
      6 Exhaust Manifold
      7 Downstream Pressure Hose
    • Is a concern present? 
    Yes No
    REPAIR as necessary.
    CLEAR the DTCs. REPEAT the self-test.
    GO to  HE54.
  54. HE54 CHECK THE EGR VALVE FUNCTION BY APPLYING VACUUM WITH THE HAND PUMP 
    • Disconnect the pressure hoses at the differential pressure feedback EGR sensor.
    • Connect the vacuum pump to the downstream connection at the sensor (intake manifold side of the sensor or the smaller diameter pickup tube).
    • Key ON, engine OFF.
    • Access the PCM and monitor the DPFEGR PID.
    • Apply 27 - 30 kPa (8 - 9 in-Hg) vacuum to the differential pressure feedback EGR sensor and hold for 10 seconds.
    • Quickly release the vacuum.
      • The DPFEGR PID voltage must be between 0.25 and 1.3 volts with the key ON and no vacuum applied.
      • The DPFEGR PID voltage must increase to greater than 4 volts with the vacuum applied.
      • The DPFEGR PID must drop to less than 1.5 volts in less than 3 seconds when the vacuum is released.
    • Does the DPFEGR PID voltage indicate a concern in the differential pressure feedback EGR sensor? 
    Yes No
    INSTALL a new Differential Pressure Feedback EGR sensor.
    After installing the new differential pressure feedback EGR sensor, TURN the key to the ON position for approximately 5 seconds before starting. This allows the PCM to calibrate itself to the new differential pressure feedback EGR sensor. Failure to do this may result in an incorrect DTC P0402.
    CLEAR the DTCs. REPEAT the self-test.
    CONNECT all the hoses.
    GO to  HE55.
  55. HE55 CHECK THE EGR VALVE FUNCTION BY APPLYING VACUUM WITH THE HAND PUMP 
    • Disconnect the vacuum hose at the EGR valve and plug the hose.
    • Connect the vacuum pump to the EGR valve.
    • Key ON, engine running.
    • Access the PCM and monitor the DPFEGR and RPM PIDs.
    • Apply 27 - 30 kPa (8 - 9 in-Hg) vacuum to the differential pressure feedback EGR sensor and hold for 10 seconds. If the engine wants to stall, increase the engine speed to approximately 1,000 RPM and hold steady.
    • Monitor for the following:
      • The EGR valve starts opening at about 5.4 kPa (1.6 in-Hg) vacuum, indicated by an increasing DPFEGR PID voltage.
      • The DPFEGR PID voltage increases until the valve is fully open. The DPFEGR PID voltage must read at least 2.5 volts with full vacuum applied.
      • The DPFEGR PID voltage remains steady with steady vacuum. If voltage drops within a few seconds, the EGR valve or vacuum source may be leaking.
      • The DPFEGR PID must drop to less than 1.5 volts in less than 3 seconds when the vacuum is released.
    • Does the DPFEGR PID voltage indicate the EGR valve is operating as described in the test step? 
    Yes No
    GO to  HE56. REMOVE and INSPECT the EGR valve for signs of contamination, unusual wear, carbon deposits, binding or other damage.
    If OK, REMOVE and INSPECT the EGR valve and tube for signs of contamination, unusual wear, carbon deposits, binding or other damage.
    REPAIR as necessary.
    CLEAR the DTCs. REPEAT the self-test.
  56. HE56 INSPECT THE EGR VACUUM SIGNAL SUPPLY FOR AN INTERMITTENT CONCERN 
    • Key in OFF position.
    • Remove the vacuum hose from the EGR valve and connect to a vacuum gauge.
    • Key ON, engine running.
    • Connect a 5 amp fused jumper wire between the following:
      Point A EGR Vacuum Regulator Solenoid Connector, Harness Side Point B Vehicle Battery
      EVR - Pin 2 Negative terminal
    • The solenoid is full ON.
    • Vacuum gauge should read above 13.5 kPa (4 in-Hg).
    • Observe the vacuum gauge.
    • Look for a concern while carrying out the following checks:
      • Lightly tap on the EGR vacuum regulator solenoid.
      • Carry out a thorough wiggle test on the EGR vacuum regulator harness.
      • Inspect the EGR vacuum signal supply for an intermittent concern.
      • Inspect the EGR vacuum regulator solenoid and vacuum hoses for plugging.
      • A concern is indicated by a sudden drop in the vacuum reading.
    • Is a concern indicated? 
    Yes No
    ISOLATE the concern and REPAIR as necessary.
    CLEAR the DTCs. REPEAT the self-test.
    Unable to duplicate or identify the concern at this time.
    Note: In cold climates, the EGR valve may temporarily freeze shut and thaw when the engine warms.
    refer to PINPOINT TEST Z .
  57. HE57 EGR DIAGNOSIS BY SYMPTOM: CHECK FOR EGR FLOW WITH THE EGR VACUUM HOSE DISCONNECTED AND PLUGGED 
    • Carry out the KOER self-test. Repair any other DTCs.
    • Possible causes for EGR flow at idle with no related DTCs:
      • EGR valve not fully seating
      • EGR vacuum regulator solenoid vent restricted
      • Damaged EGR vacuum regulator solenoid
    • Disconnect and plug the vacuum hose connected to the EGR valve.
    • Key ON, engine OFF.
    • Access the PCM and monitor the DPFEGR PID.
    • Note the voltage.
    • Key ON, engine running.
    • With the engine at idle, observe the DPFEGR PID voltage. Compare to engine OFF voltage.
    • An increase in voltage at idle indicates the differential pressure feedback EGR sensor is sensing EGR flow.
    • Is the DPFEGR PID voltage greater at idle by 0.15 V than with the engine off? 
    Yes No
    REMOVE and INSPECT the EGR valve for signs of contamination, unusual wear, carbon deposits, binding or other damage.
    REPAIR as necessary.
    CLEAR the DTCs. REPEAT the self-test.
    Inspect the EGR vacuum regulator solenoid and vacuum hoses for plugging.
    INSPECT the EGR vacuum regulator solenoid vent for blockage.
    GO to  HE58.
  58. HE58 DETERMINE THE EGR VALVE VACUUM SUPPLY 
    • Is a concern present in the EGR valve vacuum supply? 
    Yes No
    REPAIR as necessary.
    CLEAR the DTCs. REPEAT the self-test.
    INSTALL a new EGR Vacuum Regulator solenoid.
    REFER to the appropriate ENGINE EMISSION CONTROL article.
    CLEAR the DTCs. REPEAT the self-test.
  59. HE59 DTCS P0403 AND P1409: CHECK THE EGR VACUUM REGULATOR SOLENOID COIL RESISTANCE 
    • Key in OFF position.
    • EGR Vacuum Regulator Solenoid connector disconnected.
    • Measure the resistance between:
      ( + ) EGR Vacuum Regulator Solenoid Connector, Component Side ( - ) EGR Vacuum Regulator Solenoid Connector, Component Side
      VPWR - Pin 1 EVR - Pin 2
    • Is the resistance between 26 - 40 ohms? 
    Yes No
    GO to  HE60. INSTALL a new EGR Vacuum Regulator solenoid.
    REFER to the appropriate ENGINE EMISSION CONTROL article.
    CLEAR the DTCs. REPEAT the self-test.
  60. HE60 CHECK THE VPWR VOLTAGE TO EGR VACUUM REGULATOR SOLENOID 
    • Key ON, engine OFF.
    • Measure the voltage between:
      ( + ) EGR Vacuum Regulator Solenoid Connector, Harness Side ( - ) Vehicle Battery
      VPWR - Pin 1 Negative terminal
    • Is the voltage greater than 10 V? 
    Yes No
    GO to  HE61. REPAIR the open circuit. CLEAR the DTCs. REPEAT the self-test.
  61. HE61 CHECK THE EGR VACUUM REGULATOR CIRCUIT FOR AN OPEN IN THE HARNESS 
    • Key in OFF position.
    • PCM connector disconnected.
    • Measure the resistance between:
      ( + ) PCM Connector, Harness Side ( - ) EGR Vacuum Regulator Solenoid Connector, Harness Side
      EVR EVR - Pin 2
    • Is the resistance less than 5 ohms? 
    Yes No
    GO to  HE62. REPAIR the open circuit. CLEAR the DTCs. REPEAT the self-test.
  62. HE62 CHECK THE EGR VACUUM REGULATOR CIRCUIT FOR A SHORT TO VOLTAGE IN THE HARNESS 
    • Key ON, engine OFF.
    • Measure the voltage between:
      ( + ) PCM Connector, Harness Side ( - ) Vehicle Battery
      EVR Negative terminal
    • Is the voltage less than 1 V? 
    Yes No
    GO to  HE63. REPAIR the short circuit. CLEAR the DTCs. REPEAT the self-test.
  63. HE63 CHECK THE EGR VACUUM REGULATOR CIRCUIT FOR A SHORT TO GROUND IN THE HARNESS 
    • Key in OFF position.
    • Measure the resistance between:
      ( + ) PCM Connector, Harness Side ( - ) PCM Connector, Harness Side
      EVR PWRGND
    • Is the resistance greater than 10K ohms? 
    Yes No
    GO to  HE66. REPAIR the short circuit. CLEAR the DTCs. REPEAT the self-test.
  64. HE64 CHECK FOR THE PRESENCE OF KOER DTCS P0403 OR P1409 
    • Carry out the KOER self-test.
    • Are DTCs P0403 or P1409 present? 
    Yes No
    GO to  HE59. GO to  HE65.
  65. HE65 CARRY OUT A THOROUGH WIGGLE TEST ON THE EGR VACUUM REGULATOR HARNESS 
    • Key in OFF position.
    • PCM connector disconnected.
    • Key ON, engine OFF.
    • Measure the voltage between:
      ( + ) PCM Connector, Harness Side ( - ) PCM Connector, Harness Side
      EVR PWRGND
    • Lightly tap on the EGR vacuum regulator solenoid. Wiggle the EGR vacuum regulator solenoid connector. Carry out a thorough wiggle test on the harness. A concern is indicated by a voltage drop during the wiggle test.
    • Is the voltage greater than 10 V? 
    Yes No
    REPAIR as necessary.
    CLEAR the DTCs. REPEAT the self-test.
    refer to PINPOINT TEST Z .
  66. HE66 CHECK FOR CORRECT PCM OPERATION 
    • Disconnect all the PCM connectors.
    • Visually inspect for:
      • pushed out pins
      • corrosion
    • Connect all the PCM connectors and make sure they seat correctly.
    • Carry out the PCM self-test and verify the concern is still present.
    • Is the concern still present? 
    Yes No
    INSTALL a new PCM. REFER toFLASH ELECTRICALLY ERASABLE PROGRAMMABLE READ ONLY MEMORY (EEPROM) . The system is operating correctly at this time. The concern may have been caused by a loose or corroded connector.