LEMON Manuals: Even more car manuals for everyone: 1960-2025
Home >> Ford >> 2007 >> Expedition RWD >> Repair and Diagnosis >> External Pages >> Different variant/trim >> Section 2 (Transfer Case) >> Disassembly And Assembly >> Transfer Case >> Assembly
April 5, 2026: LEMON Manuals is launched! Read the announcement.

Transfer Case: Assembly

WARNING: This page is about a different variant/trim than selected.
  1. Lubricate all internal components with the recommended transfer case lubricant during reassembly.
  2. Clean the mating surfaces of the cases.
  3. Using a suitable press and the special tools, install the front planet support bearing.
  4. Fig 1: Installing Front Planet Support Bearing
    GF0004164Courtesy of FORD MOTOR CO.
  5. Using a suitable press and the special tools, install the front output shaft support bearing.
  6. Fig 2: Installing Front Output Shaft Support Bearing
    GF0022965Courtesy of FORD MOTOR CO.
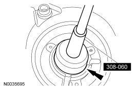
  7. Using the special tool, install a new front input shaft seal.
  8. Fig 3: Installing New Oil Seal
    GF0022966Courtesy of FORD MOTOR CO.
  9. Using the special tool, install a new shift shaft seal.
  10. Fig 4: Identifying Shifter Shaft Seal
    GF0022967Courtesy of FORD MOTOR CO.
  11. Install the case to the Transmission Holding Fixture. Secure the case and the Transmission Holding Fixture to the work bench.
  12. Using special tool 308-249, install a new front output shaft seal.
  13. Fig 5: Locating Front Output Shaft Oil Seal
    GF0022960Courtesy of FORD MOTOR CO.
  14. Install the ring gear.
    1. Position the ring gear in the case.
    2. Install the snap ring.
  15. Fig 6: Identifying Position Of Ring Gear & Snap Ring In Case
    GF0022968Courtesy of FORD MOTOR CO.
  16. Install the front output shaft and the snap ring.
  17. CAUTION: If removed, using a suitable press and the special tool 308-085, install the needle bearing into the front planet. Be careful not to damage the bearing cage.
  18. Install the front planet.
  19. Fig 7: Locating Front Planet Needle Bearing
    GF0022958Courtesy of FORD MOTOR CO.
  20. Install the shift fork shaft.
  21. Fig 8: Locating Shift Fork Shaft
    GF0022957Courtesy of FORD MOTOR CO.
  22. Assemble the reduction hub and the reduction shift fork. Install the reduction shift fork, the reduction hub and the shift cam as an assembly.
  23. Fig 9: Removing Reduction Shift Fork, Reduction Hub, And Shift Cam As An Assembly
    GF0022956Courtesy of FORD MOTOR CO.
  24. Install the output shaft.
  25. Fig 10: Locating Output Shaft
    GF0022955Courtesy of FORD MOTOR CO.
    NOTE: Make sure the oil pump finger is in the slot in the case.
  26. Install the oil pump assembly.
  27. Fig 11: Locating Oil Pump Assembly
    GF0022954Courtesy of FORD MOTOR CO.
  28. Install the oil pan magnet into its slot in the case.
  29. Fig 12: Identifying Magnet
    GF0004110Courtesy of FORD MOTOR CO.
  30. Install the output shaft sprocket.
  31. Fig 13: Locating Output Shaft Sprocket
    GF0022953Courtesy of FORD MOTOR CO.
  32. Install the 3-piece thrust bearing assembly.
    1. Install the thrust washer.
    2. Install the thrust bearing.
    3. Install the thrust washer.
  33. Fig 14: Identifying 3-Piece Thrust Bearing Assembly
    GF0022969Courtesy of FORD MOTOR CO.
  34. Install the drive chain and the sprockets as an assembly.
  35. Fig 15: Locating Drive Chain & Sprockets Assembly
    GF0022951Courtesy of FORD MOTOR CO.
    CAUTION: When installing the clutch assembly, do not separate the clutch pack assembly. The thrust washer in the lower clutch pack uses tabs to hold it in place. If the thrust washer is not in place, a transfer case clearance problem will occur.
  36. Install the clutch pack assembly.
  37. Fig 16: Locating Clutch Pack Assembly
    GF0022950Courtesy of FORD MOTOR CO.
  38. Install a new snap ring.
  39. Fig 17: Locating Snap Ring
    GF0022949Courtesy of FORD MOTOR CO.
  40. Install the wave spring.
  41. Install the cam and the steel balls.
  42. Fig 18: Locating Cam & Steel Balls
    GF0022948Courtesy of FORD MOTOR CO.
  43. Install the cam/coil housing.
  44. Fig 19: Locating Cam/Coil Housing
    GF0004166Courtesy of FORD MOTOR CO.
  45. Install the thrust bearing assembly.
  46. Install the snap ring.
  47. Using a suitable press and the special tool, install the rear output shaft support bearing.
  48. Fig 20: Locating Rear Output Shaft Support Bearing
    GF0004168Courtesy of FORD MOTOR CO.
  49. Using a suitable press and the special tool, install the front output shaft rear bearing.
  50. Fig 21: Locating Front Output Shaft Rear Bearing
    GF0004169Courtesy of FORD MOTOR CO.
    CAUTION: Applying too much silicone sealant will plug the fluid filter and cause transfer case failure.
  51. Apply a bead of silicone sealant to the transfer case mating surface, then position the 2 transfer case halves together. Tighten the 20 transfer case bolts evenly in a star pattern.
    • Position the coil studs through the case holes, making sure the shift cam shaft is aligned with its case bore and the lockup shift fork spring is in position.
    • Tighten to 24 Nm (18 lb-ft).
  52. Fig 22: Locating Transfer Case Bolts
    GF0022944Courtesy of FORD MOTOR CO.
  53. Install the 3 coil washers and nuts.
    • Tighten to 10 Nm (89 lb-in).
  54. Using the special tool, install the rear output shaft seal.
  55. Fig 23: Installing Rear Output Shaft Seal
    GF0022970Courtesy of FORD MOTOR CO.
  56. Install the transfer case shift motor and the 3 transfer case shift motor bolts.
    • Tighten the shift motor bolts to 10 Nm (89 lb-in).
  57. Install the coil wire pin in the electrical connector.
    • Remove the wire connector spacer.
    • Install the coil wire pin. Reinstall the wire connector spacer.
  58. Remove the transfer case from the special tool.