LEMON Manuals: Even more car manuals for everyone: 1960-2025
Home >> Ford >> 2007 >> F 150 2WD V6-4.2L VIN 2 >> Repair and Diagnosis >> Specifications >> Mechanical Specifications >> Engine >> Intake Manifold
April 5, 2026: LEMON Manuals is launched! Read the announcement.

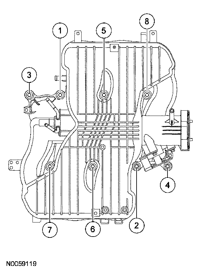
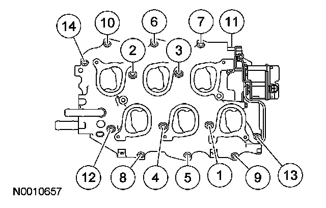
Intake Manifold

Lower Intake Manifold





Stage 1 5 Nm (44 inch lbs.)
Stage 2 10 Nm (89 inch lbs.)

Upper Intake Manifold





Stage 1 6 Nm (53 inch lbs.)
Stage 2 10 Nm (89 inch lbs.)