LEMON Manuals: Even more car manuals for everyone: 1960-2025
Home >> Ford >> 2007 >> F 150 2WD V8-5.4L VIN 5 >> Repair and Diagnosis >> Specifications >> Mechanical Specifications >> Engine >> System Specifications >> Torque Specifications
April 5, 2026: LEMON Manuals is launched! Read the announcement.

Torque Specifications

Torque Specifications

Torque Specifications:




Torque Specifications:




Torque Specifications:




Torque Specifications:




Torque Specifications:





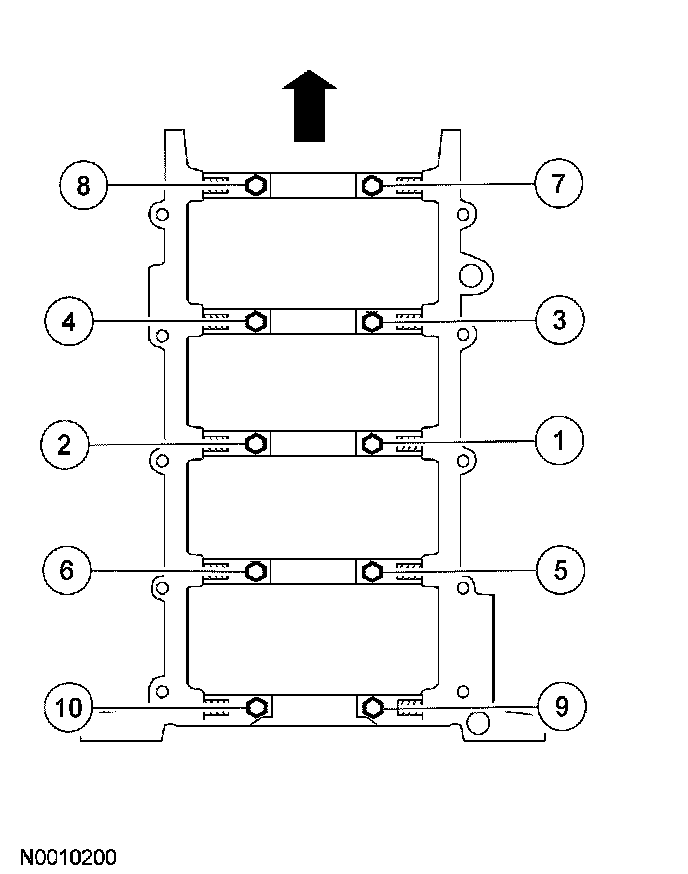
Vertical main bearing cap fasteners
Step 1 40 Nm (30 ft. lbs.)
Step 2 additional 90 degrees





Side bolts
Step 1 30 Nm (22 ft. lbs.)
Step 2 additional 90 degrees