LEMON Manuals: Even more car manuals for everyone: 1960-2025
Home >> Ford >> 2007 >> Focus L4-2.3L VIN Z >> Repair and Diagnosis >> Specifications >> Mechanical Specifications >> Engine >> Oil Pump, Engine
April 5, 2026: LEMON Manuals is launched! Read the announcement.

Oil Pump, Engine

Oil Pump
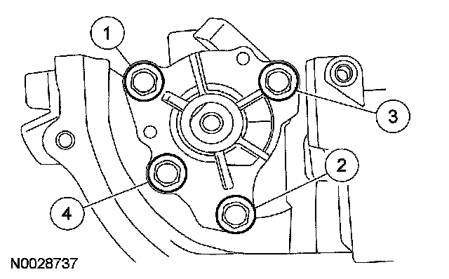
Install the oil pump assembly. Tighten the 4 bolts in the sequence shown in 2 stages.
Stage 1: Tighten to 10 Nm (89 inch lbs.)
Stage 2: Tighten to 20 Nm (15 ft. lbs.)