LEMON Manuals: Even more car manuals for everyone: 1960-2025
Home >> Ford >> 2007 >> Focus SE, 2D Hatchback, Automatic >> Repair and Diagnosis >> Transmission >> Automatic Trans >> Automatic Transmission >> Installation >> Transaxle >> Installation
April 5, 2026: LEMON Manuals is launched! Read the announcement.

Automatic Transmission: Installation: Transaxle: Installation

  1. Make sure that the torque converter is installed correctly.
  2. NOTE: Lubricate the torque converter pilot hub with multi-purpose grease.

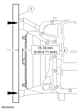
  3. Check the installation depth of the torque converter.
    1. Lay a steel straightedge on the automatic transaxle flange.
    2. Check the installation depth between the transaxle flange and the torque converter centering spigot for the correct clearance.
  4. Fig 1: Identifying Clearance Between Transaxle Flange And Torque Converter
    GF0029848Courtesy of FORD MOTOR CO.
  5. Remove the special tool.
  6. Fig 2: Identifying Special Tool
    GF0039764Courtesy of FORD MOTOR CO.
  7. If the transaxle was replaced, install the transaxle opening cover.
  8. Fig 3: Locating Transaxle Opening Cover
    GF0039763Courtesy of FORD MOTOR CO.
  9. Using a high-lift jack, secure the transaxle using a safety strap.
  10. NOTE: Make sure that the dowel pins are installed in the engine block prior to installing the transaxle.
  11. Move the transaxle into position.
  12. Note the location of the different length bolts and install the 5 converter housing bolts.
    • Tighten to 47 Nm (35 lb-ft).
  13. Fig 4: Locating Converter Housing Bolts
    GF0039762Courtesy of FORD MOTOR CO.
  14. Install the 3 converter housing bolts.
    • Tighten to 47 Nm (35 lb-ft).
  15. Fig 5: Locating Converter Housing Bolts
    GF0039761Courtesy of FORD MOTOR CO.
    CAUTION: Only rotate the engine in a clockwise direction or engine damage will occur.
    NOTE: Only install new self-locking nuts.
  16. Install 4 new torque converter-to-flexplate nuts.
    • Tighten to 40 Nm (30 lb-ft).
  17. Fig 6: Locating Torque Converter-To-Flexplate Nuts
    GF0028785Courtesy of FORD MOTOR CO.
  18. Remove the safety strap from the transaxle.
  19. NOTE: Inspect the O-ring for damage before installing the fluid filler tube.
  20. Install the fluid filler tube.
    • Tighten to 8 Nm (71 lb-in).
  21. Fig 7: Locating Fluid Filler Tube
    GF0039760Courtesy of FORD MOTOR CO.
  22. Install the engine rear mount bracket.
    • Tighten to 80 Nm (59 lb-ft).
  23. Fig 8: Locating Engine Rear Mount Bracket
    GF0039759Courtesy of FORD MOTOR CO.
    NOTE: Using the engine support bar, raise the engine and transaxle assembly slightly to install rear mount.
  24. Install the engine rear mount and nuts.
    1. Tighten to 48 Nm (35 lb-ft).
    2. Tighten to 150 Nm (111 lb-ft).
  25. Fig 9: Identifying Engine Rear Mount And Nuts
    GF0039956Courtesy of FORD MOTOR CO.
  26. Install the fluid cooler tubes.
  27. Fig 10: Locating Fluid Cooler Tubes
    GF0039957Courtesy of FORD MOTOR CO.
  28. Connect the output shaft speed (OSS) sensor electrical connector.
  29. Fig 11: Locating Output Shaft Speed (OSS) Sensor Electrical Connector
    GF0039754Courtesy of FORD MOTOR CO.
    NOTE: Install a new snap ring.
  30. Install the LH drive halfshaft.
  31. Fig 12: Locating LH Drive Halfshaft
    GF0039958Courtesy of FORD MOTOR CO.
    NOTE: Install new nuts and a new center bearing cap.
  32. Install the RH halfshaft together with the intermediate shaft.
  33. Fig 13: Installing RH Halfshaft Together With Intermediate Shaft
    GF0039376Courtesy of FORD MOTOR CO.
  34. Install the mounting bracket for the halfshaft intermediate bearing.
    • Tighten to 25 Nm (18 lb-ft).
  35. Fig 14: Locating Mounting Bracket
    GF0039335Courtesy of FORD MOTOR CO.
  36. Install both of the lower control arms to the knuckles.
    • Tighten to 63 Nm (46 lb-ft).
  37. Fig 15: Locating Lower Arm
    GF0039334Courtesy of FORD MOTOR CO.
  38. Install both of the tie-rod ends to the knuckles.
    • Tighten to 40 Nm (30 lb-ft).
  39. Fig 16: Locating Tie-Rod Nut
    GF0039331Courtesy of FORD MOTOR CO.
  40. Connect the stabilizer bar at the strut.
    • Tighten to 55 Nm (41 lb-ft).
  41. Fig 17: Locating Stabilizer Bar Strut
    GF0039330Courtesy of FORD MOTOR CO.
  42. Install the front wheels and tires. For additional information, refer to WHEELS AND TIRES article.
  43. Install the engine RH support insulator.
    1. Install the insulator bolt and nut.
      • Tighten to 48 Nm (35 lb-ft).
    2. Install the bolt.
      • Tighten to 48 Nm (35 lb-ft).
  44. Fig 18: Locating Engine RH Support Insulator
    GF0039753Courtesy of FORD MOTOR CO.
  45. Install the starter isolator.
  46. Fig 19: Identifying Starter Motor Isolator
    G03897895Courtesy of FORD MOTOR CO.
  47. Install the starter motor and insert the 3 bolts.
    • Tighten to 35 Nm (26 lb-ft).
  48. Fig 20: Locating Starter Motor Bolts
    GF0024838Courtesy of FORD MOTOR CO.
  49. Connect the oil sending unit.
  50. Connect the starter motor electrical connectors.
  51. Fig 21: Locating Starter Motor Nut
    GF0039752Courtesy of FORD MOTOR CO.
  52. Connect the bracket to the starter stud.
  53. Fig 22: Locating Bracket And Starter Stud
    GF0039751Courtesy of FORD MOTOR CO.
  54. Install the fluid filler tube and shift cable bracket bolts.
    1. Tighten to 20 Nm (15 lb-ft).
    2. Tighten to 8 Nm (71 lb-in).
  55. Fig 23: Identifying Fluid Filler Tube And Shift Cable Bracket Bolts
    GF0039959Courtesy of FORD MOTOR CO.
  56. Note the location of the different length bolts and install the upper center converter housing bolts.
    • Tighten to 47 Nm (35 lb-ft).
  57. Fig 24: Locating Upper Center Converter Housing Bolts
    GF0039748Courtesy of FORD MOTOR CO.
  58. Position the electrical connector bracket and install the nut.
    • Tighten to 25 Nm (18 lb-ft).
  59. Fig 25: Locating Electrical Connector Bracket And Nut
    GF0039747Courtesy of FORD MOTOR CO.
  60. Install the electrical connector bracket nut.
    • Tighten to 25 Nm (18 lb-ft).
  61. Fig 26: Locating Electrical Connector Bracket And Nut
    GF0039746Courtesy of FORD MOTOR CO.
  62. Install the shift cable clip.
    • Tighten to 47 Nm (35 lb-ft).
  63. Fig 27: Locating Shift Cable Clip
    GF0039755Courtesy of FORD MOTOR CO.
  64. Connect the turbine shaft speed (TSS) sensor electrical connector.
  65. Fig 28: Locating Turbine Shaft Speed (TSS) Sensor Electrical Connector
    GF0039344Courtesy of FORD MOTOR CO.
  66. Connect the shift cable to the manual control lever.
  67. Fig 29: Locating Shift Cable
    GF0039757Courtesy of FORD MOTOR CO.
    NOTE: The TR connector seal is a high compression type and requires a "press to click" installation for a weatherproof seal.
  68. Connect the electrical connectors.
    1. Transmission range (TR) sensor.
    2. Transaxle solenoid electrical connector.
  69. Fig 30: Identifying Transmission Range (TR) Sensor And Transaxle Solenoid Electrical Connector
    GF0039744Courtesy of FORD MOTOR CO.
  70. Tighten the LH strut and spring assembly top mount nuts.
    • Tighten to 30 Nm (22 lb-ft).
  71. Fig 31: Locating LH Strut And Spring Assembly Mount Nuts
    GF0039329Courtesy of FORD MOTOR CO.
  72. Install the air cleaner resonator.
    1. Install the resonator and nuts.
    2. Connect the air cleaner outlet hose.
    3. Connect the crankcase ventilation hose.
  73. Fig 32: Identifying Air Cleaner Resonator
    GF0039721Courtesy of FORD MOTOR CO.
    NOTE: When the battery has been disconnected and reconnected, some abnormal drive symptoms may occur while the vehicle relearns its adaptive strategy. The vehicle may need to be driven to relearn the strategy.
  74. Install the battery tray and battery. For additional information, refer to BATTERY, MOUNTING AND CABLES article.
  75. Fig 33: Locating Bolts
    GF0039960Courtesy of FORD MOTOR CO.
  76. Fill the transaxle with clean automatic transmission fluid.