LEMON Manuals: Even more car manuals for everyone: 1960-2025
Home >> Ford >> 2007 >> Focus SE, 2D Hatchback, Standard >> Repair and Diagnosis >> Steering >> Steering Column >> Disassembly And Assembly >> Steering Column >> Disassembly
April 5, 2026: LEMON Manuals is launched! Read the announcement.

Steering Column: Disassembly

All vehicles 

WARNING: To avoid the risk of serious personal injury, read and follow all warnings, notes and instructions in the deactivation procedure.
CAUTION: Do not allow the steering wheel to rotate while the intermediate shaft is disconnected or damage to the clockspring can result. If there is evidence that the shaft has rotated, the clockspring must be removed and recentered. For additional information, refer to SUPPLEMENTAL RESTRAINT SYSTEM article.
  1. Remove the steering column. For additional information, refer to Steering Column .
  2. Remove the 2 driver air bag module screws.
  3. Fig 1: Locating Driver Air Bag Module Screws
    GF0040321Courtesy of FORD MOTOR CO.
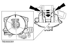
  4. Disengage the clips, disconnect the electrical connector and remove the driver air bag module.
  5. Fig 2: Locating Electrical Connector
    GF0040322Courtesy of FORD MOTOR CO.
  6. If equipped, disconnect the speed control electrical connector.
  7. Fig 3: Locating Speed Control Electrical Connector
    GF0040320Courtesy of FORD MOTOR CO.
  8. Remove the steering wheel bolt and the steering wheel.
  9. Fig 4: Locating Steering Wheel Bolt And Steering Wheel
    GF0040323Courtesy of FORD MOTOR CO.
  10. Remove the spacing collar.
  11. Fig 5: Locating Spacing Collar
    GF0039144Courtesy of FORD MOTOR CO.
    CAUTION: Make sure the clockspring is not allowed to rotate. Secure in the central position with a piece of suitable tape.
  12. Using a suitable tool, release the retaining clips and remove the clockspring.
  13. Fig 6: Removing Clockspring
    GF0040324Courtesy of FORD MOTOR CO.
  14. Remove the steering column multi-function switches.
    1. Press the retaining tabs.
      • Lift the switches upward.
  15. Fig 7: Removing Steering Column Multi-Function Switches
    GF0040325Courtesy of FORD MOTOR CO.
  16. Remove the passive anti-theft system (PATS) transceiver.
  17. Fig 8: Locating Passive Anti-Theft System (PATS) Transceiver
    GF0040326Courtesy of FORD MOTOR CO.
  18. Release the locking tabs and remove the ignition switch.
  19. Fig 9: Locating Locking Tabs
    GF0040327Courtesy of FORD MOTOR CO.
    NOTE: Make sure to maintain synchronous positioning between the ignition lock cylinder and the ignition switch while the ignition lock cylinder is removed.
  20. Remove the ignition switch lock cylinder.
    • Insert and turn the ignition key to the ON position.
    • Using a suitable tool, press the detent and pull the ignition lock cylinder out.
  21. Fig 10: Pulling Ignition Lock Cylinder Out
    GF0040328Courtesy of FORD MOTOR CO.

    Vehicles with telescoping column 

  22. Release the locking lever and fully extend the steering column.
  23. Fig 11: Releasing Locking Lever
    GF0040329Courtesy of FORD MOTOR CO.
    NOTE: The 2 halves of the steering column must be marked before separating to aid assembly.
  24. Mark the 2 halves of the steering column.
  25. Fig 12: Locating Steering Column Halves
    GF0040330Courtesy of FORD MOTOR CO.
  26. Remove the steering column sliding bolt.
  27. Fig 13: Locating Steering Column Sliding Bolt
    GF0040331Courtesy of FORD MOTOR CO.
  28. Separate the 2 halves of the steering column.
  29. Fig 14: Separating Halves Of Steering Column
    GF0040332Courtesy of FORD MOTOR CO.