LEMON Manuals: Even more car manuals for everyone: 1960-2025
Home >> Ford >> 2007 >> Focus ST >> Repair and Diagnosis >> Accessories & Equipment >> Cruise Control Systems >> Speed Control System >> General Procedures >> Speed Control Deactivator Switch Adjustment
April 5, 2026: LEMON Manuals is launched! Read the announcement.

Speed Control Deactivator Switch Adjustment

    NOTE: The brake pedal position (BPP) switch and the clutch pedal position (CPP) switch are shown removed for clarity.
  1. Remove the speed control deactivator switch by turning the switch counterclockwise.
  2. Fig 1: Identifying Speed Control Deactivator Switch Position
    GF0040271Courtesy of FORD MOTOR CO.
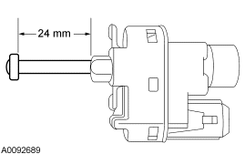
  3. Pull out the speed control deactivator switch plunger until it is fully extended.
    • Measure the plunger length. It should measure 24 mm (0.94 in).
  4. Fig 2: Identifying Plunger Length
    GF0040272Courtesy of FORD MOTOR CO.
  5. Apply the brake pedal.
  6. CAUTION: When installing the speed control deactivator switch, rotate the switch clockwise. Failure to follow this instruction will result in the switch plunger binding inside the switch.
    NOTE: The speed control deactivator switch is automatically adjusted during installation.
    NOTE: A slight ratcheting noise and feel during installation of the speed control deactivator switch is normal.
  7. Install the speed control deactivator switch by turning the switch clockwise.
  8. Fig 3: Identifying Speed Control Deactivator Switch Position
    GF0040273Courtesy of FORD MOTOR CO.
  9. Slowly release the brake pedal.