LEMON Manuals: Even more car manuals for everyone: 1960-2025
Home >> Ford >> 2007 >> Focus ST >> Repair and Diagnosis >> External Pages >> Different car >> Section 1092 (Climate Control System - General Information And Diagnostics) >> Diagnostic Tests >> Climate Control System >> Pinpoint Tests >> Pinpoint Test D: The Air Conditioning (A/C) is Always On >> Pinpoint Test D: The Air Conditioning (A/C) Is Always On
April 5, 2026: LEMON Manuals is launched! Read the announcement.

Pinpoint Test D: The Air Conditioning (A/C) Is Always On

WARNING: This page is about a different car, the 2008 Ford RV Cutaway, 2008 Ford Econoline, 2008 Ford E450 Super Duty, and 2008 Ford Cutaway. However, it is still accessible from the selected car via links, so may be relevant.
NOTE: Before carrying out the following test, diagnose any PCM DTCs.
  1. D1 CHECK THE WIDE OPEN THROTTLE A/C CUT-OFF FAULT (WAC_F) PCM PID WITH THE A/C OFF 
    • Key in ON position.
    • Place the function selector switch to the OFF position.
    • Enter the following diagnostic mode on the diagnostic tool: WAC_F PCM PID
    • Does the WAC_F PCM PID read YES? 
    1. YES  : REPAIR circuit 331 (PK/YE) for a short to ground. TEST the system for normal operation.
    2. NO  : Go to  D2.
  2. D2 CHECK THE AIR CONDITIONING COMPRESSOR CYCLING SWITCH (ACCS) PCM PID WITH THE A/C OFF 
    • Enter the following diagnostic mode on the diagnostic tool: ACCS PCM PID
    • Place the function selector switch to the OFF position.
    • Does the ACCS PCM PID read ON? 
    1. YES  : Go to  D3.
    2. NO  : Go to  D7.
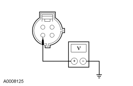
  3. D3 CHECK FOR VOLTAGE AT THE A/C CYCLING SWITCH 
    • Key in OFF position.
    • Disconnect: A/C Cycling Switch C130
    • Key in ON position.
    • Fig 1: Checking Voltage At A/C Cycling Switch
      G03889919Courtesy of FORD MOTOR CO.
    • Measure the voltage between A/C cycling switch C130-1, circuit 348 (VT), harness side and ground.
    • Is any voltage present? 
    1. YES  : Go to  D4.
    2. NO  : Go to  D5.
  4. D4 CHECK CIRCUIT 348 (VT) FOR A SHORT TO VOLTAGE 
    • Key in OFF position.
    • Disconnect: Function Selector Switch C294a
    • Key in ON position.
    • Fig 2: Checking Circuit 348 (VT) For A Short To Voltage
      G03889919Courtesy of FORD MOTOR CO.
    • Measure the voltage between A/C cycling switch C130-1, circuit 348 (VT), harness side and ground.
    • Is any voltage present? 
    1. YES  : REPAIR circuit 348 (VT) for a short to voltage. TEST the system for normal operation.
    2. NO  : INSTALL a new function selector switch. TEST the system for normal operation.
  5. D5 CHECK CIRCUIT 441 (RD/YE) FOR A SHORT TO VOLTAGE 
    • Key in OFF position.
    • Disconnect: Dual Function Pressure Switch C1062
    • Key in ON position.
    • Fig 3: Checking Circuit 441 (RD/YE) For A Short To Voltage - Diesel Engines
      GF0012636Courtesy of FORD MOTOR CO.
    • For diesel engines:  Measure the voltage between dual function pressure switch C1062-1, circuit 441 (RD/YE) and ground.
    • Fig 4: Checking Circuit 441 (RD/YE) For A Short To Voltage - Gasoline Engines
      GF0007946Courtesy of FORD MOTOR CO.
    • For gasoline engines:  Measure the voltage between A/C high pressure switch C1078-3, circuit 441 (RD/YE) and ground.
    • Is any voltage present? 
    1. YES  : REPAIR circuit 441 (RD/YE) for a short to voltage. TEST the system for normal operation.
    2. NO  : Go to  D6.
  6. D6 CHECK CIRCUIT 347 (BK/YE) FOR A SHORT TO VOLTAGE 
      Fig 5: Checking Circuit 347 (BK/YE) For A Short To Voltage - Diesel Engines
      GF0012649Courtesy of FORD MOTOR CO.
    • For diesel engines:  Measure the voltage between dual function pressure switch C1062-4, circuit 347 (BK/YE) and ground.
    • Fig 6: Checking Circuit 347 (BK/YE) For A Short To Voltage - Gasoline Engines
      GF0007945Courtesy of FORD MOTOR CO.
    • For gasoline engines:  Measure the voltage between dual function pressure switch C1078-1, circuit 347 (BK/YE) and ground.
    • Is any voltage present? 
    1. YES  : REPAIR circuit 347 (BK/YE) for a short to voltage. TEST the system for normal operation.
    2. NO  : INSTALL a new PCM. TEST the system for normal operation.
  7. D7 CHECK FOR VOLTAGE TO THE A/C COMPRESSOR CLUTCH FIELD COIL 
    • Key in OFF position.
    • Disconnect: A/C Compressor Clutch Field Coil C100
    • Key in ON position.
    • Fig 7: Checking For Voltage To A/C Compressor Clutch Field Coil
      G04002936Courtesy of FORD MOTOR CO.
    • Measure the voltage between A/C compressor clutch field coil C100-1, circuit 321 (GY/WH), harness side and ground.
    • Is any voltage present? 
    1. YES  : Go to  D8.
    2. NO  : ADJUST the A/C compressor clutch air gap. REFER to Air Conditioning (A/C) Clutch Air Gap Adjustment . TEST the system for normal operation.
  8. D8 CHECK CIRCUIT 321 (GY/WH) FOR A SHORT TO VOLTAGE 
    • Key in OFF position.
    • Disconnect: A/C Control Relay
    • Key in ON position.
    • Fig 8: Checking Circuit 321 (GY/WH) For A Short To Voltage
      G04002936Courtesy of FORD MOTOR CO.
    • Measure the voltage between A/C compressor clutch field coil C100-1, circuit 321 (GY/WH), harness side and ground.
    • Is any voltage present? 
    1. YES  : REPAIR circuit 321 (GY/WH) for a short to voltage. TEST the system for normal operation.
    2. NO  : INSTALL a new A/C control relay. TEST the system for normal operation.