LEMON Manuals: Even more car manuals for everyone: 1960-2025
Home >> Ford >> 2007 >> Focus ST >> Repair and Diagnosis >> Transmission >> Manual Trans >> Manual Transmission >> Disassembly And Assembly Of Subassemblies >> Input Shaft >> Disassembly
April 5, 2026: LEMON Manuals is launched! Read the announcement.

Input Shaft: Disassembly

NOTE: The inner synchronizer ring and the synchronizer cone must be handled very carefully.
NOTE: If new components (bearings, shafts or the transaxle housings) are installed, the transaxle must be shimmed.
    CAUTION: The roller bearing will be damaged when it is removed from the shaft. Do not reuse the bearing.
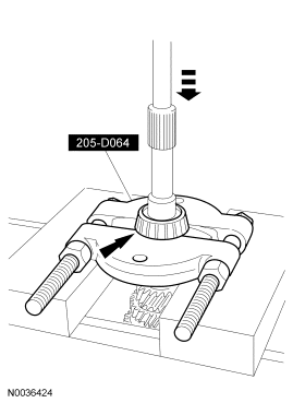
  1. Position the input shaft on the press with the input shaft splines facing upward. Using the special tool, remove and discard the roller bearing.
  2. Fig 1: Removing Roller Bearing
    GF0040140Courtesy of FORD MOTOR CO.
    CAUTION: The roller bearing will be damaged when it is removed from the shaft. Do not reuse the bearing.
  3. Reposition the input shaft with 5th gear end facing upward. Using a suitable press and the special tool, remove the roller bearing.
  4. Fig 2: Removing Roller Bearing
    GF0040141Courtesy of FORD MOTOR CO.
  5. Using a press and the special tool, remove the snap ring and 5th gear.
  6. Remove the 4th gear.
    1. Remove the 4th gear.
    2. Remove the 4th gear needle bearing.
    3. Remove the synchronizer ring.
    4. Check all components for wear or damage. Install new components as necessary.
  7. Fig 3: Removing Snap Ring And 5th Gear
    GF0040142Courtesy of FORD MOTOR CO.
  8. Remove the 3rd/4th gear synchronizer assembly.
    1. Remove and discard the snap ring.
    2. Remove the 3rd/4th gear synchronizer assembly.
      • Check the synchronizer for wear or damage. Install a new synchronizer as necessary.
  9. Fig 4: Identifying 3rd/4th Gear Synchronizer Assembly And Snap Ring
    GF0040143Courtesy of FORD MOTOR CO.
  10. Disassemble the 3rd/4th gear synchronizer assembly. Take care when pulling the selector ring off the gear synchronizer hub. Remove the selector ring from the synchronizer hub. The detent balls are spring-loaded. Remove the compression springs, the blocker bars and the detent balls.
  11. Fig 5: Locating Detent Balls Spring-Loaded
    GF0040144Courtesy of FORD MOTOR CO.
  12. Inspect the 3rd/4th synchronizer.
    • Check for worn, nicked or broken teeth. Install a new synchronizer as necessary.
    • Check keys for wear or distortion. Install a new synchronizer as necessary.
    • Check springs for distortion. Install a new synchronizer as necessary.
  13. Remove the synchronizer ring, 3rd gear and the 3rd needle gear bearing.
    • Inspect the synchronizer ring, 3rd gear and the needle bearing for wear or damage. Install new components as necessary.
  14. Fig 6: Locating Synchronizer Ring, 3rd Gear And 3rd Gear Needle Bearing
    GF0040145Courtesy of FORD MOTOR CO.