LEMON Manuals: Even more car manuals for everyone: 1960-2025
Home >> Ford >> 2007 >> Focus ST >> Repair and Diagnosis >> Transmission >> Manual Trans >> Manual Transmission >> Disassembly And Assembly Of Subassemblies >> Output Shaft >> Disassembly
April 5, 2026: LEMON Manuals is launched! Read the announcement.

Output Shaft: Disassembly

NOTE: The inner synchronizer ring and the synchronizer cone must be handled very carefully.
    CAUTION: Only loosely attach the special tool to avoid damaging the synchronizer ring.
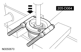
  1. Using a press and the special tool, remove the output shaft bearing and the reverse gear. Discard the output shaft bearing.
  2. Fig 1: Removing Output Shaft Bearing And Reverse Gear
    GF0040155Courtesy of FORD MOTOR CO.
  3. Remove the reverse gear needle bearing and the synchronizer ring.
  4. Fig 2: Locating Reverse Gear Needle Bearing And Synchronizer Ring
    GF0040156Courtesy of FORD MOTOR CO.
  5. Remove and discard the snap ring and the 5th/reverse gear synchronizer assembly.
  6. Fig 3: Identifying Snap Ring, And Remove Synchronizer Assembly
    GF0040157Courtesy of FORD MOTOR CO.
  7. Remove the synchronizer ring, 5th gear and 5th gear needle bearing.
    • Check all components for wear or damage. Install new components as necessary.
  8. Fig 4: Locating Synchronizer Ring, 5th Gear And 5th Gear Needle Bearing
    GF0040158Courtesy of FORD MOTOR CO.
    NOTE: Position the special tool with the flat side upward.
  9. Using the special tool, remove and discard the snap ring, then remove the 4th gear.
    • Check 4th gear for wear or damage. Install a new gear as necessary.
  10. Fig 5: Removing Snap Ring
    GF0040159Courtesy of FORD MOTOR CO.
    NOTE: Position the special tool with the flat side upward.
  11. Using the special tool, remove the 2nd and the 3rd gear.
    • Check 2nd and 3rd gear for wear or damage. Install new gears as necessary.
  12. Fig 6: Removing 2nd And 3rd Gear
    GF0040160Courtesy of FORD MOTOR CO.
  13. Remove the following:
    1. Outer synchronizer ring
    2. Synchronizer cone
    3. Inner synchronizer ring
    4. Second gear
    5. Second gear needle bearing
    6. Check all components for wear or damage. Install new components as necessary
  14. Fig 7: Identifying Second Gear Needle Bearing
    GF0040161Courtesy of FORD MOTOR CO.
  15. Remove and discard the snap ring, then remove the 1st/2nd gear synchronizer hub assembly.
    • Check the synchronizer for wear or damage. Install a new synchronizer as necessary.
  16. Fig 8: Locating 1st/2nd Gear Synchronizer Hub Assembly
    GF0040162Courtesy of FORD MOTOR CO.
  17. Remove the following:
    1. Outer synchronizer ring
    2. Inner synchronizer ring
    3. Synchronizer cone
    4. First gear
    5. First gear needle bearing
    6. Check all components for wear or damage. Install new components as necessary
  18. Fig 9: Identifying Inner Synchronizer Ring And Synchronizer Cone
    GF0040161Courtesy of FORD MOTOR CO.
  19. Using the special tool, remove the clutch housing roller bearing.
  20. Fig 10: Removing Clutch Housing Roller Bearing
    GF0040163Courtesy of FORD MOTOR CO.
    NOTE: Mark the installed position of the selector ring.
  21. Disassemble the 1st/2nd and 5th/reverse synchronizer hub assemblies. Take care when pulling the selector ring from the synchronizer hub. The detent balls are spring-loaded. Remove the selector ring from the synchronizer hub. Remove the compression springs, the keys and the detent balls.
  22. Fig 11: Locating Selector Ring From Synchronizer Hub
    GF0040144Courtesy of FORD MOTOR CO.
  23. Inspect the synchronizer assemblies.
    • Check for worn, nicked or broken teeth. Install a new synchronizer as necessary.
    • Check keys for wear or distortion. Install a new synchronizer as necessary.
    • Check springs for distortion. Install a new synchronizer as necessary.