LEMON Manuals: Even more car manuals for everyone: 1960-2025
Home >> Ford >> 2007 >> Freestar SEL >> Repair and Diagnosis >> Body & Frame >> Seats >> Seat System >> Disassembly And Assembly >> Seat Backrest - Third Row >> Notes
April 5, 2026: LEMON Manuals is launched! Read the announcement.

Seat Backrest - Third Row: Notes

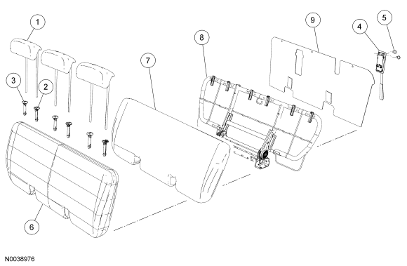
Fig 1: Exploded View Of Third Row Seat Backrest With Torque Specifications
GF0032686Courtesy of FORD MOTOR CO.
Item Part Number Description
1 611A08 Head restraint (3 required)
2 613D58 Head restraint sleeves (3 required)
3 613D58 Head restraint sleeves (3 required)
4 600A96 Backrest pull-strap assembly
5 - Screw (2 required)
6 66600 Backrest trim cover
7 66800 Backrest foam pad
8 613A38 Backrest frame
9 60508 Hardboard panel