LEMON Manuals: Even more car manuals for everyone: 1960-2025
Home >> Ford >> 2007 >> Freestar V6-4.2L VIN 2 >> Repair and Diagnosis >> Specifications >> Mechanical Specifications >> Engine >> Oil Pump, Engine
April 5, 2026: LEMON Manuals is launched! Read the announcement.

Oil Pump, Engine

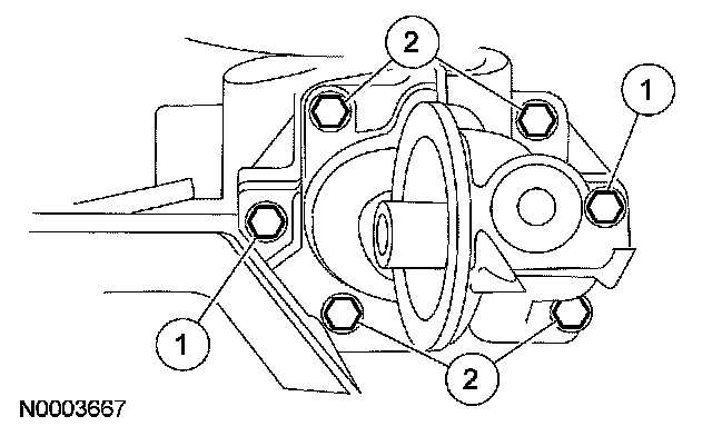
Oil Pump & Filter Housing Bolts





First pass: No. 1 Bolts 10 Nm (89 inch lbs).
Final pass: No. 2 Bolts 25 Nm (18 ft. lbs).