LEMON Manuals: Even more car manuals for everyone: 1960-2025
Home >> Ford >> 2007 >> Freestyle Limited, AWD >> Repair and Diagnosis >> Engine Mechanical >> Exhaust System >> General Procedures >> Exhaust System Alignment
April 5, 2026: LEMON Manuals is launched! Read the announcement.

Exhaust System Alignment

  1. With the vehicle in NEUTRAL, position it on a hoist. For additional information, refer to JACKING AND LIFTING article.
  2. Loosen the 4 Y-pipe nuts to the front and rear catalytic converters and the 2 nuts from the Y-pipe to the underbody catalytic converter.
  3. Replace the gasket between the Y-pipe and the underbody catalytic converter.
  4. Shake the exhaust cold end loose and let it hang freely to make sure the isolators are positioned between the 2 hanger rods.
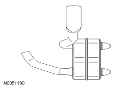
  5. Fig 1: Exhaust Isolator
    GF0017873Courtesy of FORD MOTOR CO.
  6. Tighten the 2 nuts from the Y-pipe to the underbody catalytic converter and the 4 nuts from the Y-pipe to the front and rear catalytic converters.
    • Tighten to 40 Nm (30 lb-ft).
  7. Start the engine and check the exhaust system leaks.