LEMON Manuals: Even more car manuals for everyone: 1960-2025
Home >> Ford >> 2007 >> Freestyle SEL, FWD >> Repair and Diagnosis (Single Page) >> Transmission >> Automatic Trans >> Automatic Transmission - Continuously Variable Transmission (CVT) >> Disassembly And Assembly Of Subassemblies >> Variator/Chain and Spur Gear Assembly >> Assembly
April 5, 2026: LEMON Manuals is launched! Read the announcement.

Variator/Chain and Spur Gear Assembly: Assembly

  1. Using the special tool, install the spur gear onto the variator assembly.
  2. Fig 1: Installing Spur Gear Onto Variator Assembly
    GF0017614Courtesy of FORD MOTOR CO.
  3. If removed, press the gear onto the variator assembly and install the snap ring.
  4. Fig 2: Locating Snap Ring
    GF0017612Courtesy of FORD MOTOR CO.
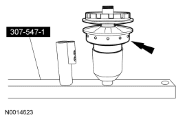
  5. Install the secondary variator assembly into the special tool.
  6. Fig 3: Locating Secondary Variator Assembly On Special Tool (307-547-1)
    GF0017610Courtesy of FORD MOTOR CO.
    CAUTION: Do not overcompress the secondary variator. Do not exceed the torque specification listed. Damage to the tool or variator will occur.
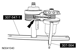
  7. Install the special tool and open up the secondary variator assembly.
    • Tighten to 7 Nm (62 lb-in).
  8. Fig 4: Identifying Special Tools (307-564, 307-547-1)
    GF0017609Courtesy of FORD MOTOR CO.
    CAUTION: Do not let the variator chain hang free without some support. Damage to the chain will occur.
    NOTE: While installing the primary variator it is acceptable to rest the chain on the primary variator portion of the special tool.
  9. Position the variator chain in place.
  10. Fig 5: Locating Variator Chain
    GF0017605Courtesy of FORD MOTOR CO.
    CAUTION: Do not let the variator chain hang free without some support. Damage to the chain will occur.
    NOTE: While installing the primary variator it is acceptable to rest the chain on the primary variator portion of the special tool.
  11. Position the primary variator on the special tool.
  12. Fig 6: Locating Primary Variator
    GF0017604Courtesy of FORD MOTOR CO.
  13. Carefully position the chain around the primary variator.
  14. Fig 7: Locating Chain & Primary Variator
    GF0017603Courtesy of FORD MOTOR CO.
  15. Once the chain is around the primary variator, lift up slightly and slide the variator over until it drops into the holding fixture.
  16. Fig 8: Lifting Primary Variator
    GF0017615Courtesy of FORD MOTOR CO.
  17. Install both chain guides.
  18. Fig 9: Locating Chain Guides And Special Tools (307-564, 307-547-1)
    GF0017602Courtesy of FORD MOTOR CO.
  19. Remove the special tool.
  20. Fig 10: Identifying Special Tool (307-564)
    GF0017601Courtesy of FORD MOTOR CO.