LEMON Manuals: Even more car manuals for everyone: 1960-2025
Home >> Ford >> 2007 >> Fusion AWD V6-3.0L VIN 1 >> Repair and Diagnosis >> Specifications >> Mechanical Specifications >> Engine >> Cylinder Head Assembly >> Torque Specifications
April 5, 2026: LEMON Manuals is launched! Read the announcement.

Torque Specifications

Exhaust gas recirculation (EGR) tube nuts 40 Nm (30 ft. lbs.)
EGR valve bolts 25 Nm (18 ft. lbs.)

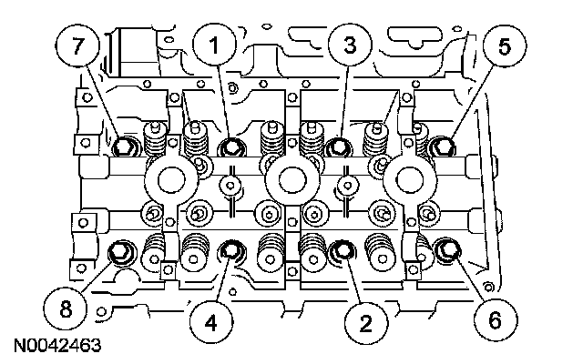
Cylinder head bolts

NOTE: New cylinder head bolts must be installed. They are torque-to-yield designed and cannot be reused.

Cylinder head bolts RH & LH
Install the 8 bolts and tighten in 6 stages in the sequence shown.
^ Stage 1: Tighten to 40 Nm (30 ft. lbs.).
^ Stage 2: Tighten 90 degrees.
^ Stage 3: Loosen one full turn.
^ Stage 4: Tighten to 40 Nm (30 ft. lbs.)
^ Stage 5: Tighten 90 degrees.
^ Stage 6: Tighten 90 degrees.

RH Tightening Sequence:




LH Tightening Sequence:





Upper Intake Manifold

NOTE: Install new gaskets.

Install the upper intake manifold, gaskets and the 8 bolts.
^ Tighten in the sequence shown to 10 Nm (89 inch lbs.)





Lower Intake Manifold

NOTE: Clean and inspect all sealing surfaces. Install new gaskets.

Position the lower intake manifold and install the 8 bolts.
^ Tighten in the sequence shown to 10 Nm (89 inch lbs.)





RH camshaft bearing caps
Install the RH camshaft bearing caps.
^ Loosely install the bolts.





NOTE: Lubricate the bearing surfaces of the camshaft bearing thrust caps with clean engine oil.

Install the RH camshaft bearing thrust caps. - Loosely install the bolts.





Tighten the RH camshaft bearing cap bolts in the sequence shown to 10 Nm (89 inch lbs.).





Lubricate the LH camshafts with clean engine oil and carefully position the camshafts into the cylinder head.
^ Align the LH camshafts as shown.

CAUTION: The camshaft caps must be installed in their original positions or damage to the engine may occur.

CAUTION: Do not install the camshaft bearing thrust caps until all of the camshaft bearing caps have been installed, or damage to the thrust caps may occur.

NOTE: Lubricate the bearing surfaces of the camshaft bearing caps with clean engine oil.

LH camshaft bearing cap bolts
Install the LH camshaft bearing caps.
^ Loosely install the bolts.





NOTE: Lubricate the bearing surfaces of the camshaft bearing thrust caps with clean engine oil.

Install the LH camshaft bearing thrust caps.
^ Loosely install the bolts.





Tighten the LH camshaft bearing cap bolts in the sequence shown to 10 Nm (89 inch lbs.)





Camshaft and Crankshaft sprockets
Align the marks on the timing chain with the marks on the camshaft and crankshaft sprockets.





Install the variable camshaft timing (VCT) assembly and the 4 bolts.
^ Tighten to 25 Nm (18 ft. lbs.).





RH exhaust manifold
Install a new gasket, the RH exhaust manifold and 6 new nuts.
^ Tighten to 20 Nm (15 ft. lbs.) in the sequence shown.





Exhaust manifold studs 12 Nm (9 ft. lbs.)