LEMON Manuals: Even more car manuals for everyone: 1960-2025
Home >> Ford >> 2007 >> Ranger 2D Pickup, 2.3 D, Standard >> Repair and Diagnosis >> Engine Performance >> Remove, Overhaul & Install >> Electronic Engine Control System >> Removal And Installation >> Clutch Pedal Position (CPP) Switch >> Notes
April 5, 2026: LEMON Manuals is launched! Read the announcement.

Clutch Pedal Position (CPP) Switch: Notes

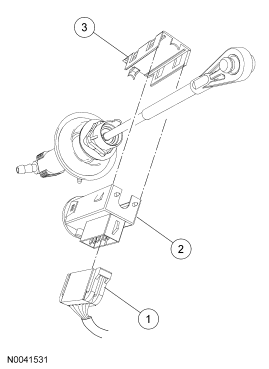
Fig 1: Exploded View Of Clutch Pedal Position (CPP) Switch
GF0009634Courtesy of FORD MOTOR CO.
Item Part Number Description
1 - Clutch pedal position (CPP) switch electrical connector
2 7C534 CPP switch
3 - CPP switch cover (part of 7C534)