LEMON Manuals: Even more car manuals for everyone: 1960-2025
Home >> Ford >> 2007 >> Taurus SE >> Repair and Diagnosis >> External Pages >> Different car >> Section 267 (HVAC Control System - General Information) >> Diagnosis And Testing >> Climate Control System >> Pinpoint Tests >> Pinpoint Test L: No Operation In All Temperature Settings-Manual Climate Control
April 5, 2026: LEMON Manuals is launched! Read the announcement.

Pinpoint Test L: No Operation In All Temperature Settings-Manual Climate Control

WARNING: This page is about a different car, the 2005 Mercury Sable and 2005 Ford Taurus. However, it is still accessible from the selected car via links, so may be relevant.
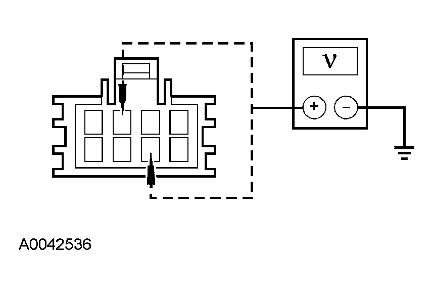
  1. L1 CHECK THE VOLTAGE TO THE TEMPERATURE BLEND DOOR ACTUATOR MOTOR 
    • Key in OFF position.
    • Disconnect: Temperature Blend Door Actuator Motor C289.
    • Key in ON position.
    • Measure the voltage between the temperature blend door actuator C289 pin 7, circuit 1087 (OG) and ground.
      Fig 1: Measuring Voltage Between Temperature Blend Door Actuator C289 Pin 7, Circuit 1087 (OG) And Ground
      G03915756Courtesy of FORD MOTOR CO.
    • Is the voltage greater than 10 volts? 
    • Yes  : GO to  L2.
    • No  : REPAIR circuit 1087 (OG). TEST the system for normal operation.
  2. L2 CHECK THE GROUND TO THE BLEND DOOR ACTUATOR 
    • Key in OFF position.
    • Measure the resistance between the blend door actuator C289 pin 8, circuit 57 (BK) and ground.
      Fig 2: Measuring Resistance Between Blend Door Actuator C289 Pin 8, Circuit 57 (BK) And Ground
      G03915757Courtesy of FORD MOTOR CO.
    • Is the resistance less than 5 ohms? 
    • Yes  : GO to  L3.
    • No  : REPAIR circuit 57 (BK). TEST the system for normal operation.
  3. L3 CHECK THE TEMPERATURE CONTROL POTENTIOMETER TOTAL RESISTANCE 
    • Measure the resistance between temperature blend door actuator C289 pin 6, circuit 436 (RD/LG) and pin 4, circuit 438 (RD/WH).
      Fig 3: Measuring Resistance Between Temperature Blend Door Actuator C289 Pin 6, Circuit 436 (RD/LG) And Pin 4, Circuit 438 (RD/WH)
      G03957831Courtesy of FORD MOTOR CO.
    • Is the resistance between 4,500 and 5,500 ohms? 
    • Yes  : GO to  L6.
    • No  : If the resistance is less than 4,500 ohms, GO to  L4.
    • If the resistance is greater than 5,500 ohms, GO to  L5.
  4. L4 CHECK CIRCUITS 436 (RD/LG) AND 438 (RD/WH) FOR A SHORT TOGETHER 
    • Disconnect: Temperature Control Potentiometer C294c.
    • Measure the resistance between temperature blend door actuator C289 pin 6, circuit 436 (RD/LG) and pin 4, circuit 438 (RD/WH).
      Fig 4: Measuring Resistance Between Temperature Blend Door Actuator C289 Pin 6, Circuit 436 (RD/LG) And Pin 4, Circuit 438 (RD/WH)
      G03957831Courtesy of FORD MOTOR CO.
    • Is the resistance less than 5 ohms? 
    • Yes  : REPAIR circuits 436 (RD/LG) and 438 (RD/WH) for a short together. TEST the system for normal operation.
    • No  : INSTALL a new temperature control potentiometer. REFER to CONTROL COMPONENTS . TEST the system for normal operation.
  5. L5 CHECK CIRCUITS 436 (RD/LG) AND 438 (RD/WH) FOR AN OPEN 
    • Disconnect: Temperature Control Potentiometer C294c.
    • Measure the resistance between temperature blend door actuator C289 pin 6, circuit 436 (RD/LG) and temperature control potentiometer C294c pin 1, circuit 436 (RD/LG), and between temperature blend door actuator C289 pin 4, circuit 438 (RD/WH) and temperature control potentiometer C294c pin 3, circuit 438 (RD/WH).
      Fig 5: Checking Circuits 436 (RD/LG) And 438 (RD/WH) For Open
      G03957833Courtesy of FORD MOTOR CO.
    • Are the resistances less than 5 ohms? 
    • Yes  : INSTALL a new temperature control potentiometer. REFER to CONTROL COMPONENTS . TEST the system for normal operation.
    • No  : REPAIR the affected circuit. TEST the system for normal operation.
  6. L6 CHECK THE TEMPERATURE CONTROL POTENTIOMETER OPERATION 
    • Measure the resistance between temperature blend door actuator C289 pin 6, circuit 436 (RD/LG) and pin 3, circuit 437 (YE/LG) while rotating the temperature control potentiometer from full WARM to full COOL.
      Fig 6: Measuring Resistance Between Temperature Blend Door Actuator C289 Pin 6, Circuit 436 (RD/LG) And Pin 3, Circuit 437 (YE/LG) While Rotating Temperature Control Potentiometer
      G03879179Courtesy of FORD MOTOR CO.
    • Does the resistance vary between 150 and 4,800 ohms? 
    • Yes  : GO to  L9.
    • No  : GO to  L7.
  7. L7 CHECK CIRCUIT 437 (YE/LG) FOR AN OPEN 
    • Disconnect: Temperature Control Potentiometer C294c.
    • Measure the resistances between actuator C289 pin 3, circuit 437 (YE/LG) and temperature control potentiometer C294c pin 2, circuit 437 (YE/LG).
      Fig 7: Measuring Resistances Between Actuator C289 Pin 3, Circuit 437 (YE/LG) And Temperature Control Potentiometer C294C Pin 2, Circuit 437 (YE/LG)
      G03879180Courtesy of FORD MOTOR CO.
    • Is the resistance less than 5 ohms? 
    • Yes  : GO to  L8.
    • No  : REPAIR circuit 437 (YE/LG) for an open. TEST the system for normal operation.
  8. L8 CHECK CIRCUITS 436 (RD/LG) AND 437 (YE/LG) FOR A SHORT TOGETHER 
    • Measure the resistance between temperature blend door actuator C289 pin 6, circuit 436 (RD/LG) and pin 3, circuit 437 (YE/LG).
      Fig 8: Measuring Resistance Between Temperature Blend Door Actuator C289 Pin 6, Circuit 436 (RD/LG) And Pin 3, Circuit 437 (YE/LG)
      G03879179Courtesy of FORD MOTOR CO.
    • Is the resistance less than 5 ohms? 
    • Yes  : REPAIR circuits 436 (RD/LG) and 437 (YE/LG) for a short together. TEST the system for normal operation.
    • No  : INSTALL a new temperature control potentiometer. REFER to CONTROL COMPONENTS . TEST the system for normal operation.
  9. L9 CHECK CIRCUITS 436 (RD/LG) AND 437 (YE/LG) FOR A SHORT TO GROUND 
    • Disconnect: Temperature Control Potentiometer C294c.
    • Measure the resistances between temperature blend door actuator C289 pin 6, circuit 436 (RD/LG) and ground, and between temperature blend door actuator C289 pin 3, circuit 437 (YE/LG) and ground.
      Fig 9: Measuring Resistances Between Temperature Blend Door Actuator C289 Pin 6, Circuit 436 (RD/LG) And Ground, And Between Temperature Blend Door Actuator C289 Pin 3, Circuit 437 (YE/LG) And Ground
      G03957837Courtesy of FORD MOTOR CO.
    • Are the resistances less than 5 ohms? 
    • Yes  : REPAIR the affected circuit for a short to ground. TEST the system for normal operation.
    • No  : GO to  L10.
  10. L10 CHECK CIRCUITS 437 (YE/LG) AND 438 (RD/WH) FOR A SHORT TO GROUND 
    • Disconnect: Temperature Control Potentiometer C294c.
    • Key in ON position.
    • Measure the voltages between temperature blend door actuator C289 pin 4, circuit 438 (RD/WH) and ground, and between temperature blend door actuator C289 pin 3, circuit 437 (YE/LG) and ground.
      Fig 10: Measuring Voltages Between Temperature Blend Door Actuator C289 Pin 4, Circuit 438 (RD/WH) And Ground, And Between Temperature Blend Door Actuator C289 Pin 3, Circuit 437 (YE/LG) And Ground
      G03957838Courtesy of FORD MOTOR CO.
    • Is voltage present? 
    • Yes  : REPAIR the affected circuit for a short to power. TEST the system for normal operation.
    • No  : GO to  L11
  11. L11 CHECK FOR A BINDING, STUCK OR BROKEN BLEND DOOR 
    • Key in OFF position.
    • Remove the actuator. Refer to CONTROL COMPONENTS .
    • Inspect for a binding, stuck or broken blend door or linkage.
    • Is there a binding, stuck or broken blend door or linkage condition? 
    • Yes  : REPAIR the blend door/linkage. REFER to CONTROL COMPONENTS . TEST the system for normal operation.
    • No  : INSTALL a new temperature blend door actuator. REFER to CONTROL COMPONENTS . TEST the system for normal operation.