LEMON Manuals: Even more car manuals for everyone: 1960-2025
Home >> Ford >> 2007 >> Taurus SEL >> Repair and Diagnosis >> Steering >> Steering Column >> Removal And Installation >> Steering Column Coupling >> Notes
April 5, 2026: LEMON Manuals is launched! Read the announcement.

Steering Column Coupling: Notes

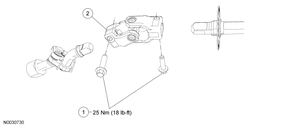
Fig 1: Exploded View Of Steering Column Coupling With Torque Specifications
GF0020650Courtesy of FORD MOTOR CO.
Item Part Number Description
1 N808349 Pinch bolts
2 3N725 Column coupling