LEMON Manuals: Even more car manuals for everyone: 1960-2025
Home >> Ford >> 2008 >> E 250 V8-4.6L >> Repair and Diagnosis >> Engine, Cooling and Exhaust >> Engine >> Service and Repair >> Procedures >> Valve Spring
April 5, 2026: LEMON Manuals is launched! Read the announcement.

Valve Spring

Valve Spring Installed Length
1. Measure the installed length of each valve spring.





Valve Spring Free Length
1. Measure the free length of each valve spring.





Valve Spring Squareness
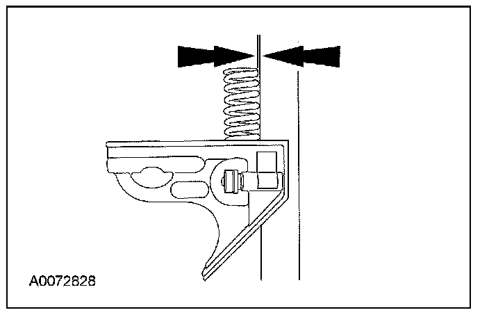
1. Measure the out-of-square on each valve spring.
^ Turn the valve spring and observe the space between the top of the valve spring and the square.





Valve Spring Strength





1. Use the special tool to check the valve spring for correct strength at the specified valve spring length.