LEMON Manuals: Even more car manuals for everyone: 1960-2025
Home >> Ford >> 2008 >> Explorer 4.0 E, AWD >> Repair and Diagnosis >> Body & Frame >> Windows And Glass >> Removal And Installation >> Windshield Glass >> Notes
April 5, 2026: LEMON Manuals is launched! Read the announcement.

Windshield Glass: Notes

Special Tools

Illustration Tool Name Tool Number
GF0000080Courtesy of FORD MOTOR CO.
Interior Auto Glass Cut-Out Knife Kit (Electric) 164-R2450 or equivalent
GF0008613Courtesy of FORD MOTOR CO.
Pneumatic Knife with Offset Blade 107-R1511 or equivalent
GF0001989Courtesy of FORD MOTOR CO.
The Pumper 164-R2459 or equivalent
Material

Item Specification
DOW AUTOMOTIVE 2-HOUR CURE
 
 
Dow Urethane Adhesive Betaseal® Express
 
-
Dow Urethane One Step Glass Primer Betaprime® 5500/5500A/5500SA
 
-
SIKA 2-HOUR CURE
 
 
Sika Urethane Adhesive Sika Tack ASAP
 
-
Sika Urethane Metal and Glass Primer Sika 206 G+P
 
-
Ultra-Clear Spray Glass Cleaner
ZC-23
ESR-M14P5-A
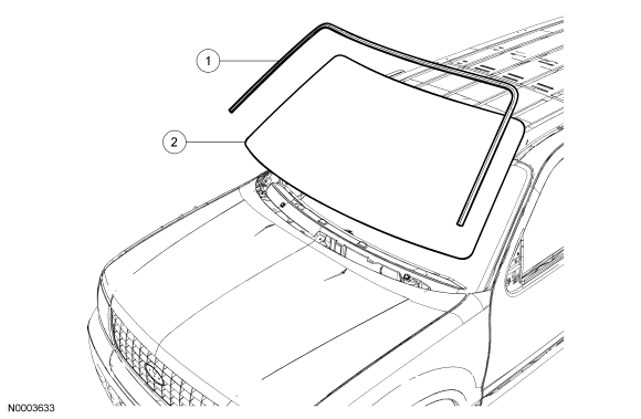
Fig 1: Exploded View Of Windshield Glass
GF0026457Courtesy of FORD MOTOR CO.
Item Part Number Description
1 03682 Windshield glass moulding
2 03100 Windshield glass