LEMON Manuals: Even more car manuals for everyone: 1960-2025
Home >> Ford >> 2008 >> Fusion S, Standard >> Repair and Diagnosis >> Transmission >> Manual Trans >> Manual Transaxle >> Disassembly And Assembly Of Subassemblies >> Differential >> Disassembly
April 5, 2026: LEMON Manuals is launched! Read the announcement.

Disassembly And Assembly Of Subassemblies: Differential: Disassembly

  1. Inspect the differential for wear or damage.
    • Inspect for damaged or worn gears.
    • Inspect for worn or damaged differential bearings.
    • Install new components as necessary.
  2. Remove the differential side gears and thrust washers.
    • Rotate the differential side gears to remove.
  3. Fig 1: Locating Differential Side Gears
    GF0030032Courtesy of FORD MOTOR CO.
  4. Using the special tools, remove the differential bearing.
    • Always install new bearings and cups as a set. Do not install one without the other.
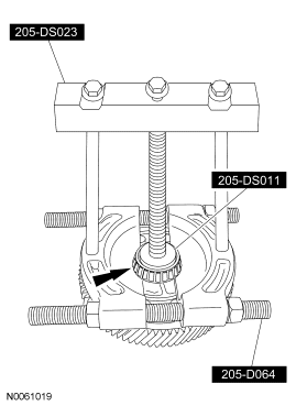
  5. Fig 2: Locating Special Tools (205-D064, 205-DS011, 205-DS023) And Differential Bearing
    GF0030033Courtesy of FORD MOTOR CO.
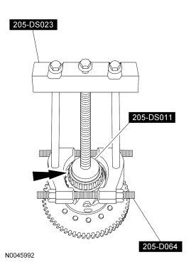
  6. Remove the speedometer drive gear.
  7. Fig 3: Locating Special Tools (205-D064, 205-DS011, 205-DS023) And Speedometer Drive Gear
    GF0030034Courtesy of FORD MOTOR CO.
  8. Rotate the differential assembly with the speedometer drive gear side facing downward. Remove the other differential bearing.
    • Always install new bearings and cups as a set. Do not install one without the other.
  9. Fig 4: Locating Special Tools (205-D064, 205-DS011, 205-DS023) And Differential Bearing
    GF0030035Courtesy of FORD MOTOR CO.
  10. Remove and discard the differential pinion shaft lock pin.
  11. Fig 5: Locating Differential Pinion Shaft Lock Pin
    GF0030036Courtesy of FORD MOTOR CO.
  12. Remove the differential pinion shaft, the differential pinon gears and the thrust washers.